TOP
|
特許
|
意匠
|
商標
特許ウォッチ
Twitter
他の特許を見る
10個以上の画像は省略されています。
公開番号
2025135975
公報種別
公開特許公報(A)
公開日
2025-09-19
出願番号
2024034088
出願日
2024-03-06
発明の名称
携帯情報端末および画像処理結果登録方法
出願人
株式会社キーエンス
代理人
個人
,
個人
主分類
G06K
7/10 20060101AFI20250911BHJP(計算;計数)
要約
【課題】携帯情報端末のカメラを用いた画像処理の結果のユーザアプリケーションへの登録要否をユーザが簡単に確認可能とする携帯情報端末及び画像処理結果登録方法を提供する。
【解決手段】携帯情報端末において、ユーザアプリケーション87は、サービス部88から受け取ったデコード処理の結果である読取データDcに基づいて、読取データDcのユーザアプリケーション87への登録要否を判定して、登録要否の判定結果をサービス部88に送信する。そして、サービス部88は、ユーザアプリケーション87から受信した判定結果を示すマークをコード画像に重ねて示すイメージビューウィンドウをディスプレイ20に表示させる。
【選択図】図2C
特許請求の範囲
【請求項1】
ワークを撮像して撮像画像を生成するカメラと、
前記撮像画像に基づいて画像処理を実行する画像処理部と、
少なくとも1つ以上の入力項目を有し、当該入力項目に前記画像処理の結果を反映させるユーザアプリケーションに対して前記画像処理の結果を送信するとともに、前記ユーザアプリケーションからの応答を受信するサービス部と、
前記撮像画像を示すイメージビューウィンドウを表示する表示部と、
を備え、
前記ユーザアプリケーションは、前記サービス部から受け取った前記画像処理の結果に基づいて、当該画像処理の結果の当該ユーザアプリケーションへの登録要否を判定して、前記登録要否の判定結果を前記サービス部に送信し、
前記サービス部は、前記ユーザアプリケーションから受信した前記判定結果を示す情報を前記撮像画像に重ねて示す前記イメージビューウィンドウを前記表示部に表示させる携帯情報端末。
続きを表示(約 1,500 文字)
【請求項2】
前記ユーザアプリケーションは、当該ユーザアプリケーションへの登録が必要な前記画像処理の結果に関する少なくとも1つの条件を有し、当該条件に基づいて前記登録要否を判定する請求項1に記載の携帯情報端末。
【請求項3】
前記条件は、前記画像処理の対象の種類、前記画像処理の対象に含まれる文字列、前記画像処理の対象に含まれる数値および前記画像処理の対象の位置のいずれかに関する条件を含む請求項2に記載の携帯情報端末。
【請求項4】
前記サービス部は、前記ユーザアプリケーションから受信した前記判定結果に基づいて、前記イメージビューウィンドウに表示中の前記撮像画像に含まれる前記画像処理の対象のうち、当該ユーザアプリケーションへの登録が必要な対象が特定された前記イメージビューウィンドウを前記表示部に表示させる請求項1に記載の携帯情報端末。
【請求項5】
前記サービス部は、前記画像処理の対象のうち、登録が必要な対象と、登録済みのため登録が不要な対象と、未登録だが登録が不要な対象とを区別した前記イメージビューウィンドウを前記表示部に表示させる請求項4に記載の携帯情報端末。
【請求項6】
前記サービス部は、前記登録が必要な対象が特定された前記イメージビューウィンドウが前記表示部に表示された状態でユーザによる登録操作を受け付けると、前記登録が必要な対象に関する画像処理の結果を前記ユーザアプリケーションに登録する請求項4または5に記載の携帯情報端末。
【請求項7】
前記サービス部は、
前記登録操作で送信されるデータを結合するフォーマットを取得し、
前記フォーマットに基づいて、前記イメージビューウィンドウに含まれる複数の対象の前記画像処理の結果を結合して前記ユーザアプリケーションに送信する請求項6に記載の携帯情報端末。
【請求項8】
前記サービス部は、
前記ユーザアプリケーションに登録された前記画像処理の結果を外部ホストに送信するタイミングに関する判定条件を取得し、
前記判定条件が満たされると、前記登録された前記画像処理の結果を前記ユーザアプリケーションから外部ホストに送信するための指示を、前記ユーザアプリケーションに送信する請求項6に記載の携帯情報端末。
【請求項9】
前記サービス部は、前記ユーザアプリケーションからの前記応答に基づいて、前記画像処理の結果の登録進捗状況を認識し、当該登録進捗状況を前記表示部に表示させる請求項6に記載の携帯情報端末。
【請求項10】
カメラがワークを撮像して撮像画像を生成する工程と、
前記撮像画像に基づいて画像処理を実行する工程と、
少なくとも1つ以上の入力項目を有し、当該入力項目に前記画像処理の結果を反映させるユーザアプリケーションに対してサービス部が前記画像処理の結果を送信するとともに、前記サービス部が前記ユーザアプリケーションからの応答を受信する工程と、
前記撮像画像を示すイメージビューウィンドウを表示部に表示する工程と、
を備え、
前記ユーザアプリケーションは、前記サービス部から受け取った前記画像処理の結果に基づいて、当該画像処理の結果の当該ユーザアプリケーションへの登録要否を判定して、前記登録要否の判定結果を前記サービス部に送信し、
前記サービス部は、前記ユーザアプリケーションから受信した前記判定結果を示す情報を前記撮像画像に重ねて示す前記イメージビューウィンドウを前記表示部に表示させる画像処理結果登録方法。
発明の詳細な説明
【技術分野】
【0001】
この発明は、ワークに付されたコードを読み取る技術に関する。
続きを表示(約 1,900 文字)
【背景技術】
【0002】
特許文献1には、バーコードやQRコード(登録商標)といったコードを読み取る情報読取装置が開示されている。この情報読取装置は、筐体の上端に設けられたカメラ部によって画像を取得して、画像に含まれるコードを復号することで、コードを読み取る。
【先行技術文献】
【特許文献】
【0003】
特開2022-144178号公報
【発明の概要】
【発明が解決しようとする課題】
【0004】
また、スマートフォンに代表されるような携帯情報端末によって上記のようなコードの読み取りや、OCR(Optical Character Recognition/Reader)といった画像処理を簡便に行いたいというニーズがある。これに対して、携帯情報端末に搭載されるカメラを画像処理対象の撮像に使用することで、かかるニーズに応え得る。
【0005】
ところで、このような画像処理は、画像処理の結果を所定のユーザアプリケーションに順次登録して利用するといった運用がなされる。従来は、ユーザアプリケーションに登録する画像処理結果をユーザが選択していたため、ユーザの選択に手間を要していた。特に、ユーザアプリケーションへの登録の要否がユーザにおいて判断ができず、このような選択がユーザにとって困難となる場合があった。
【0006】
この発明は上記課題に鑑みなされたものであり、携帯情報端末のカメラを用いた画像処理の結果のユーザアプリケーションへの登録要否をユーザが簡単に確認可能とする技術の提供を目的とする。
【課題を解決するための手段】
【0007】
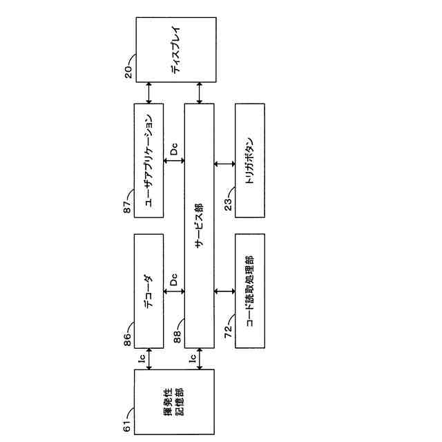
本発明に係る携帯情報端末は、ワークを撮像して撮像画像を生成するカメラと、撮像画像に基づいて画像処理を実行する画像処理部と、少なくとも1つ以上の入力項目を有し、当該入力項目に画像処理の結果を反映させるユーザアプリケーションに対して画像処理の結果を送信するとともに、ユーザアプリケーションからの応答を受信するサービス部と、撮像画像を示すイメージビューウィンドウを表示する表示部と、を備え、ユーザアプリケーションは、サービス部から受け取った画像処理の結果に基づいて、当該画像処理の結果の当該ユーザアプリケーションへの登録要否を判定して、登録要否の判定結果をサービス部に送信し、サービス部は、ユーザアプリケーションから受信した判定結果を示す情報を撮像画像に重ねて示すイメージビューウィンドウを表示部に表示させる。
【0008】
本発明に係る画像処理結果登録方法は、カメラがワークを撮像して撮像画像を生成する工程と、撮像画像に基づいて画像処理を実行する工程と、少なくとも1つ以上の入力項目を有し、当該入力項目に画像処理の結果を反映させるユーザアプリケーションに対してサービス部が画像処理の結果を送信するとともに、サービス部がユーザアプリケーションからの応答を受信する工程と、撮像画像を示すイメージビューウィンドウを表示部に表示する工程と、を備え、ユーザアプリケーションは、サービス部から受け取った画像処理の結果に基づいて、当該画像処理の結果の当該ユーザアプリケーションへの登録要否を判定して、登録要否の判定結果をサービス部に送信し、サービス部は、ユーザアプリケーションから受信した判定結果を示す情報を撮像画像に重ねて示すイメージビューウィンドウを表示部に表示させる。
【0009】
このように構成された本発明(携帯情報端末および画像処理結果登録方法)は、ユーザアプリケーションは、サービス部から受け取った画像処理の結果に基づいて、当該画像処理の結果の当該ユーザアプリケーションへの登録要否を判定して、登録要否の判定結果をサービス部に送信する。そして、サービス部は、ユーザアプリケーションから受信した判定結果を示す情報を撮像画像に重ねて示すイメージビューウィンドウを表示部に表示させる。したがって、ユーザは、イメージビューウィンドウに表示された判定結果を示す情報に基づき、画像処理結果の登録の要否を簡単に確認できる。こうして、携帯情報端末のカメラを用いた画像処理の結果のユーザアプリケーションへの登録要否をユーザが簡単に確認することが可能となっている。
【発明の効果】
【0010】
以上のように、本発明によれば、携帯情報端末のカメラを用いた画像処理の結果のユーザアプリケーションへの登録要否をユーザが簡単に確認することが可能となっている。
【図面の簡単な説明】
(【0011】以降は省略されています)
この特許をJ-PlatPat(特許庁公式サイト)で参照する
関連特許
株式会社キーエンス
観察装置
28日前
株式会社キーエンス
画像検査装置
5日前
株式会社キーエンス
画像検査装置
5日前
株式会社キーエンス
画像検査装置
5日前
株式会社キーエンス
画像検査装置
5日前
株式会社キーエンス
画像検査装置
6日前
株式会社キーエンス
携帯情報端末
18日前
株式会社キーエンス
受発注システム
5日前
株式会社キーエンス
受発注システム
5日前
株式会社キーエンス
受発注システム
5日前
株式会社キーエンス
製品受発注システム
5日前
株式会社キーエンス
画像センサ及び画像検査システム
5日前
株式会社キーエンス
通信ユニット及び画像検査システム
5日前
株式会社キーエンス
携帯情報端末および撮像画像管理方法
18日前
株式会社キーエンス
携帯情報端末および画像処理結果登録方法
18日前
株式会社キーエンス
携帯情報端末および携帯情報端末制御方法
18日前
株式会社キーエンス
コード生成支援装置およびコード生成支援プログラム
1か月前
株式会社キーエンス
コード生成支援装置およびコード生成支援プログラム
1か月前
株式会社キーエンス
分析装置
4日前
個人
裁判のAI化
2か月前
個人
地球保全システム
6日前
個人
工程設計支援装置
1か月前
個人
情報処理システム
2か月前
個人
フラワーコートA
2か月前
個人
介護情報提供システム
2か月前
個人
冷凍食品輸出支援構造
1か月前
個人
為替ポイント伊達夢貯
1か月前
個人
設計支援システム
2か月前
個人
表変換編集支援システム
26日前
個人
携帯情報端末装置
1か月前
個人
設計支援システム
2か月前
個人
知財出願支援AIシステム
1か月前
株式会社サタケ
籾摺・調製設備
3か月前
個人
結婚相手紹介支援システム
1か月前
個人
AIによる情報の売買の仲介
1か月前
個人
パスワード管理支援システム
26日前
続きを見る
他の特許を見る