TOP
|
特許
|
意匠
|
商標
特許ウォッチ
Twitter
他の特許を見る
10個以上の画像は省略されています。
公開番号
2025128926
公報種別
公開特許公報(A)
公開日
2025-09-03
出願番号
2024025944
出願日
2024-02-22
発明の名称
コード生成支援装置およびコード生成支援プログラム
出願人
株式会社キーエンス
代理人
個人
,
個人
主分類
G01B
21/20 20060101AFI20250827BHJP(測定;試験)
要約
【課題】測定対象物について所望の測定を実施するための測定ヘッドから得られる形状データに対する測定設定作業を容易かつ適切に行うことを可能にするコード生成支援装置およびコード生成支援プログラムを提供する。
【解決手段】三次元形状を表す形状データが取り込まれる。ワークWの画像を含む測定画面が表示装置13に表示される。測定画面上で、幾何要素の指定および測定項目の指定が指定情報として受け付けられる。受け付けられた指定情報を示す指標が測定画面上に表示される。また、受け付けられた指定情報に基づいて、ワークWにおける測定項目の値が算出される。コード生成支援装置には、測定項目の値の算出に用いられる複数の処理プログラムが保持される。測定項目の値の算出とともに、テキストコードが生成される。テキストコードは、当該算出に必要な処理プログラムを呼び出すための情報と、当該算出に必要な指定情報とが含まれる。
【選択図】図1
特許請求の範囲
【請求項1】
測定対象物の三次元形状を表す形状データを取り込む取込部と、
前記取込部により取り込まれた形状データに基づいて前記測定対象物の画像を含む測定画面を生成し、表示部に表示させる画面生成部と、
前記表示部に表示された前記測定画面上で、1または複数の幾何要素の指定および前記1または複数の幾何要素に関する1または複数の測定項目の指定を指定情報として受け付ける受付部と、
前記受付部による指定の受け付けに応答して、受け付けられた前記指定情報を示す指標を前記表示部に表示された前記測定画面上に表示させる指標表示部と、
前記受付部により受け付けられた前記指定情報に基づいて、前記測定対象物における前記1または複数の測定項目の値を算出するための測定設定データを生成する測定設定生成部と、
前記取込部により取り込まれた前記形状データと前記測定設定生成部により生成された前記測定設定データとに基づいて、前記測定対象物における前記1または複数の測定項目の値を算出する実行部と、
予め定められた複数種類の幾何要素をそれぞれ特定するための複数の処理および予め定められた複数種類の測定項目の値をそれぞれ算出するための複数の処理にそれぞれ対応する複数の処理プログラムから、指定された前記1または複数の幾何要素を特定するための処理および指定された前記1または複数の測定項目の値を算出するための処理にそれぞれ対応する複数の処理プログラムを選択し、選択された前記複数の処理プログラムを示す複数の処理プログラム情報と前記受付部により受け付けられた前記指定情報とを含むテキストコードを生成するコード生成部とを備える、コード生成支援装置。
続きを表示(約 1,700 文字)
【請求項2】
前記複数の処理プログラムを含む1または複数のライブラリを保持するライブラリ保持部をさらに備え、
前記複数の処理プログラム情報の各々は、前記ライブラリ保持部に保持された前記1または複数のライブラリから当該処理プログラムを呼び出すための情報である、請求項1記載のコード生成支援装置。
【請求項3】
前記コード生成部により生成された前記テキストコードと、前記テキストコードに含まれる前記複数の処理プログラム情報が示す複数の処理プログラムとを対応付けて出力する出力部をさらに備える、請求項1または2記載のコード生成支援装置。
【請求項4】
前記画面生成部は、前記出力部による前記テキストコードおよび前記複数の処理プログラムの出力時に、出力される前記テキストコードおよび前記複数の処理プログラムの使用方法を示す文字列を前記表示部に表示させる、請求項3記載のコード生成支援装置。
【請求項5】
前記受付部による前記指定情報の受け付け時に前記測定画面上に表示されるべき前記測定対象物の画像に対応する形状データを基準形状データとして保持する基準データ保持部をさらに備え、
前記出力部は、前記テキストコードおよび前記複数の処理プログラムに、前記テキストコードを生成するために用いられた基準形状データを対応付けて出力する、請求項3記載のコード生成支援装置。
【請求項6】
前記受付部は、前記基準形状データに基づいて形状データの位置情報を補正するための補正方法の指定を補正情報として受け付けることが可能であり、
前記コード生成部は、前記受付部により前記補正情報が受け付けられた場合に、予め定められた複数種類の補正方法をそれぞれ実行するための複数の処理にそれぞれ対応する複数の処理プログラムから、指定された補正方法を実行するための処理に対応する処理プログラムを選択し、選択された処理プログラムを示す処理プログラム情報と前記受付部により受け付けられた前記補正情報とを含むテキストコードを生成する、請求項5記載のコード生成支援装置。
【請求項7】
前記複数種類の幾何要素をそれぞれ特定するための複数の処理、前記複数種類の測定項目の値をそれぞれ算出するための複数の処理および前記複数種類の補正方法をそれぞれ実行するための複数の処理にそれぞれ対応する複数の処理プログラムには、予め優先順位が定められ、
前記コード生成部は、複数の処理プログラム情報の順が予め定められた優先順位に従って並ぶようにテキストコードを生成する、請求項6記載のコード生成支援装置。
【請求項8】
前記受付部は、前記取込部による前記形状データの取込条件の指定をデータ取込情報として受け付けることが可能であり、
前記コード生成部は、前記受付部により前記データ取込情報が受け付けられた場合に、受け付けられた前記データ取込情報をさらに含むように前記テキストコードを生成する、請求項1または2記載のコード生成支援装置。
【請求項9】
前記受付部は、前記1または複数の幾何要素の各々の指定として当該幾何要素の形状の種類を特定するための指定および当該幾何要素の位置を特定するための指定を受け付けることが可能でありかつ前記1または複数の測定項目の指定として当該測定項目の種類を特定するための指定を受け付けることが可能である、請求項1または2記載のコード生成支援装置。
【請求項10】
前記受付部は、前記1または複数の幾何要素の指定および前記1または複数の測定項目の指定の受け付け時に、各指定に関する文字列を受け付けることが可能に構成され、
前記コード生成部は、一の指定の受け付けとともに当該一の指定に関する文字列が受け付けられた場合に、受け付けられた文字列を前記一の指定内容を示す情報としてテキストコードに含める、請求項1または2記載のコード生成支援装置。
(【請求項11】以降は省略されています)
発明の詳細な説明
【技術分野】
【0001】
本発明は、測定対象物の形状を測定する測定ヘッドから得られる形状データを測定処理するためのコードの生成を支援するコード生成支援装置およびコード生成支援プログラムに関する。
続きを表示(約 4,500 文字)
【背景技術】
【0002】
測定対象物(以下、ワークと呼ぶ。)の形状を測定するために、光学式の測定装置が用いられる。例えば、特許文献1には、ワークの形状を測定可能な測定装置の一例として、光学式変位計測システムが記載されている。その光学式変位計測システムにおいては、測定ヘッドから一方向に延びる帯状の光が出射される。光の照射領域をワークが通過する際に、ワークから測定ヘッドに反射される光に基づいて複数のプロファイルデータが取得される。複数のプロファイルデータ(断面形状データ)が、ワークの移動方向に対応する方向に配列されることにより、ワークの三次元形状を示す三次元データ(形状データ)が生成される。
【先行技術文献】
【特許文献】
【0003】
特開2022-138028号公報
【発明の概要】
【発明が解決しようとする課題】
【0004】
上記の測定装置によれば、例えばベルトコンベアにより一定速度で移動する複数のワークの三次元形状を順次測定することができる。さらに、三次元形状の測定結果に基づいて、ワークの形状に異常がないかどうかの検査を行うことができる。
【0005】
測定装置を用いたワークの測定および検査に関しては、形状データを適切に処理することで、所望の測定を自動で行うことが可能になる。形状データを適切に処理するために、測定装置に対応した専用のアプリケーションソフトウェアを用いることが好ましい。しかしながら、異なる種類の複数の測定装置および画像処理装置等を組み合わせて用いる場合には、専用のアプリケーションソフトウェアを用いることができない可能性がある。そこで、使用者は、例えば組み合わせに係る各装置について独自のプログラムを作成する。しかしながら、使用者が、三次元形状を表す形状データについて、測定内容ごとに適切な処理プログラムを作成することは容易ではない。そのため、測定装置を用いた所望の測定を自動化させようとしても、その設定作業は高い困難性を伴う。
【0006】
本発明の目的は、測定対象物について所望の測定を実施するための測定ヘッドから得られる形状データに対する測定設定作業を容易かつ適切に行うことを可能にするコード生成支援装置およびコード生成支援プログラムを提供することである。
【課題を解決するための手段】
【0007】
本発明の一局面に従うコード生成支援装置は、測定対象物の三次元形状を表す形状データを取り込む取込部と、前記取込部により取り込まれた形状データに基づいて前記測定対象物の画像を含む測定画面を生成し、表示部に表示させる画面生成部と、前記表示部に表示された前記測定画面上で、1または複数の幾何要素の指定および前記1または複数の幾何要素に関する1または複数の測定項目の指定を指定情報として受け付ける受付部と、前記受付部による指定の受け付けに応答して、受け付けられた前記指定情報を示す指標を前記表示部に表示された前記測定画面上に表示させる指標表示部と、前記受付部により受け付けられた前記指定情報に基づいて、前記測定対象物における前記1または複数の測定項目の値を算出するための測定設定データを生成する測定設定生成部と、前記取込部により取り込まれた前記形状データと前記測定設定生成部により生成された前記測定設定データとに基づいて、前記測定対象物における前記1または複数の測定項目の値を算出する実行部と、予め定められた複数種類の幾何要素をそれぞれ特定するための複数の処理および予め定められた複数種類の測定項目の値をそれぞれ算出するための複数の処理にそれぞれ対応する複数の処理プログラムから、指定された前記1または複数の幾何要素を特定するための処理および指定された前記1または複数の測定項目の値を算出するための処理にそれぞれ対応する複数の処理プログラムを選択し、選択された前記複数の処理プログラムを示す複数の処理プログラム情報と前記受付部により受け付けられた前記指定情報とを含むテキストコードを生成するコード生成部とを備える。
【0008】
本発明の他の局面に従うコード生成支援プログラムは、処理装置により実行可能なコード生成支援プログラムであって、測定対象物の三次元形状を表す形状データを取り込む処理と、前記取り込む処理により取り込まれた形状データに基づいて前記測定対象物の画像を含む測定画面を生成し、表示部に表示させる処理と、前記表示部に表示された前記測定画面上で、1または複数の幾何要素の指定および前記1または複数の幾何要素に関する1または複数の測定項目の指定を指定情報として受け付ける処理と、前記受け付ける処理による指定の受け付けに応答して、受け付けられた前記指定情報を示す指標を前記表示部に表示された前記測定画面上に表示させる処理と、前記受け付ける処理により受け付けられた前記指定情報に基づいて、前記測定対象物における前記1または複数の測定項目の値を算出するための測定設定データを生成する処理と、前記取り込む処理により取り込まれた前記形状データと前記測定設定データを生成する処理により生成された前記測定設定データとに基づいて、前記測定対象物における前記1または複数の測定項目の値を算出する処理と、予め定められた複数種類の幾何要素をそれぞれ特定するための複数の処理および予め定められた複数種類の測定項目の値をそれぞれ算出するための複数の処理にそれぞれ対応する複数の処理プログラムから、指定された前記1または複数の幾何要素を特定するための処理および指定された前記1または複数の測定項目の値を算出するための処理にそれぞれ対応する複数の処理プログラムを選択し、選択された前記複数の処理プログラムを示す複数の処理プログラム情報と前記受付部により受け付けられた前記指定情報とを含むテキストコードを生成する処理とを、前記処理装置に実行させる。
【発明の効果】
【0009】
本発明によれば、測定対象物について所望の測定を実施するための測定ヘッドから得られる形状データに対する測定設定作業を容易かつ適切に行うことが可能になる。
【図面の簡単な説明】
【0010】
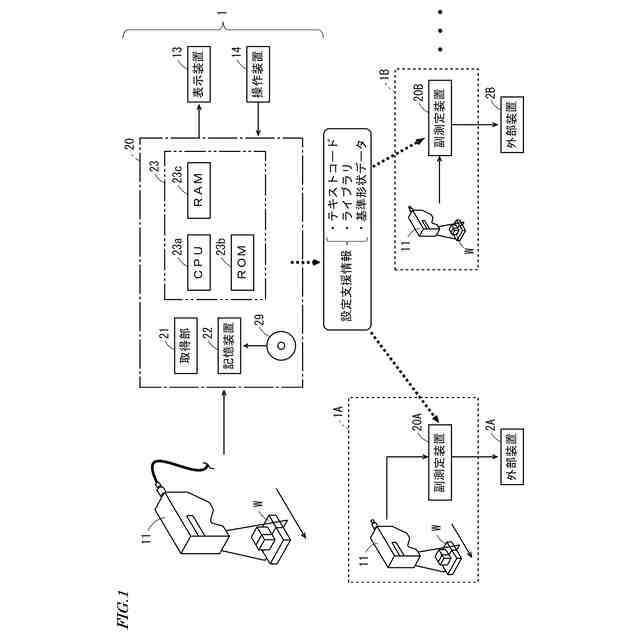
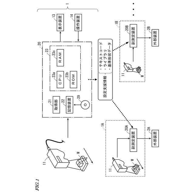
主測定システムおよび副測定システムの構成の概略を説明するための図である。
テキストコードとライブラリとの関係を説明するための図である。
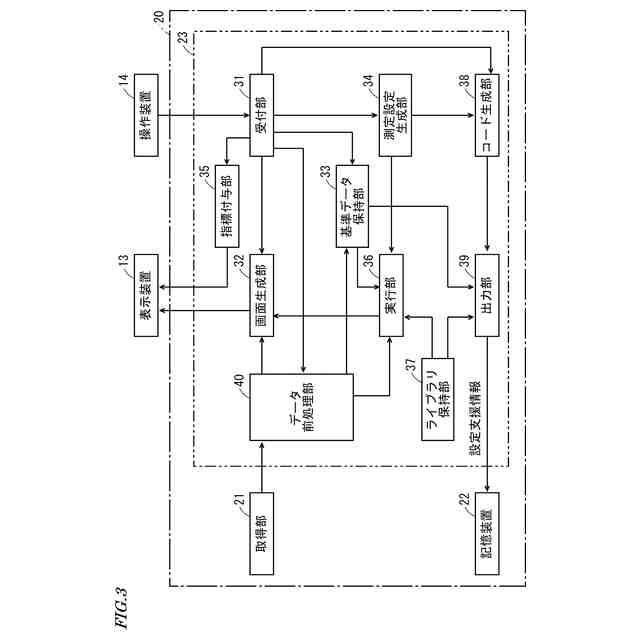
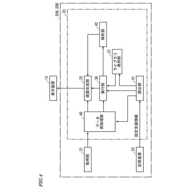
主測定システムの主測定装置の制御系の構成を示すブロック図である。
副測定装置の制御系の構成を示すブロック図である。
コード生成支援処理の大きな流れを示すフローチャートである。
コード生成支援処理の実行時に使用者に要求される操作の流れを説明するための図である。
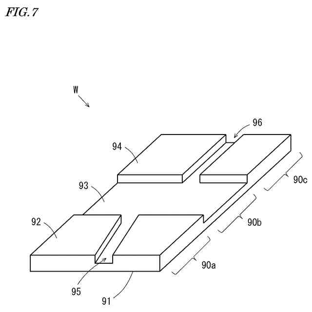
テキストコードの生成例において例示されるワークの外観斜視図である。
表示装置に表示される測定画面の初期状態を示す図である。
第1のフェーズで表示装置に表示される測定画面の遷移例を示す図である。
第1のフェーズで表示装置に表示される測定画面の遷移例を示す図である。
第1のフェーズで表示装置に表示される測定画面の遷移例を示す図である。
第1のフェーズで表示装置に表示される測定画面の遷移例を示す図である。
第1のフェーズで表示装置に表示される測定画面の遷移例を示す図である。
第1のフェーズで表示装置に表示される測定画面の遷移例を示す図である。
第1のフェーズで表示装置に表示される測定画面の遷移例を示す図である。
第1のフェーズで表示装置に表示される測定画面の遷移例を示す図である。
形状データ取込処理の一例を示すフローチャートである。
形状データ取込処理の一例を示すフローチャートである。
第2のフェーズで表示装置に表示される測定画面の遷移例を示す図である。
第2のフェーズで表示装置に表示される測定画面の遷移例を示す図である。
第2のフェーズで表示装置に表示される測定画面の遷移例を示す図である。
第2のフェーズで表示装置に表示される測定画面の遷移例を示す図である。
補正設定処理の一例を示すフローチャートである。
第3のフェーズで表示装置に表示される測定画面の遷移例を示す図である。
第3のフェーズで表示装置に表示される測定画面の遷移例を示す図である。
第3のフェーズで表示装置に表示される測定画面の遷移例を示す図である。
第3のフェーズで表示装置に表示される測定画面の遷移例を示す図である。
第3のフェーズで表示装置に表示される測定画面の遷移例を示す図である。
第3のフェーズで表示装置に表示される測定画面の遷移例を示す図である。
第3のフェーズで表示装置に表示される測定画面の遷移例を示す図である。
第3のフェーズで表示装置に表示される測定画面の遷移例を示す図である。
第3のフェーズで表示装置に表示される測定画面の遷移例を示す図である。
第3のフェーズで表示装置に表示される測定画面の遷移例を示す図である。
第3のフェーズで表示装置に表示される測定画面の遷移例を示す図である。
第3のフェーズで表示装置に表示される測定画面の遷移例を示す図である。
第3のフェーズで表示装置に表示される測定画面の遷移例を示す図である。
第3のフェーズで表示装置に表示される測定画面の遷移例を示す図である。
第3のフェーズで表示装置に表示される測定画面の遷移例を示す図である。
測定条件設定処理の一例を示すフローチャートである。
測定条件設定処理の一例を示すフローチャートである。
第4のフェーズで表示装置に表示される測定画面の遷移例を示す図である。
第4のフェーズで表示装置に表示される測定画面の遷移例を示す図である。
第4のフェーズで表示装置に表示される測定画面の遷移例を示す図である。
テキストコード生成処理の一例を示すフローチャートである。
図3のコード生成部により生成されるテキストコードの一例を示す図である。
複数の形状データの合成機能により表示装置に表示される測定画面の遷移例を示す図である。
複数の形状データの合成機能により表示装置に表示される測定画面の遷移例を示す図である。
複数の形状データの合成機能により表示装置に表示される測定画面の遷移例を示す図である。
複数の形状データの合成機能により表示装置に表示される測定画面の遷移例を示す図である。
合成条件設定処理の一例を示すフローチャートである。
【発明を実施するための形態】
(【0011】以降は省略されています)
この特許をJ-PlatPat(特許庁公式サイト)で参照する
関連特許
株式会社キーエンス
受発注システム
5日前
株式会社キーエンス
分析装置
4日前
個人
メジャー文具
今日
個人
計量スプーン
28日前
日本精機株式会社
位置検出装置
6日前
日本精機株式会社
位置検出装置
6日前
日本精機株式会社
位置検出装置
6日前
大和製衡株式会社
組合せ秤
11日前
大和製衡株式会社
組合せ秤
11日前
アズビル株式会社
圧力センサ
5日前
ダイハツ工業株式会社
測定用具
1か月前
アンリツ株式会社
分光器
1か月前
株式会社ユーシン
操作検出装置
8日前
株式会社東芝
センサ
11日前
トヨタ自動車株式会社
表示装置
20日前
株式会社東芝
センサ
11日前
アンリツ株式会社
分光器
1か月前
エイブリック株式会社
磁気センサ回路
5日前
トヨタ自動車株式会社
検査装置
8日前
株式会社ナリス化粧品
角層細胞採取用具
18日前
株式会社ヨコオ
コンタクタ
1か月前
東レエンジニアリング株式会社
計量装置
8日前
TDK株式会社
ガスセンサ
5日前
TDK株式会社
ガスセンサ
4日前
個人
粘塑性を用いた有限要素法の定式化
20日前
TDK株式会社
磁気センサ
28日前
株式会社東芝
重量測定装置
4日前
株式会社熊谷組
RI計測装置
6日前
日本碍子株式会社
ガスセンサ
29日前
三菱マテリアル株式会社
温度センサ
今日
富士電機株式会社
エンコーダ
5日前
株式会社関電工
検相器用治具
26日前
大同特殊鋼株式会社
超音波探傷方法
28日前
TDK株式会社
磁気計測装置
19日前
富士電機株式会社
半導体パッケージ
28日前
成田空港給油施設株式会社
保持治具
19日前
続きを見る
他の特許を見る