TOP
|
特許
|
意匠
|
商標
特許ウォッチ
Twitter
他の特許を見る
公開番号
2025129220
公報種別
公開特許公報(A)
公開日
2025-09-04
出願番号
2025107381,2021002251
出願日
2025-06-25,2021-01-08
発明の名称
二多段式駐車装置とその制御方法
出願人
IHI運搬機械株式会社
,
株式会社IHI扶桑エンジニアリング
代理人
個人
,
個人
主分類
E04H
6/06 20060101AFI20250828BHJP(建築物)
要約
【課題】ウイルスに感染するおそれがなく、誤入力や押し間違いを無くすことができる二多段式駐車装置とその制御方法を提供する。
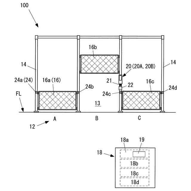
【解決手段】入出庫部12の前面を開閉するゲート16と、昇降、横行、及びゲートを制御する制御装置18と、ICカードXを非接触で読み取るカードリーダ22と、支柱14にそれぞれ設けられ近接する生体を非接触で検出する複数の非接触センサ24と、を備える。制御装置は、ICカードXと紐付けされたデータベース19を有する。第1認証兼呼出し操作又は第2認証兼ゲート閉操作において、非接触媒体を非接触リーダに非接触で読み取らすことで、非接触媒体の固有番号Nをデータベースと照合し、利用者を認証し、続いて、契約したパレット2及び利用入出庫部13に対し、呼び動作又はゲート閉動作に対応する制御を実行する。
【選択図】図3
特許請求の範囲
【請求項1】
利用者が、第1認証兼呼出し操作、入出庫操作、無人確認操作、及び第2認証兼ゲート閉操作を順に実施し、入出庫高さに位置するパレット上に車両を直接入出庫し、パレットを格納位置に昇降又は横行させる二多段式駐車装置であって、
複数の入出庫部と、該入出庫部の前面両側に位置する複数の支柱と、該支柱の間に設けられ前記入出庫部の前面を開閉可能な複数のゲートと、前記昇降、前記横行、及び前記ゲートを制御する制御装置と、前記利用者がかざすことによって非接触媒体の固有番号を非接触で読み取る非接触リーダと、近接する生体を非接触で検出する非接触センサと、を備え、
前記第1認証兼呼出し操作及び前記第2認証兼ゲート閉操作で前記利用者が操作する装置は、前記非接触リーダのみであり、
前記無人確認操作で前記利用者が操作する装置は、前記非接触センサのみであり、
前記制御装置は、前記非接触媒体の前記固有番号と紐付けされた前記利用者の認証番号及び前記利用者が利用する利用入出庫部を記憶するデータベースと、
前記利用者、前記固有番号、前記認証番号、契約した前記パレット、及び前記利用入出庫部をそれぞれ1対1で対応させて紐付けして記憶する記憶装置と、を有し、
前記無人確認操作において、前記非接触センサに前記利用者の身体を近接させることで、前記制御装置は、契約した前記パレット及び前記利用入出庫部に対し、前記無人確認操作に対応する制御を実行し、
(A)前記第1認証兼呼出し操作において、
前記非接触媒体を前記非接触リーダに非接触で読み取らすことで、
前記制御装置は、前記非接触媒体に含まれる前記固有番号を前記記憶装置が記憶するデータと照合し、
前記固有番号が、前記記憶装置が記憶する前記データと一致する場合に前記利用者を認証し、
続けて、前記制御装置は、契約した前記パレット及び前記利用入出庫部に対し、呼び動作を実行し、
(D)前記第2認証兼ゲート閉操作において、
前記非接触媒体を前記非接触リーダに非接触で読み取らすことで、
前記制御装置は、前記非接触媒体に含まれる前記固有番号を前記記憶装置が記憶する前記データと照合し、
前記固有番号が、前記記憶装置が記憶する前記データと一致する場合に前記利用者を認証し、
続けて、前記制御装置は、契約した前記パレット及び前記利用入出庫部に対し、ゲート閉動作を実行する、二多段式駐車装置。
続きを表示(約 1,500 文字)
【請求項2】
前記非接触センサは、複数あり、前記支柱にそれぞれ設けられ、隣接する支柱間の前記入出庫部を1対の支柱位置近傍から死角なく目視できる位置に設置されており、
(C)前記無人確認操作において、
前記利用入出庫部の両側の1対の前記非接触センサにそれぞれ手をかざすことで、
前記制御装置は、契約した前記パレット及び前記利用入出庫部に対し、前記無人確認操作に対応する制御を実行する、請求項1に記載の二多段式駐車装置。
【請求項3】
操作を案内する案内盤を備え、
前記案内盤は、文字又は画像を表示する表示装置と、音声を出力するスピーカと、を有しており、
待機状態において、前記表示装置又は前記スピーカにより、それぞれの前記待機状態に応じた操作メッセージを出力する、請求項1に記載の二多段式駐車装置。
【請求項4】
前記非接触媒体は、前記固有番号を有するICチップが埋め込まれたタッチレスキーであり、
前記非接触リーダは、前記固有番号を受信するカードリーダである、請求項1に記載の二多段式駐車装置。
【請求項5】
前記非接触媒体は、前記利用者が携帯するインテリジェンスキーであり、
前記非接触リーダは、前記利用者が手をかざすことで前記固有番号を受信する、請求項1に記載の二多段式駐車装置。
【請求項6】
前記非接触センサは、光電センサ、静電容量センサ、超音波センサ、又は、インダクティブセンサである、請求項2に記載の二多段式駐車装置。
【請求項7】
前記非接触センサは、点灯または色の変化による表示機能を有する、請求項2に記載の二多段式駐車装置。
【請求項8】
請求項1に記載の二多段式駐車装置の制御方法であって、
(A)前記第1認証兼呼出し操作において、
前記非接触媒体を前記非接触リーダに非接触で読み取らすことで、
前記制御装置により、前記非接触媒体に含まれる前記固有番号を前記記憶装置が記憶する前記データと照合し、
前記固有番号が、前記記憶装置が記憶する前記データと一致する場合に前記利用者を認証し、
続けて、前記制御装置により、契約した前記パレット及び前記利用入出庫部に対し、前記呼び動作を実行する、二多段式駐車装置の制御方法。
【請求項9】
請求項1に記載の二多段式駐車装置の制御方法であって、
(D)前記第2認証兼ゲート閉操作において、
前記非接触媒体を前記非接触リーダに非接触で読み取らすことで、
前記制御装置により、前記非接触媒体に含まれる前記固有番号を前記記憶装置が記憶する前記データと照合し、
前記固有番号が、前記記憶装置が記憶する前記データと一致する場合に前記利用者を認証し、
続けて、前記制御装置により、契約した前記パレット及び前記利用入出庫部に対し、前記ゲート閉動作を実行する、二多段式駐車装置の制御方法。
【請求項10】
前記非接触センサは、複数あり、前記支柱にそれぞれ設けられ、隣接する支柱間の前記入出庫部を1対の支柱位置近傍から死角なく目視できる位置に設置されており、
(C)前記無人確認操作において、
前記利用入出庫部の両側の1対の前記非接触センサにそれぞれ手をかざすことで、
前記制御装置により、契約した前記パレット及び前記利用入出庫部に対し、前記無人確認操作に対応する制御を実行する、請求項8又は9に記載の二多段式駐車装置の制御方法。
発明の詳細な説明
【技術分野】
【0001】
本発明は、複数のパレットを有する二多段式駐車装置とその制御方法に関する。
続きを表示(約 1,600 文字)
【背景技術】
【0002】
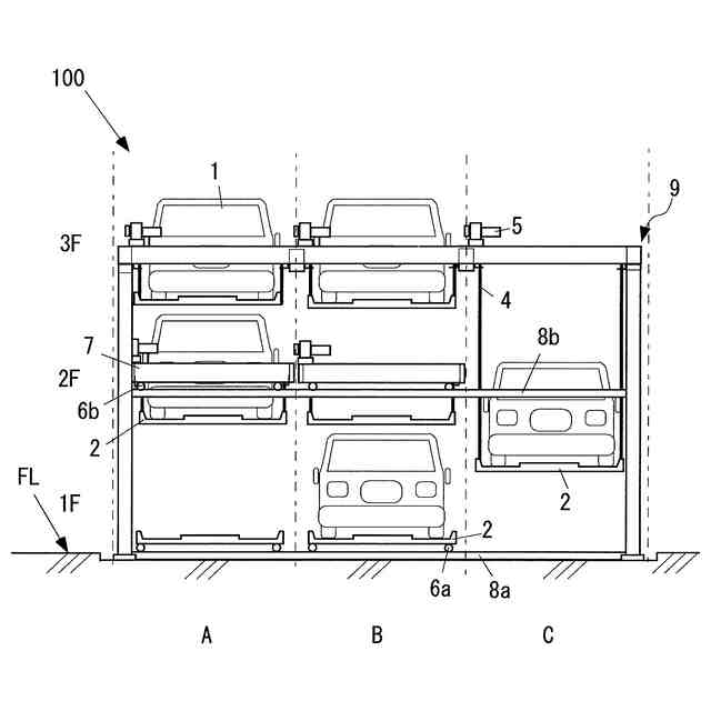
二多段式駐車装置は、地上のみに駐車スペースが設けられる地上式と、地上と地下に駐車スペースが設けられるピット式とに大別できる。地上式とピット式のいずれも、車両の入出庫は、入出庫高さ(FL)に位置するパレット上に車両を直接入庫し、又は入出庫高さのパレット上から車両を出庫することで行われる。
そして、二多段式駐車装置は、パレットを駐車スペースに昇降または横行させることにより、同一の設置スペースに2段以上の駐車スペースを設け、車両を駐車する。
かかる二多段式駐車装置は、例えば特許文献1に開示されている。
【0003】
二多段式駐車装置は、例えば、マンションなどの集合住宅において、予め契約した契約者に固有の認証番号を付与し、契約者の認証番号に紐付けられたパレットを契約者が使用する運用が広く行われている。
この場合、パレットを呼び出す時、そのパレットに紐付けされた認証番号を契約者が入力することにより、契約者が認証され、契約者は紐付けられたパレットに対する装置の操作が可能になる。
【0004】
しかし、上述の認証手段の場合、認証番号を失念してしまった場合、入出庫不能となってしまう。
そこで、認証番号を付与せずに、汎用のICカードにより契約者を認証する手段が既に提案されている(例えば、特許文献2,3)。
【0005】
特許文献2の「設備利用管理システム」では、鍵識別情報を専用部分鍵から受信し、連続して固有番号を汎用のICカードから受信する。受信した固有番号を受信した鍵識別情報と対応付けて自装置に登録することにより、ICカードが建物の共用部分の各設備の利用の際に必要な鍵として使用可能となる。
【0006】
特許文献3の「設備利用管理システム」では、集合住宅の居住者等が、ICカードを認証管理装置にかざす等する。これにより、認証管理装置は、ICカードから固有番号を受信し、その固有番号を、登録済みの専用部分鍵の鍵識別情報に対応づけてICカード認証データベースに集合住宅の共用部分の鍵として登録する。
【先行技術文献】
【特許文献】
【0007】
特開2003-105997号公報
特許第5409865号公報
特開2013-8392号公報
【発明の概要】
【発明が解決しようとする課題】
【0008】
上述した特許文献2,3のシステムにより、ICカードを共用部分の鍵として使用することができる。しかしこのシステムを機械式駐車装置の認証手段に適用した場合、以下の問題点があった。
【0009】
(1)利用者の認証後に、利用者は契約しているパレットの呼出し区画を手入力する必要がある。この呼出し区画の誤入力の可能性があった。
(2)機械式駐車装置への車両の入出庫時(入庫時又は出庫時)には、車両の入出庫操作の他に、無人確認やゲート閉操作、などを利用者が実施する必要がある。
この際、複数の利用者が同じ入力機器に触れなければならなかった。そのため、新型コロナ等のウイルスに感染する可能性があった。
(3)従来は無人確認やゲート閉操作、などの操作を、それぞれ独立した押ボタンで実施している。この場合、誤って別の押ボタンを操作する可能性があった。
【0010】
本発明は上述した問題点を解決するために創案されたものである。すなわち、本発明の目的は、新型コロナ等のウイルスに感染するおそれがなく、呼出し区画の誤入力や押ボタンの押し間違いを無くすことができる二多段式駐車装置とその制御方法を提供することにある。
【課題を解決するための手段】
(【0011】以降は省略されています)
この特許をJ-PlatPat(特許庁公式サイト)で参照する
関連特許
IHI運搬機械株式会社
ニューマチックアンローダ
1か月前
IHI運搬機械株式会社
水平循環式駐車装置
1日前
IHI運搬機械株式会社
建築物副構造と駐車装置
6日前
IHI運搬機械株式会社
駐車設備及び駐車設備の制御方法
4日前
IHI運搬機械株式会社
離着陸支援装置、離着陸場判定装置、離着陸管理システム、および離着陸支援方法
29日前
IHI運搬機械株式会社
二多段式駐車装置とその制御方法
1か月前
IHI運搬機械株式会社
駐車場管理装置、駐車場管理方法、およびこれを利用した駐車場制御装置
1か月前
個人
接合構造
1日前
個人
屋台
18日前
個人
タッチミー
今日
個人
野良猫ハウス
1か月前
個人
転落防止用手摺
28日前
個人
フェンス
1か月前
個人
キャチクランプ
4か月前
個人
筋交自動設定装置
8日前
個人
地下型マンション
3か月前
個人
水害と共にある家
4か月前
個人
居住車両用駐車場
1か月前
ニチハ株式会社
建築板
1か月前
積水樹脂株式会社
柵体
27日前
個人
ベンリナアングル
今日
個人
津波と共にある漁港
4か月前
株式会社タナクロ
テント
3か月前
個人
鋼管結合資材
3か月前
個人
壁断熱パネル
4か月前
個人
熱抵抗多層断熱建材
1か月前
個人
パーティション
4か月前
個人
地滑りと共にある山荘
4か月前
個人
柵
2か月前
積水樹脂株式会社
フェンス
5か月前
個人
補強部材
1か月前
成友建設株式会社
建物
1か月前
鹿島建設株式会社
壁体
1か月前
個人
身体用シェルター
8日前
個人
身体用シェルター
8日前
個人
循環流水式屋根融雪装置
3か月前
続きを見る
他の特許を見る