TOP
|
特許
|
意匠
|
商標
特許ウォッチ
Twitter
他の特許を見る
10個以上の画像は省略されています。
公開番号
2025116447
公報種別
公開特許公報(A)
公開日
2025-08-08
出願番号
2024010871
出願日
2024-01-29
発明の名称
指導物管理装置、指導物管理方法、プログラム
出願人
株式会社Z会
代理人
個人
,
個人
,
個人
主分類
G06Q
50/20 20120101AFI20250801BHJP(計算;計数)
要約
【課題】指導物のひっ迫度を指導者に伝えることができる指導物管理装置を提供する。
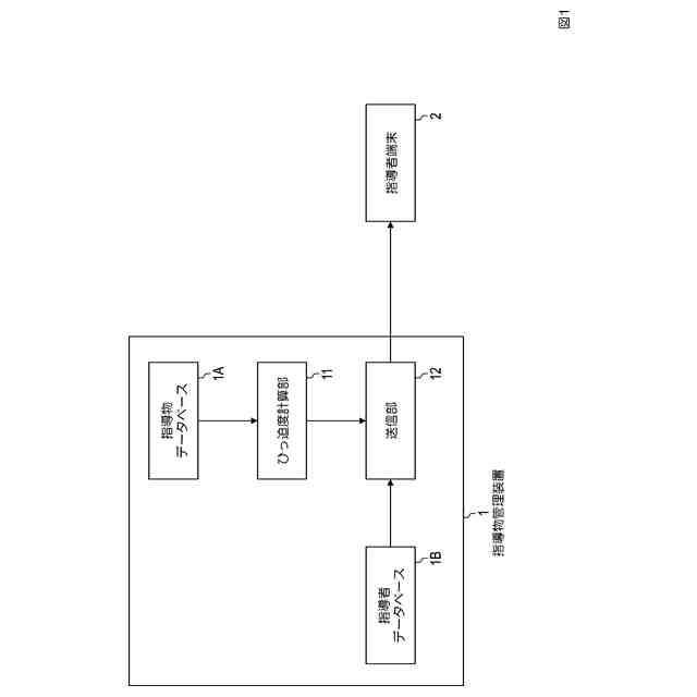
【解決手段】指導領域と指導レベルが付与された指導物を取得して、指導領域毎、指導レベル毎に区分された指導物の区分毎の想定作業量の合計Aと、区分毎の指導物と指導領域および指導レベルが一致する指導者の人数Cに基づいて区分毎の指導物のひっ迫度を計算するひっ迫度計算部と、計算されたひっ迫度を対応する指導領域および指導レベルが一致する指導者が管理する端末である指導者端末に送信する送信部を含む。
【選択図】図1
特許請求の範囲
【請求項1】
指導領域と指導レベルが付与された指導物を取得して、前記指導領域毎、前記指導レベル毎に区分された前記指導物の区分毎の想定作業量の合計Aと、区分毎の前記指導物と前記指導領域および前記指導レベルが一致する前記指導者の人数Cに基づいて区分毎の前記指導物のひっ迫度を計算するひっ迫度計算部と、
計算された前記ひっ迫度を対応する前記指導領域および前記指導レベルが一致する前記指導者が管理する端末である指導者端末に送信する送信部を含む
指導物管理装置。
続きを表示(約 1,700 文字)
【請求項2】
請求項1に記載の指導物管理装置であって、
前記ひっ迫度計算部は、
前記Aと前記Cに加え、指導者1人当たりの想定作業量Bに基づいて前記ひっ迫度を計算する
指導物管理装置。
【請求項3】
請求項1に記載の指導物管理装置であって、
前記ひっ迫度計算部は、
前記ひっ迫度を
A÷C×100
と計算する
指導物管理装置。
【請求項4】
請求項2に記載の指導物管理装置であって、
前記ひっ迫度計算部は、
前記ひっ迫度を
A÷B÷C×100
と計算する
指導物管理装置。
【請求項5】
請求項1に記載の指導物管理装置であって、
前記送信部は、
前記ひっ迫度をその大きさに応じて段階分けされる何れかの段階を示すアイコン表示として送信する
指導物管理装置。
【請求項6】
請求項1に記載の指導物管理装置であって、
前記ひっ迫度計算部は、
ある指導領域のある指導レベルにおける前記ひっ迫度が所定のしきい値を超過した場合に、該当する前記指導物の一部または全部を当該指導領域のN個(Nは1以上の整数)上の指導レベルに変更して前記ひっ迫度を再計算し、
前記送信部は、
再計算された前記ひっ迫度を対応する前記指導者端末に送信する
指導物管理装置。
【請求項7】
請求項1に記載の指導物管理装置であって、
前記ひっ迫度計算部は、
ある指導領域のある指導レベルにおける前記ひっ迫度が所定のしきい値を超過した場合に、該当する前記指導物の想定作業量と、該当する前記指導物と同じ前記指導領域であって前記指導レベルよりもN(Nは1以上の整数)高い前記指導物の想定作業量の合計をAとし、該当する前記指導物と同じ前記指導領域であって該当する前記指導物と同じ前記指導レベルの前記指導者の人数と、該当する前記指導物と同じ前記指導領域であって該当する前記指導物の前記指導レベルよりもN(Nは1以上の整数)高い前記指導者の人数の合計を前記Cとしてひっ迫度を再計算し、
前記送信部は、
該当する前記指導物と前記指導領域および前記指導レベルが同じ前記指導者が管理する前記指導者端末、および前記指導領域が同じであって前記指導レベルがN(Nは1以上の整数)高い前記指導者が管理する前記指導者端末に、再計算された前記ひっ迫度を送信する
指導物管理装置。
【請求項8】
請求項1に記載の指導物管理装置であって、
前記指導者のスキルを評価した評価レベルを記憶する指導者データベースを含み、
前記送信部は、
前記評価レベルが所定のしきい値を超過する前記指導者が管理する前記指導者端末に対して、前記指導領域が一致する前記指導物であって、前記指導レベルが一致する前記指導物および前記指導レベルがN(Nは1以上の整数)低い前記指導物のひっ迫度を送信する
指導物管理装置。
【請求項9】
請求項1に記載の指導物管理装置であって、
前記指導者のスキルを評価した評価レベルを記憶する指導者データベースを含み、
前記送信部は、
前記ひっ迫度が複数の前記指導者に対する送信対象となっている場合、複数の指導者のうち、前記評価レベルが大きい前記指導者に対して前記ひっ迫度を優先的に送信する
指導物管理装置。
【請求項10】
請求項1に記載の指導物管理装置であって、
前記指導者の前記指導領域毎の指導のスピードを評価した指導スピードを記憶する指導者データベースを含み、
前記送信部は、
前記指導者が複数の前記指導領域の前記ひっ迫度の送信対象となっている場合、複数の前記指導領域のうち、前記指導者の前記指導スピードが大きい前記指導領域の前記ひっ迫度を優先的に送信する
指導物管理装置。
(【請求項11】以降は省略されています)
発明の詳細な説明
【技術分野】
【0001】
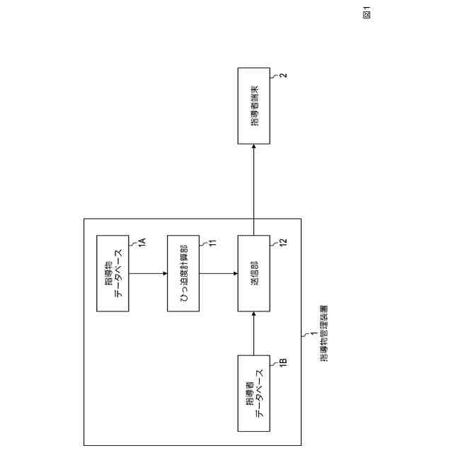
本開示は指導物のひっ迫度を指導者に伝える指導物管理装置、指導物管理方法、プログラムに関する。
続きを表示(約 1,600 文字)
【背景技術】
【0002】
従来の答案添削や採点業務において管理者が答案を添削や採点の実施者(以下、指導者という)に配布するPUSH型配布の形式と、指導者が答案をポータルサイトなどに受け取りに行くPULL型配布の形式が知られている。PULL型配布の従来技術として例えば特許文献1がある。特許文献1の答案データ配布サーバは、問題ID、分野タグ、解法タグ、答案データを取得する答案データ取得部と、添削者が過去に添削を行った答案データの問題ID、分野タグ、解法タグを添削者ごとに記憶した添削者データベースを参照し、添削者が過去に添削した答案データの問題ID、分野タグ、解法タグとの一致度が高い答案データほど添削者が閲覧しやすい位置に配置されるように複数の答案データを並び替える答案データソート部と、並び替えた答案データを添削者の端末である添削者端末に送信するソート済み答案データ送信部を含む。
【0003】
特許文献1の答案データ配布サーバによれば、添削者の能力やニーズに応じた答案データを添削者に適切に配布することができる。
【先行技術文献】
【特許文献】
【0004】
特開2022-49314号公報
【発明の概要】
【発明が解決しようとする課題】
【0005】
PULL型配布では、指導者がポータルサイトにアクセスした時に指導物が無い状況が続くと指導者がポータルサイトにアクセスする動機が薄れてしまう。その結果、指導者の業務委託契約解除が生じたり、指導物が存在するタイミングにおいて指導者が稼働していない状況が発生したりする可能性があり、PULLされる指導物の総量が減少してしまい、指導物を予め定められた時間内に指導できなくなる可能性がある。
【0006】
そこで本開示では、指導物のひっ迫度を指導者に伝えることができる指導物管理装置を提供することを目的とする。
【課題を解決するための手段】
【0007】
本開示の指導物管理装置は、ひっ迫度計算部と、送信部を含む。
【0008】
ひっ迫度計算部は、指導領域と指導レベルが付与された指導物を取得して、指導領域毎、指導レベル毎に区分された指導物の区分毎の想定作業量の合計Aと、区分毎の指導物と指導領域および指導レベルが一致する指導者の人数Cに基づいて区分毎の指導物のひっ迫度を計算する。送信部は、計算されたひっ迫度を対応する指導領域および指導レベルが一致する指導者が管理する端末である指導者端末に送信する。
【発明の効果】
【0009】
本開示の指導物管理装置によれば、指導物のひっ迫度を指導者に伝えることができる。
【図面の簡単な説明】
【0010】
実施例1の指導物管理装置の機能構成を示すブロック図。
実施例1の指導物管理装置の動作を示すフローチャート。
想定作業量の単位を時間とした場合のひっ迫度の計算例を示す図。
ひっ迫度をその大きさに応じてアイコン表示した例を示す図。
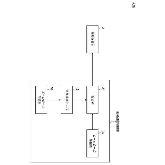
実施例2の指導物管理装置の機能構成を示すブロック図。
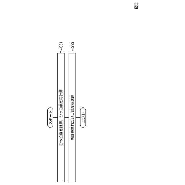
実施例2の指導物管理装置の動作を示すフローチャート。
想定作業量の単位を答案数とした場合のひっ迫度の計算例を示す図。
ひっ迫度がしきい値を超過した場合のひっ迫度の再計算例1を示す図。
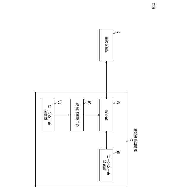
実施例3の指導物管理装置の機能構成を示すブロック図。
実施例3の指導物管理装置の動作を示すフローチャート。
ひっ迫度がしきい値を超過した場合のひっ迫度の再計算例2を示す図。
コンピュータの機能構成例を示す図。
【発明を実施するための形態】
(【0011】以降は省略されています)
この特許をJ-PlatPat(特許庁公式サイト)で参照する
関連特許
株式会社Z会
認証装置、認証方法、プログラム
7日前
株式会社Z会
認可サーバ、ログイン管理方法、プログラム
7日前
株式会社Z会
指導物管理装置、指導物管理方法、プログラム
1か月前
個人
フラワーコートA
1か月前
個人
地球保全システム
1日前
個人
工程設計支援装置
1か月前
個人
冷凍食品輸出支援構造
28日前
個人
為替ポイント伊達夢貯
28日前
個人
介護情報提供システム
2か月前
個人
携帯情報端末装置
1か月前
個人
表変換編集支援システム
21日前
個人
知財出願支援AIシステム
28日前
個人
結婚相手紹介支援システム
1か月前
個人
AIによる情報の売買の仲介
1か月前
個人
行動時間管理システム
23日前
個人
パスワード管理支援システム
21日前
株式会社キーエンス
受発注システム
今日
日本精機株式会社
施工管理システム
1か月前
株式会社アジラ
進入判定装置
1か月前
個人
食品レシピ生成システム
今日
個人
アンケート支援システム
1か月前
個人
パスポートレス入出国システム
1か月前
株式会社キーエンス
受発注システム
今日
株式会社キーエンス
受発注システム
今日
個人
海外支援型農作物活用システム
13日前
個人
システム及びプログラム
14日前
個人
AIキャラクター制御システム
21日前
個人
音声対話型帳票生成支援システム
21日前
個人
未来型家系図構築システム
13日前
個人
社会還元・施設向け供給支援構造
21日前
個人
食事受注会計処理システム
1か月前
大同特殊鋼株式会社
疵判定方法
7日前
個人
SaaS型勤務調整支援システム
21日前
個人
ジェスチャーパッドのガイド部材
2か月前
個人
冷凍加工連携型農場運用システム
28日前
個人
人格進化型対話応答制御システム
21日前
続きを見る
他の特許を見る