TOP
|
特許
|
意匠
|
商標
特許ウォッチ
Twitter
他の特許を見る
公開番号
2025069668
公報種別
公開特許公報(A)
公開日
2025-05-01
出願番号
2023179534
出願日
2023-10-18
発明の名称
空気入りタイヤ及びその製造方法
出願人
横浜ゴム株式会社
代理人
清流国際弁理士法人
,
個人
,
個人
主分類
B60C
19/12 20060101AFI20250423BHJP(車両一般)
要約
【課題】 シーラント層の形成時における熱の影響によるタイヤ性能の悪化を回避すると共に、シーラント層によるシール性を良好に保持することを可能にした空気入りタイヤ及びその製造方法を提供する。
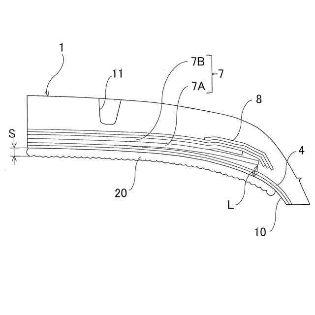
【解決手段】 タイヤ周方向に延在して環状をなすトレッド部1と、該トレッド部1の両側に配置された一対のサイドウォール部2と、これらサイドウォール部2のタイヤ径方向内側に配置された一対のビード部3とを備えた空気入りタイヤにおいて、トレッド部1におけるタイヤ内面10にシーラント層20が形成され、該シーラント層20のシーラントがシリコーン系組成物から構成され、トレッド部1にタイヤ周方向に対して傾斜するベルトコードを含むベルト層7が埋設され、タイヤ径方向最内側に位置するベルト層7Aの全ての箇所において、該ベルト層7Aからシーラント層20までの距離Lが10mm以下である。
【選択図】 図2
特許請求の範囲
【請求項1】
タイヤ周方向に延在して環状をなすトレッド部と、該トレッド部の両側に配置された一対のサイドウォール部と、これらサイドウォール部のタイヤ径方向内側に配置された一対のビード部とを備えた空気入りタイヤにおいて、
前記トレッド部におけるタイヤ内面にシーラント層が形成され、該シーラント層のシーラントがシリコーン系組成物から構成され、
前記トレッド部にタイヤ周方向に対して傾斜するベルトコードを含むベルト層が埋設され、タイヤ径方向最内側に位置するベルト層の全ての箇所において、該ベルト層から前記シーラント層までの距離Lが10mm以下であることを特徴とする空気入りタイヤ。
続きを表示(約 890 文字)
【請求項2】
前記シリコーン系組成物は2液硬化型シリコーンであることを特徴とする請求項1に記載の空気入りタイヤ。
【請求項3】
前記シーラントのガラス転移温度が-120℃~-40℃の範囲にあることを特徴とする請求項1又は2に記載の空気入りタイヤ。
【請求項4】
前記シーラント層の厚さが2.0mm~5.0mmの範囲にあることを特徴とする請求項1又は2に記載の空気入りタイヤ。
【請求項5】
前記シーラント層の厚さSとタイヤ径方向最内側に位置するベルト層から前記シーラント層までの距離Lとの比がS/L≧0.3の関係を満足することを特徴とする請求項1又は2に記載の空気入りタイヤ。
【請求項6】
前記シーラント層は前記シーラントの帯材がタイヤ周方向に沿って螺旋状に配置された構造を有し、前記シーラントの帯材のタイヤ周方向に対する傾斜方向がタイヤ径方向最内側に位置するベルト層のベルトコードのタイヤ周方向に対する傾斜方向とは逆位相であることを特徴とする請求項1又は2に記載の空気入りタイヤ。
【請求項7】
前記シーラント層の幅がタイヤ径方向最内側に位置するベルト層の幅の90%以上であることを特徴とする請求項1又は2に記載の空気入りタイヤ。
【請求項8】
前記シーラント層の端部がタイヤ径方向最内側に位置するベルト層の端部よりもタイヤ幅方向外側に配置されていることを特徴とする請求項7に記載の空気入りタイヤ。
【請求項9】
前記トレッド部に前記ベルト層の外周側でタイヤ周方向に配向する有機繊維コードを含むベルトカバー層が埋設され、前記シーラント層の端部が前記ベルトカバー層の端部よりもタイヤ幅方向外側に配置されていることを特徴とする請求項8に記載の空気入りタイヤ。
【請求項10】
前記シーラント層のタイヤ径方向内側にタイヤ周方向に沿って吸音材が設置されていることを特徴とする請求項1又は2に記載の空気入りタイヤ。
(【請求項11】以降は省略されています)
発明の詳細な説明
【技術分野】
【0001】
本発明は、トレッド部におけるタイヤ内面にシーラント層を備えた空気入りタイヤ及びその製造方法に関し、更に詳しくは、シーラント層の形成時における熱の影響によるタイヤ性能の悪化を回避すると共に、シーラント層によるシール性を良好に保持することを可能にした空気入りタイヤ及びその製造方法に関する。
続きを表示(約 1,900 文字)
【背景技術】
【0002】
空気入りタイヤにおいて、トレッド部におけるインナーライナー層のタイヤ径方向内側にシーラント層を設けることが提案されている。このような空気入りタイヤでは、釘等の異物がトレッド部に突き刺さった際に、その貫通孔にシーラントが流入することにより、空気圧の減少を抑制し、走行を維持することが可能になる。
【0003】
従来、シーラント層を構成するシーラントは、ブチル系ゴムを主体とするゴム組成物が一般的である(例えば、特許文献1~3参照)。ブチル系ゴムとしては、例えば、ブチルゴム(IIR)の他、臭素化ブチルゴム(Br-IIR)、塩素化ブチルゴム(Cl-IIR)等のハロゲン化ブチルゴムが挙げられる。このようなシーラントは高温に加熱されて軟化させた状態でタイヤ内面に塗布される(例えば、特許文献4参照)。より具体的には、高温に加熱されて軟化させた状態にあるシーラントの帯材をタイヤ内面上にタイヤ周方向に沿って螺旋状に配置することでシーラント層が形成される。
【0004】
しかしながら、上述のように形成されるシーラント層では、高温に加熱されたシーラントをタイヤ内面に塗布すると、その影響でトレッド部に埋設されたタイヤ構成部材が劣化し、その結果として、高速耐久性等のタイヤ性能が悪化するという問題がある。また、トレッド部におけるタイヤ内面にシーラント層を設けたとしても、トレッド部に釘等の異物が貫通した際にシーラントがベルト層の内部に十分に流入しないと、良好なパンクシール性を確保することが難しい。
【先行技術文献】
【特許文献】
【0005】
特許第6583456号公報
特許第6620851号公報
特許第7319533号公報
特許第6124967号公報
【発明の概要】
【発明が解決しようとする課題】
【0006】
本発明の目的は、シーラント層の形成時における熱の影響によるタイヤ性能の悪化を回避すると共に、シーラント層によるシール性を良好に保持することを可能にした空気入りタイヤ及びその製造方法を提供することにある。
【課題を解決するための手段】
【0007】
上記目的を達成するための本発明の空気入りタイヤは、タイヤ周方向に延在して環状をなすトレッド部と、該トレッド部の両側に配置された一対のサイドウォール部と、これらサイドウォール部のタイヤ径方向内側に配置された一対のビード部とを備えた空気入りタイヤにおいて、
前記トレッド部におけるタイヤ内面にシーラント層が形成され、該シーラント層のシーラントがシリコーン系組成物から構成され、
前記トレッド部にタイヤ周方向に対して傾斜するベルトコードを含むベルト層が埋設され、タイヤ径方向最内側に位置するベルト層の全ての箇所において、該ベルト層から前記シーラント層までの距離Lが10mm以下であることを特徴とするものである。
【0008】
上記目的を達成するための本発明の空気入りタイヤの製造方法は、上述の空気入りタイヤを製造する方法であって、
前記シーラント層を除く空気入りタイヤを製造した後、
前記トレッド部におけるタイヤ内面にシリコーン系組成物からなるシーラントを塗布して前記シーラント層を形成するにあたって、前記タイヤ内面に塗布される前記シーラントの温度を70℃よりも低くすることを特徴とするものである。
【発明の効果】
【0009】
本発明では、トレッド部におけるタイヤ内面にシリコーン系組成物からなるシーラントを含むシーラント層が形成されるので、タイヤ内面に塗布されるシーラントの温度を低くすることが可能である。例えば、タイヤ内面に塗布されるシーラントの温度は70℃よりも低くすることが可能である。そのため、タイヤに対する熱の影響を低減し、高速耐久性に代表されるタイヤ性能の悪化を回避することができる。また、タイヤ径方向最内側に位置するベルト層の全ての箇所において、ベルト層からシーラント層までの距離Lが10mm以下であることにより、トレッド部に釘等の異物が貫通した際にシーラントがベルト層に流動し易くなるため、良好なパンクシール性を確保することができる。
【0010】
本発明において、シリコーン系組成物は2液硬化型シリコーンであることが好ましい。2液硬化型シリコーンは2液混合直後の粘度が低いため、低温でも塗布が可能である。
(【0011】以降は省略されています)
この特許をJ-PlatPat(特許庁公式サイト)で参照する
関連特許
他の特許を見る