TOP
|
特許
|
意匠
|
商標
特許ウォッチ
Twitter
他の特許を見る
10個以上の画像は省略されています。
公開番号
2025054565
公報種別
公開特許公報(A)
公開日
2025-04-08
出願番号
2023163679
出願日
2023-09-26
発明の名称
太陽光発電給電装置
出願人
豊田合成株式会社
代理人
個人
,
個人
主分類
H02S
30/00 20140101AFI20250331BHJP(電力の発電,変換,配電)
要約
【課題】太陽電池パネルの発電効率の低下を抑制する。
【解決手段】太陽光発電給電装置Aは基部20及び太陽電池パネル50を備える。基部20は、携帯端末10(電子デバイス)に取り外し可能に装着され、かつ厚み方向における一方の外側の面に基面(表面32)を有する。太陽電池パネル50は、基部20に電気的に接続され、かつ厚み方向における少なくとも一方の外側の面に受光面56を有する。太陽光発電給電装置Aでは、太陽電池パネル50で発電された電力が、基部20を介して携帯端末10に供給される。太陽電池パネル50は、基部20に対し軸82により支持され、基部20に対する姿勢を可変とする。姿勢には、太陽電池パネル50の全体が、基部20の外部から基面(表面32)と重なり合う格納姿勢(実線)と、基部20の外部で、基面(表面32)と重なり合わず、かつ軸82を中心として傾動し得る使用姿勢(二点鎖線)とが含まれる。
【選択図】図2
特許請求の範囲
【請求項1】
電子デバイスに取り外し可能に装着され、かつ自身の厚み方向における一方の外側の面に基面を有する基部と、
前記基部に電気的に接続され、かつ自身の厚み方向における少なくとも一方の外側の面に受光面を有する太陽電池パネルと、
を備え、前記太陽電池パネルで発電された電力が、前記基部を介して前記電子デバイスに供給される太陽光発電給電装置であって、
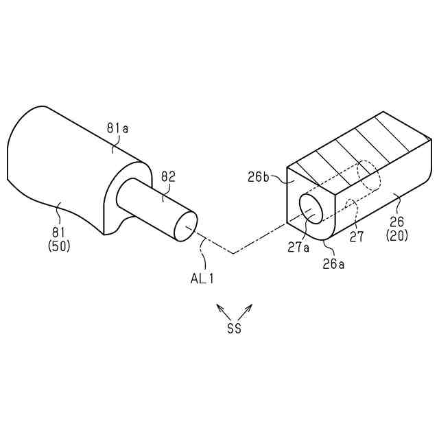
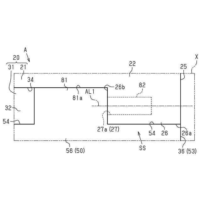
前記太陽電池パネルは、前記基部に対し、軸により支持され、
前記太陽電池パネルは、前記基部に対する姿勢を可変とし、
前記姿勢には、前記太陽電池パネルの全体が、前記基部の外部から前記基面と重なり合う又は前記基部の内部に収容される格納姿勢が含まれるとともに、前記太陽電池パネルが前記基部の外部で、前記基面と重なり合わず、かつ前記軸を中心として傾動し得る使用姿勢が含まれている、太陽光発電給電装置。
続きを表示(約 1,600 文字)
【請求項2】
前記基部及び前記太陽電池パネルのうちの一方の部材には、前記軸が設けられ、他方の部材には、軸受穴を有する軸受部が設けられ、前記軸受穴には、前記基部及び前記太陽電池パネルの相対移動により、前記軸が抜き出し可能に挿入され、
前記基部には被接続部が設けられ、
前記太陽電池パネルには接続部が設けられ、前記接続部は、前記基部及び前記太陽電池パネルの相対移動により、前記被接続部に対し電気的に切り離し可能に接続される、請求項1に記載の太陽光発電給電装置。
【請求項3】
前記軸及び前記軸受穴は、第1軸線に沿って延び、
前記被接続部及び前記接続部は、前記第1軸線と同一線上に位置する第2軸線に沿ってそれぞれ延びる接続穴及び端子部の組み合わせにより構成され、
前記端子部は、前記軸の前記軸受穴への挿入に伴い、前記接続穴に対し抜き出し可能に挿入され、
前記端子部は、前記接続穴に挿入された状態では、同接続穴の内壁面に接触した状態で、前記第2軸線を中心として回動するように前記内壁面に支持される、請求項2に記載の太陽光発電給電装置。
【請求項4】
前記軸は、前記一方の部材に固定された状態で設けられ、
前記軸は前記軸受穴内に圧入され、
前記軸受穴内への圧入に伴い前記軸と前記軸受穴の内壁面との間に生ずる摩擦は、前記基部に対する前記太陽電池パネルの角度調整を可能とする大きさに設定されている、請求項2に記載の太陽光発電給電装置。
【請求項5】
前記一方の部材にはモータが固定され、
前記軸の少なくとも一部は、前記モータの回転軸により構成され、
前記回転軸は、前記軸受穴に対し抜き出し可能に挿入され、
前記回転軸は、前記軸受穴に挿入された状態では、前記軸受穴に対し一体回転可能に結合される、請求項2に記載の太陽光発電給電装置。
【請求項6】
前記太陽電池パネルは、前記基部に対し、前記厚み方向に対し直交する方向へ移動可能に配置され、
前記格納姿勢では、前記太陽電池パネルの全体が前記基部内に収容され、
前記使用姿勢では、前記太陽電池パネルのうち、前記軸による前記基部に対する支持部分が前記基部内に位置し、かつ前記支持部分とは異なる部分が前記基部の外部に位置する、請求項1に記載の太陽光発電給電装置。
【請求項7】
前記太陽電池パネルは、自身の厚み方向における両方の外側部分が一対の基材により構成される薄膜太陽電池を備え、
前記薄膜太陽電池は、光電変換を行う発電層と、前記発電層の厚み方向における両隣に配置されたホール輸送層及び電子輸送層と、前記ホール輸送層に接続された正極電極と、前記電子輸送層に接続された負極電極とを、一対の前記基材の間に備え、
前記薄膜太陽電池の前記厚み方向における両方の外側の面は、前記受光面を構成し、
各基材と、同各基材及び前記発電層の間に位置する部材とは、光の透過性を有する材料により形成されている、請求項1に記載の太陽光発電給電装置。
【請求項8】
前記太陽電池パネルは、自身の厚み方向における片方の外側の面を前記受光面として有する薄膜太陽電池を一対備え、
一対の前記薄膜太陽電池は、前記受光面が、前記太陽電池パネルの前記厚み方向における両方の外側の面を構成するように、背中合わせに配置されている、請求項1に記載の太陽光発電給電装置。
【請求項9】
前記基部は、前記太陽電池パネルで発電された電力を蓄える蓄電部と、前記蓄電部に蓄えられた電力を、非接触給電により前記電子デバイスに送電する送電部とを備えている、請求項1~請求項8のいずれか1項に記載の太陽光発電給電装置。
発明の詳細な説明
【技術分野】
【0001】
本発明は、太陽電池パネルを備え、その太陽電池パネルで発電した電力を、携帯端末等の電子デバイスに供給する太陽光発電給電装置に関する。
続きを表示(約 1,800 文字)
【背景技術】
【0002】
近年、太陽電池が、スマートフォン等の電子デバイスへの給電に用いられることがある(例えば、特許文献1参照)。また、商用電源を用いずに、電子デバイスに給電することのできる小型の給電装置が提案されている(例えば、特許文献2参照)。
【0003】
そこで、図19に示すように、太陽電池パネル202を基部204に固定してなる小型の太陽光発電給電装置Aを電子デバイス201に装着し、太陽電池パネル202で発電した電力を、基部204を介して電子デバイス201に供給することが考えられる。
【先行技術文献】
【特許文献】
【0004】
特開2016-42778号公報
特開2015-142421号公報
【発明の概要】
【発明が解決しようとする課題】
【0005】
ところが、図20に示すように、電子デバイス201の使用に際し、太陽光発電給電装置Aを電子デバイス201とともに把持すると、太陽電池パネル202の受光面203の多くの部分が手HAで覆われる。太陽等の光源LSと受光面203との間に手HAが位置する。光源LSで発生された光の受光面203への照射が手HAによって大きく遮られる。光が遮られる分、太陽電池パネル202の発電効率が低下する。
【課題を解決するための手段】
【0006】
上記課題を解決するための太陽光発電給電装置の各態様を記載する。
[態様1]電子デバイスに取り外し可能に装着され、かつ自身の厚み方向における一方の外側の面に基面を有する基部と、前記基部に電気的に接続され、かつ自身の厚み方向における少なくとも一方の外側の面に受光面を有する太陽電池パネルと、を備え、前記太陽電池パネルで発電された電力が、前記基部を介して前記電子デバイスに供給される太陽光発電給電装置であって、前記太陽電池パネルは、前記基部に対し、軸により支持され、前記太陽電池パネルは、前記基部に対する姿勢を可変とし、前記姿勢には、前記太陽電池パネルの全体が、前記基部の外部から前記基面と重なり合う又は前記基部の内部に収容される格納姿勢が含まれるとともに、前記太陽電池パネルが前記基部の外部で、前記基面と重なり合わず、かつ前記軸を中心として傾動し得る使用姿勢が含まれている、太陽光発電給電装置。
【0007】
上記の構成によれば、太陽光発電給電装置は、基部において電子デバイスに装着される。太陽電池パネルは、受光面に照射される光の量に応じた大きさの電力を発電する。発電された電力は、太陽電池パネルから基部を介して電子デバイスに供給される。
【0008】
ところで、格納姿勢を採っている太陽電池パネルが使用姿勢にされると、太陽電池パネルが基部の外部で、基面と重なり合わない。使用姿勢では、基部の周りであって、太陽電池パネルとの間に、指を入れることの可能なスペースが生ずる。このスペースに指を入れれば、太陽電池パネルを把持せずに太陽光発電給電装置を電子デバイスとともに把持することが可能である。太陽電池パネルで発電するとともに、電子デバイスを使用(操作)することが可能である。このとき、手のうち、光源と受光面との間に位置する部分が少なくなり、又はなくなり、受光面への光の照射が手によって大きく遮られることが起こりにくくなる。光の照射が手で大きく遮られる場合よりも多くの光が受光面に照射される。
【0009】
また、使用姿勢では、軸を中心として太陽電池パネルを傾動させることで、受光面を光源に向けることが可能である。受光面が光源に向けられると、より多くの光が受光面に照射される。
【0010】
[態様2]前記基部及び前記太陽電池パネルのうちの一方の部材には、前記軸が設けられ、他方の部材には、軸受穴を有する軸受部が設けられ、前記軸受穴には、前記基部及び前記太陽電池パネルの相対移動により、前記軸が抜き出し可能に挿入され、前記基部には被接続部が設けられ、前記太陽電池パネルには接続部が設けられ、前記接続部は、前記基部及び前記太陽電池パネルの相対移動により、前記被接続部に対し電気的に切り離し可能に接続される、[態様1]に記載の太陽光発電給電装置。
(【0011】以降は省略されています)
この特許をJ-PlatPat(特許庁公式サイト)で参照する
関連特許
豊田合成株式会社
積層体
1か月前
豊田合成株式会社
調光装置
1か月前
豊田合成株式会社
調光装置
19日前
豊田合成株式会社
調光装置
6日前
豊田合成株式会社
ガラスラン
1か月前
豊田合成株式会社
半導体素子
19日前
豊田合成株式会社
ガラスラン
1か月前
豊田合成株式会社
車両用ビーム
28日前
豊田合成株式会社
車両用外装品
1か月前
豊田合成株式会社
乗員保護装置
1か月前
豊田合成株式会社
車両用ビーム
28日前
豊田合成株式会社
乗員保護装置
29日前
豊田合成株式会社
検知システム
28日前
豊田合成株式会社
車両用外装品
27日前
豊田合成株式会社
車両用外装品
29日前
豊田合成株式会社
乗員保護装置
1か月前
豊田合成株式会社
流体殺菌装置
6日前
豊田合成株式会社
機器制御装置
1か月前
豊田合成株式会社
立体エアバッグ
1か月前
豊田合成株式会社
車両用投影装置
29日前
豊田合成株式会社
エアバッグ装置
1か月前
豊田合成株式会社
車両用投影装置
1か月前
豊田合成株式会社
車両用照明装置
1か月前
豊田合成株式会社
電動液体ポンプ
1か月前
豊田合成株式会社
車両用発光装置
19日前
豊田合成株式会社
空調用レジスタ
1か月前
豊田合成株式会社
空調用レジスタ
1か月前
豊田合成株式会社
空調用レジスタ
1か月前
豊田合成株式会社
電動液体ポンプ
1か月前
豊田合成株式会社
電動液体ポンプ
1か月前
豊田合成株式会社
車両用発光装置
19日前
豊田合成株式会社
車両用発光装置
19日前
豊田合成株式会社
電動液体ポンプ
1か月前
豊田合成株式会社
電動液体ポンプ
1か月前
豊田合成株式会社
車両の前部構造体
1か月前
豊田合成株式会社
車両用ホルダ装置
今日
続きを見る
他の特許を見る