TOP
|
特許
|
意匠
|
商標
特許ウォッチ
Twitter
他の特許を見る
10個以上の画像は省略されています。
公開番号
2025040591
公報種別
公開特許公報(A)
公開日
2025-03-25
出願番号
2023147489
出願日
2023-09-12
発明の名称
半導体装置の製造方法及び半導体装置
出願人
株式会社東芝
代理人
個人
,
個人
,
個人
主分類
H10D
30/01 20250101AFI20250317BHJP()
要約
【課題】深いp型領域を容易に形成できる半導体装置の製造方法を提供する。
【解決手段】実施形態の半導体装置の製造方法は、炭化珪素層の表面に開口部を有するマスク材を形成し、マスク材をマスクに、水素(H)、ヘリウム(He)、及び電子からなる群から選ばれる少なくとも一つの物質を炭化珪素層の第1の領域に注入する第1の処理を行い、第1の処理の前又は第1の処理の後に、マスク材をマスクに、p型不純物を、第1の領域よりも浅い第2の領域に注入する第1のイオン注入を行い、第1の処理及び第1のイオン注入の後、マスク材を剥離し、マスク材を剥離した後に、1600℃以上の第1の熱処理を行う。
【選択図】図5
特許請求の範囲
【請求項1】
炭化珪素層の表面に開口部を有するマスク材を形成し、
前記マスク材をマスクに、水素(H)、ヘリウム(He)、及び電子からなる群から選ばれる少なくとも一つの物質を前記炭化珪素層の第1の領域に注入する第1の処理を行い、
前記第1の処理の前又は前記第1の処理の後に、前記マスク材をマスクに、p型不純物を、前記第1の領域よりも浅い第2の領域に注入する第1のイオン注入を行い、
前記第1の処理及び前記第1のイオン注入の後、前記マスク材を剥離し、
前記マスク材を剥離した後に、1600℃以上の第1の熱処理を行う、半導体装置の製造方法。
続きを表示(約 690 文字)
【請求項2】
前記第1の処理は複数回の処理を含み、前記複数回のそれぞれの処理において、前記少なくとも一つの物質を前記炭化珪素層の異なる深さに注入する、請求項1記載の半導体装置の製造方法。
【請求項3】
前記第1のイオン注入は前記第1の処理の後に行われ、前記第1のイオン注入は300℃以上の温度で行われる、請求項1記載の半導体装置の製造方法。
【請求項4】
前記第1の処理及び前記第1のイオン注入の後、前記マスク材の剥離の前に、300℃以上の第2の熱処理を行う、請求項1記載の半導体装置の製造方法。
【請求項5】
前記第1のイオン注入の後、前記マスク材の剥離の前に、前記マスク材をマスクに、炭素(C)をイオン注入する第2のイオン注入を行う、請求項1記載の半導体装置の製造方法。
【請求項6】
前記第2のイオン注入は300℃以上の温度で行われる、請求項5記載の半導体装置の製造方法。
【請求項7】
前記第2のイオン注入の後、前記マスク材の剥離の前に、300℃以上の第3の熱処理を行う、請求項5記載の半導体装置の製造方法。
【請求項8】
前記第1の領域の深さは、前記第2の領域の深さの3倍以上である、請求項1記載の半導体装置の製造方法。
【請求項9】
前記第1の領域の深さは5μm以上である、請求項1記載の半導体装置の製造方法。
【請求項10】
前記第1の処理は300℃以上で行う、請求項1記載の半導体装置の製造方法。
(【請求項11】以降は省略されています)
発明の詳細な説明
【技術分野】
【0001】
本発明の実施形態は、半導体装置の製造方法及び半導体装置に関する。
続きを表示(約 2,700 文字)
【背景技術】
【0002】
次世代の半導体デバイス用の材料の一つに炭化珪素(SiC)がある。炭化珪素はシリコン(Si)と比較して、バンドギャップが約3倍、破壊電界強度が約10倍、熱伝導率が約3倍と優れた物性を有する。これらの物性を活用すれば低損失かつ高温動作可能な半導体デバイスを実現することができる。
【0003】
縦型のMetal Oxide Semiconductor Field Effect Transistor(MOSFET)において、高い耐圧と低いオン抵抗を両立させる構造として、スーパージャンクション構造(以下「SJ構造」とも称する)がある。SJ構造は、p型領域とn型領域とを横方向に交互に配列させる。p型領域とn型領域の中で横方向に延びる空乏層により、半導体中の電界強度を緩和して、MOSFETの高い耐圧を実現する。同時に、不純物領域の濃度を高くすることで、MOSFETの低いオン抵抗を実現できる。
【0004】
SJ構造のMOSFETでは、炭化珪素層中に深いp型領域を形成することが要求される。したがって、深いp型領域を容易に形成できる方法が必要とされる。
【先行技術文献】
【特許文献】
【0005】
特開2015-216182号公報
【発明の概要】
【発明が解決しようとする課題】
【0006】
本発明が解決しようとする課題は、深いp型領域を容易に形成できる半導体装置の製造方法を提供することにある。
【課題を解決するための手段】
【0007】
実施形態の半導体装置の製造方法は、炭化珪素層の表面に開口部を有するマスク材を形成し、前記マスク材をマスクに、水素(H)、ヘリウム(He)、及び電子からなる群から選ばれる少なくとも一つの物質を前記炭化珪素層の第1の領域に注入する第1の処理を行い、前記第1の処理の前又は前記第1の処理の後に、前記マスク材をマスクに、p型不純物を、前記第1の領域よりも浅い第2の領域に注入する第1のイオン注入を行い、前記第1の処理及び前記第1のイオン注入の後、前記マスク材を剥離し、前記マスク材を剥離した後に、1600℃以上の第1の熱処理を行う、半導体装置の製造方法。
【図面の簡単な説明】
【0008】
第1の実施形態の半導体装置の模式断面図。
第1の実施形態の半導体装置の模式平面図。
第1の実施形態の半導体装置の製造方法の一例を示す模式断面図。
第1の実施形態の半導体装置の製造方法の一例を示す模式断面図。
第1の実施形態の半導体装置の製造方法の一例を示す模式断面図。
第1の実施形態の半導体装置の製造方法の一例を示す模式断面図。
第1の実施形態の半導体装置の製造方法の一例を示す模式断面図。
第1の実施形態の半導体装置の製造方法の一例を示す模式断面図。
第1の実施形態の半導体装置の製造方法の一例を示す模式断面図。
第1の実施形態の半導体装置の製造方法の一例を示す模式断面図。
第1の実施形態の半導体装置の製造方法の一例を示す模式断面図。
第2の実施形態の半導体装置の模式断面図。
第2の実施形態の半導体装置の模式平面図。
第2の実施形態の半導体装置の製造方法の一例を示す模式断面図。
第2の実施形態の半導体装置の製造方法の一例を示す模式断面図。
第2の実施形態の半導体装置の製造方法の一例を示す模式断面図。
第2の実施形態の半導体装置の製造方法の一例を示す模式断面図。
第2の実施形態の半導体装置の製造方法の一例を示す模式断面図。
第2の実施形態の半導体装置の製造方法の一例を示す模式断面図。
第2の実施形態の半導体装置の製造方法の一例を示す模式断面図。
第2の実施形態の半導体装置の製造方法の一例を示す模式断面図。
第2の実施形態の半導体装置の製造方法の一例を示す模式断面図。
第2の実施形態の半導体装置の製造方法の一例を示す模式断面図。
第2の実施形態の半導体装置の製造方法の一例を示す模式断面図。
第2の実施形態の半導体装置の製造方法の一例を示す模式断面図。
第3の実施形態の半導体装置の製造方法で製造される半導体装置の模式断面図。
第3の実施形態の半導体装置の製造方法の一例を示す模式断面図。
第3の実施形態の半導体装置の製造方法の一例を示す模式断面図。
第3の実施形態の半導体装置の製造方法の一例を示す模式断面図。
第3の実施形態の半導体装置の製造方法の一例を示す模式断面図。
第3の実施形態の半導体装置の製造方法の一例を示す模式断面図。
第3の実施形態の半導体装置の製造方法の一例を示す模式断面図。
第3の実施形態の半導体装置の製造方法の一例を示す模式断面図。
第3の実施形態の半導体装置の製造方法の一例を示す模式断面図。
第3の実施形態の半導体装置の製造方法の一例を示す模式断面図。
【発明を実施するための形態】
【0009】
以下、図面を参照しつつ本発明の実施形態を説明する。なお、以下の説明では、同一又は類似の部材などには同一の符号を付し、一度説明した部材などについては適宜その説明を省略する。
【0010】
また、以下の説明において、n
+
、n、n
-
及び、p
+
、p、p
-
の表記がある場合は、各導電型における不純物濃度の相対的な高低を表す。すなわちn
+
はnよりもn型不純物濃度が相対的に高く、n
-
はnよりもn型不純物濃度が相対的に低いことを示す。また、p
+
はpよりもp型不純物濃度が相対的に高く、p
-
はpよりもp型不純物濃度が相対的に低いことを示す。なお、n
+
型、n
-
型を単にn型、p
+
型、p
-
型を単にp型と記載する場合もある。各領域の不純物濃度は、別段の記載がある場合を除き、例えば、各領域の中央部の不純物濃度の値で代表させる。
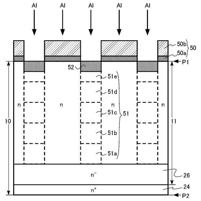
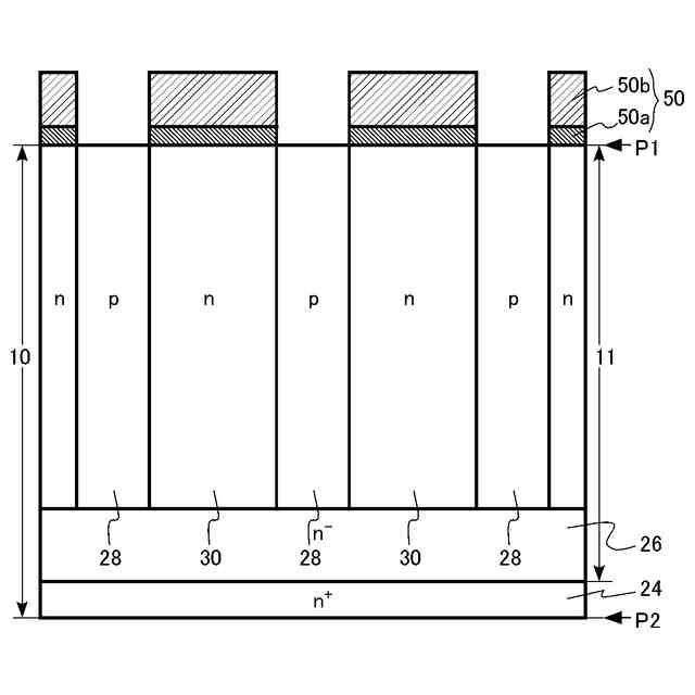
(【0011】以降は省略されています)
この特許をJ-PlatPat(特許庁公式サイト)で参照する
関連特許
個人
積和演算用集積回路
1か月前
サンケン電気株式会社
半導体装置
1か月前
日機装株式会社
半導体発光装置
25日前
ローム株式会社
半導体装置
9日前
三菱電機株式会社
半導体装置
17日前
三菱電機株式会社
半導体装置
4日前
株式会社半導体エネルギー研究所
表示装置
9日前
株式会社東芝
半導体装置
17日前
ローム株式会社
半導体装置
2日前
サンケン電気株式会社
半導体装置
17日前
ローム株式会社
半導体装置
1か月前
株式会社半導体エネルギー研究所
発光デバイス
25日前
日亜化学工業株式会社
発光素子
1か月前
新電元工業株式会社
半導体素子
2日前
新電元工業株式会社
半導体素子
2日前
新電元工業株式会社
半導体素子
2日前
ローム株式会社
半導体装置
17日前
日亜化学工業株式会社
発光装置
1か月前
日亜化学工業株式会社
発光素子
1か月前
日本ゼオン株式会社
構造体
1か月前
日亜化学工業株式会社
発光装置
2日前
ローム株式会社
半導体装置
1か月前
株式会社東芝
ウエーハ及び半導体装置
10日前
株式会社東芝
ウエーハ及び半導体装置
10日前
住友電気工業株式会社
炭化珪素半導体装置
9日前
シチズン電子株式会社
発光装置
1か月前
京セラ株式会社
配線基板及びLEDモジュール
1か月前
住友電気工業株式会社
受光素子
1か月前
株式会社半導体エネルギー研究所
発光デバイスおよび表示装置
1か月前
キヤノン株式会社
有機発光素子及びその製造方法
2日前
株式会社アイシン
ペロブスカイト太陽電池
1か月前
株式会社アイシン
ペロブスカイト太陽電池
2日前
セイコーエプソン株式会社
ダイオード回路
17日前
アイデックス株式会社
熱電発電器システム
9日前
豊田合成株式会社
光デバイス
3日前
豊田合成株式会社
半導体素子
1か月前
続きを見る
他の特許を見る