TOP
|
特許
|
意匠
|
商標
特許ウォッチ
Twitter
他の特許を見る
10個以上の画像は省略されています。
公開番号
2025035809
公報種別
公開特許公報(A)
公開日
2025-03-14
出願番号
2023143083
出願日
2023-09-04
発明の名称
撮像装置
出願人
キヤノン株式会社
代理人
個人
主分類
H04N
23/50 20230101AFI20250307BHJP(電気通信技術)
要約
【課題】記録メディアを効率的に冷却する。
【解決手段】装置本体100の-X側の端部にはグリップ部110が設けられ、グリップ部110は、被写体側へ突出する突出部111を有する。記録メディア141を収容するメディアスロット143が実装されるメディア基板140が、突出部111に対して光軸方向における被写体側とは反対側に配置される。主回路基板170は、光軸C0に対して略直交して配置される。冷却ファン131は冷却ダクト120に空気を導入する。冷却ダクト120は、グリップ部110内において光軸方向に対して交差する方向に延設された第1延設部D1を含み、メディア基板140および主回路基板170に対して熱的に接続される。
【選択図】図4
特許請求の範囲
【請求項1】
光軸方向における被写体側へ突出する突出部を含み、装置本体の端部に設けられたグリップ部と、
記録メディアを収容するためのメディア収容部が実装され、前記突出部に対して前記光軸方向における被写体側とは反対側に配置されたメディア基板と、
前記光軸に対して略直交して配置された主回路基板と、
前記グリップ部内において前記光軸方向に対して交差する方向に延設された第1延設部を含み、前記メディア基板および前記主回路基板に対して熱的に接続された冷却ダクトと、
前記冷却ダクトへ空気を導入する空冷ファンと、を有することを特徴とする撮像装置。
続きを表示(約 880 文字)
【請求項2】
前記冷却ダクトは、前記主回路基板に沿って延設された第2延設部を含み、
前記第1延設部においては前記光軸方向に対して交差する方向に空気が流れ、前記第2延設部においては、前記主回路基板に沿った方向に空気が流れることを特徴とする請求項1に記載の撮像装置。
【請求項3】
前記冷却ダクトへ空気を導入する吸気口の少なくとも一部が前記突出部に配置され、
前記装置本体には、左右方向における前記グリップ部が配置された側とは反対側の端部に、前記冷却ダクトから空気を排出する排気口が配置されたことを特徴とする請求項1に記載の撮像装置。
【請求項4】
前記冷却ダクトへ空気を導入する吸気口が、前記突出部に対して窪んだ位置に配置されることを特徴とする請求項1に記載の撮像装置。
【請求項5】
前記メディア基板および前記主回路基板のいずれとも異なる回路基板が、前記第1延設部に沿って配置され且つ前記第1延設部に対して熱的に接続されたことを特徴とする請求項1に記載の撮像装置。
【請求項6】
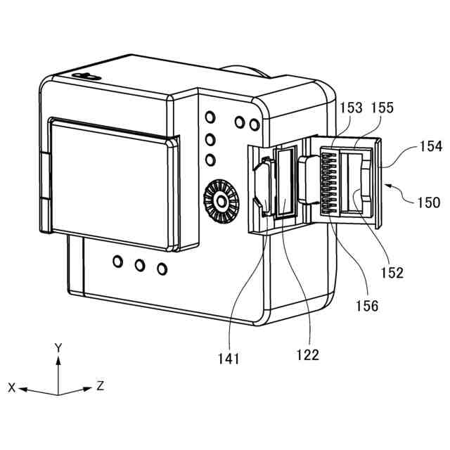
前記メディア収容部における挿入口を開閉する開閉蓋を有し、
前記開閉蓋の閉状態において、前記開閉蓋の一部が前記記録メディアに接触することを特徴とする請求項1に記載の撮像装置。
【請求項7】
前記開閉蓋の閉状態において、前記開閉蓋の他の一部が前記冷却ダクトに接触または挿入されることを特徴とする請求項6に記載の撮像装置。
【請求項8】
前記開閉蓋の前記一部は、熱伝導部材で構成されることを特徴とする請求項6に記載の撮像装置。
【請求項9】
前記開閉蓋の前記他の一部は、熱伝導部材で構成されることを特徴とする請求項7に記載の撮像装置。
【請求項10】
前記冷却ダクトに挿入される前記開閉蓋の前記他の一部は、前記開閉蓋に設けられた放熱フィンであることを特徴とする請求項7に記載の撮像装置。
(【請求項11】以降は省略されています)
発明の詳細な説明
【技術分野】
【0001】
本発明は、撮像装置に関する。
続きを表示(約 1,400 文字)
【背景技術】
【0002】
近年の撮像装置においては、高画質化に伴い撮像部などの信号処理部での発熱が増大しているため、装置内部の冷却が重要となる。特許文献1の撮像装置は、撮像装置内部を強制空冷する放熱構造を開示している。
【0003】
特許文献1の撮像装置は、撮影者が把持するグリップ部に強制空冷流路を内蔵し、装置正面側の吸気口から吸入される外気を強制空冷流路に通して熱交換した後に、装置背面側の排気口から排出することで装置内部の主たる熱源を冷却する。
【先行技術文献】
【特許文献】
【0004】
特開2019-9553号公報
【発明の概要】
【発明が解決しようとする課題】
【0005】
今後、高画質化による書き込みビットレートの増加に伴い、記録メディアのさらなる発熱が懸念されるため、記録メディアも効率よく冷却する必要がある。しかしながら、特許文献1は、グリップ部に内包される記録メディアの冷却については言及していない。
【0006】
また、特許文献1の冷却構造は、撮像装置全体を制御するための主回路基板が光軸と平行に配置される場合には適している。しかし、多くのグリップ一体型のレンズ交換式の撮像装置のように、主回路基板が光軸と直交配置される場合には上記冷却構造の適用は容易でない。
【0007】
本発明は、記録メディアを効率的に冷却することを目的とする。
【課題を解決するための手段】
【0008】
上記目的を達成するために本発明の撮像装置は、光軸方向における被写体側へ突出する突出部を含み、装置本体の端部に設けられたグリップ部と、記録メディアを収容するためのメディア収容部が実装され、前記突出部に対して前記光軸方向における被写体側とは反対側に配置されたメディア基板と、前記光軸に対して略直交して配置された主回路基板と、前記グリップ部内において前記光軸方向に対して交差する方向に延設された第1延設部を含み、前記メディア基板および前記主回路基板に対して熱的に接続された冷却ダクトと、前記冷却ダクトへ空気を導入する空冷ファンと、を有することを特徴とする。
【発明の効果】
【0009】
本発明によれば、記録メディアを効率的に冷却することができる。
【図面の簡単な説明】
【0010】
撮像装置の斜視図である。
撮像装置の背面側斜視図である。
撮像装置の背面図である。
A-A線に沿う断面図である。
放熱構造およびその周辺の前面側斜視図、前面側分解斜視図である。
放熱構造およびその周辺の背面側斜視図、背面側分解斜視図である。
A-A線に沿う断面における-X側の端部の背面側斜視断面図である。
撮像装置の前面側斜視図である。
撮像装置の背面側斜視図である。
光軸を含むX-Z断面図である。
光軸を含むX-Z断面における-X側の端部の背面側斜視断面図である。
光軸を含むX-Z断面図である。
光軸を含むX-Z断面図である。
光軸を含むX-Z断面図である。
【発明を実施するための形態】
(【0011】以降は省略されています)
この特許をJ-PlatPat(特許庁公式サイト)で参照する
関連特許
キヤノン株式会社
容器
29日前
キヤノン株式会社
容器
1か月前
キヤノン株式会社
トナー
21日前
キヤノン株式会社
トナー
1か月前
キヤノン株式会社
トナー
1か月前
キヤノン株式会社
トナー
1か月前
キヤノン株式会社
トナー
1か月前
キヤノン株式会社
撮像装置
1か月前
キヤノン株式会社
撮像装置
8日前
キヤノン株式会社
撮像装置
8日前
キヤノン株式会社
記録装置
1か月前
キヤノン株式会社
撮像装置
1か月前
キヤノン株式会社
表示装置
29日前
キヤノン株式会社
撮像装置
1か月前
キヤノン株式会社
定着装置
8日前
キヤノン株式会社
記録装置
1か月前
キヤノン株式会社
撮像装置
2日前
キヤノン株式会社
撮影装置
1か月前
キヤノン株式会社
現像装置
1か月前
キヤノン株式会社
測距装置
1か月前
キヤノン株式会社
電子機器
21日前
キヤノン株式会社
撮像装置
29日前
キヤノン株式会社
定着装置
14日前
キヤノン株式会社
撮像装置
今日
キヤノン株式会社
定着装置
14日前
キヤノン株式会社
定着装置
1か月前
キヤノン株式会社
記録装置
14日前
キヤノン株式会社
定着装置
14日前
キヤノン株式会社
測距装置
23日前
キヤノン株式会社
撮像装置
16日前
キヤノン株式会社
電子機器
16日前
キヤノン株式会社
撮像装置
22日前
キヤノン株式会社
撮像装置
21日前
キヤノン株式会社
雲台装置
21日前
キヤノン株式会社
記録装置
21日前
キヤノン株式会社
電子機器
21日前
続きを見る
他の特許を見る