TOP
|
特許
|
意匠
|
商標
特許ウォッチ
Twitter
他の特許を見る
10個以上の画像は省略されています。
公開番号
2025027633
公報種別
公開特許公報(A)
公開日
2025-02-28
出願番号
2023132577
出願日
2023-08-16
発明の名称
ワイヤハーネス
出願人
株式会社オートネットワーク技術研究所
,
住友電装株式会社
,
住友電気工業株式会社
代理人
個人
,
個人
主分類
H02G
15/18 20060101AFI20250220BHJP(電力の発電,変換,配電)
要約
【課題】高温環境下においても高い防水性を確保可能としたワイヤハーネスを提供すること。
【解決手段】ワイヤハーネス11は、第1シールド電線12及び第2シールド電線13,14を備える。ワイヤハーネス11は、第1芯線12a及び第2芯線13a,14aが接続されている芯線接続部16と、芯線接続部16の外周を覆う内部熱収縮チューブ21と、内部熱収縮チューブ21の外周を覆いつつ第1シールド部材12c及び第2シールド部材13c,14cが接続されているシールド連結部材31と、シールド連結部材31の外周を覆いつつ内側に接着剤37が設けられる熱収縮チューブ34と、隣り合う2つの第2シールド電線13,14の間に介在されつつ熱収縮チューブ34内の接着剤37を封止するスペーサ35とを備える。
【選択図】図1
特許請求の範囲
【請求項1】
複数のシールド電線を備えるワイヤハーネスであって、
それぞれの前記シールド電線は、芯線と、前記芯線の外周を覆う絶縁被覆と、前記絶縁被覆の外周を覆うシールド部材と、を有し、
前記ワイヤハーネスは、前記芯線同士が接続されている芯線接続部と、前記芯線接続部の外周を覆う絶縁部と、前記絶縁部の外周を覆いつつ前記シールド部材同士が接続されているシールド接続部と、前記シールド接続部の外周を覆いつつ内側に接着剤が設けられる外装部と、前記複数のシールド電線のうち隣り合う2つのシールド電線の間に介在されつつ前記外装部内の前記接着剤を封止するスペーサと、を備える、
ワイヤハーネス。
続きを表示(約 780 文字)
【請求項2】
前記スペーサは、前記シールド電線の外周面と面接触可能に形成されている、
請求項1に記載のワイヤハーネス。
【請求項3】
前記シールド電線は、前記シールド部材の外周を覆いつつ外周が円形の外側絶縁被覆を有し、
前記スペーサは、前記外側絶縁被覆の外周面に沿った円弧面を有する、
請求項2に記載のワイヤハーネス。
【請求項4】
前記スペーサは、前記隣り合う2つのシールド電線の間を最短距離で繋ぎつつ前記外装部内の前記接着剤を封止する平坦面を有する、
請求項1に記載のワイヤハーネス。
【請求項5】
前記スペーサは、前記外装部の開口端に設けられることにより、前記外装部内の前記接着剤を封止する、
請求項1に記載のワイヤハーネス。
【請求項6】
前記スペーサは、一部が前記外装部の開口端から外部に突出するように設けられている、
請求項5に記載のワイヤハーネス。
【請求項7】
前記隣り合う2つのシールド電線は、前記スペーサが配置される部位において全体が離れて配置され、
前記隣り合う2つのシールド電線の間に介在される前記スペーサは単一の部品である、
請求項1に記載のワイヤハーネス。
【請求項8】
前記ワイヤハーネスは、前記外装部の開口端の全周を含む部位に巻き付けられているテープ部材を備える、
請求項1に記載のワイヤハーネス。
【請求項9】
前記スペーサは、一部が前記外装部の開口端から外部に突出するように設けられ、
前記テープ部材は、前記外装部の開口端から外部に突出した前記スペーサにも巻き付けられている、
請求項8に記載のワイヤハーネス。
発明の詳細な説明
【技術分野】
【0001】
本開示は、ワイヤハーネスに関するものである。
続きを表示(約 1,800 文字)
【背景技術】
【0002】
従来、ワイヤハーネスとしては、複数の電線の芯線同士が接続された接続部を有するものがある(例えば、特許文献1参照)。このワイヤハーネスでは、接続部が樹脂材料よりなる防水部に覆われることで接続部の防水性が確保されている。
【先行技術文献】
【特許文献】
【0003】
特開2021-34189号公報
【発明の概要】
【発明が解決しようとする課題】
【0004】
ところで、上記のようなワイヤハーネスの電線としては、シールド電線が採用される場合がある。シールド電線は、絶縁被覆を介して芯線の外周を覆う編組線等のシールド部材を有することにより、電磁波の放射が抑えられる。また、このような場合、シールド部材同士が接続されているシールド接続部の外周を熱収縮チューブ等の外装部で覆いつつその外装部の内側に設けた接着剤によって防水性を確保することが考えられる。このようにすると、ワイヤハーネスの小型化、及び低コスト化が可能となる。しかしながら、このように接着剤を用いた場合、高温環境下においては、隣り合う2つのシールド電線の間から接着剤が外装部の外に溶け出す虞があった。よって、防水性が低下する虞があった。
【0005】
本開示の目的は、高温環境下においても高い防水性を確保可能としたワイヤハーネスを提供することにある。
【課題を解決するための手段】
【0006】
本開示のワイヤハーネスは、複数のシールド電線を備えるワイヤハーネスであって、それぞれの前記シールド電線は、芯線と、前記芯線の外周を覆う絶縁被覆と、前記絶縁被覆の外周を覆うシールド部材と、を有し、前記ワイヤハーネスは、前記芯線同士が接続されている芯線接続部と、前記芯線接続部の外周を覆う絶縁部と、前記絶縁部の外周を覆いつつ前記シールド部材同士が接続されているシールド接続部と、前記シールド接続部の外周を覆いつつ内側に接着剤が設けられる外装部と、前記複数のシールド電線のうち隣り合う2つのシールド電線の間に介在されつつ前記外装部内の前記接着剤を封止するスペーサと、を備える。
【発明の効果】
【0007】
本開示のワイヤハーネスによれば、高温環境下においても高い防水性を確保できる。
【図面の簡単な説明】
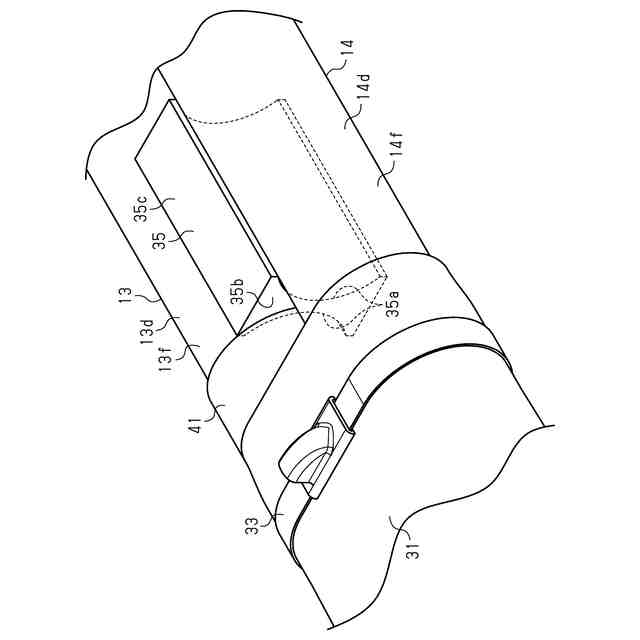
【0008】
図1は、一実施形態におけるワイヤハーネスの断面図である。
図2は、一実施形態におけるワイヤハーネスの一部拡大断面図である。
図3は、一実施形態におけるワイヤハーネスの一部拡大断面図である。
図4は、図3の4-4線に沿った断面図である。
図5は、一実施形態におけるワイヤハーネスの製造過程の一部拡大斜視図である。
図6は、一実施形態におけるワイヤハーネスの製造過程の平面図である。
図7は、一実施形態におけるワイヤハーネスの製造過程の平面図である。
図8は、一実施形態におけるワイヤハーネスの製造過程の平面図である。
図9は、一実施形態におけるワイヤハーネスの製造過程の平面図である。
図10は、一実施形態におけるワイヤハーネスの平面図である。
【発明を実施するための形態】
【0009】
[本開示の実施形態の説明]
最初に本開示の実施態様を列記して説明する。
本開示のワイヤハーネスは、
[1]複数のシールド電線を備えるワイヤハーネスであって、それぞれの前記シールド電線は、芯線と、前記芯線の外周を覆う絶縁被覆と、前記絶縁被覆の外周を覆うシールド部材と、を有し、前記ワイヤハーネスは、前記芯線同士が接続されている芯線接続部と、前記芯線接続部の外周を覆う絶縁部と、前記絶縁部の外周を覆いつつ前記シールド部材同士が接続されているシールド接続部と、前記シールド接続部の外周を覆いつつ内側に接着剤が設けられる外装部と、前記複数のシールド電線のうち隣り合う2つのシールド電線の間に介在されつつ前記外装部内の前記接着剤を封止するスペーサと、を備える。
【0010】
同構成によれば、スペーサによって、隣り合う2つのシールド電線の間から接着剤が外装部外に溶け出すことが抑制される。よって、高温環境下においても高い防水性を確保することができる。
(【0011】以降は省略されています)
この特許をJ-PlatPat(特許庁公式サイト)で参照する
関連特許
個人
単極モータ
13日前
株式会社アイシン
ロータ
17日前
株式会社アイシン
ロータ
13日前
日本精機株式会社
サージ保護回路
20日前
日星電気株式会社
ケーブル組立体
5日前
トヨタ自動車株式会社
固定子
18日前
株式会社デンソー
回転機
11日前
個人
連続ガウス加速器形磁力増幅装置
20日前
トヨタ自動車株式会社
製造装置
18日前
東京瓦斯株式会社
通信装置
19日前
株式会社アイシン
ステータ
17日前
株式会社ミツバ
ブラシレスモータ
19日前
株式会社ダイヘン
充電装置
17日前
株式会社アイシン
ステータ
17日前
株式会社ダイヘン
充電装置
17日前
個人
太陽エネルギー収集システム
18日前
株式会社ダイヘン
充電装置
17日前
カヤバ株式会社
筒型リニアモータ
19日前
株式会社アイシン
ステータ
17日前
株式会社ダイヘン
充電装置
17日前
株式会社アイシン
ステータ
17日前
株式会社kaisei
発電システム
13日前
個人
二次電池繰返パルス放電器用印刷基板
3日前
トヨタ自動車株式会社
被膜形成装置
18日前
株式会社デンソー
電力変換装置
4日前
ASTI株式会社
電力変換装置
18日前
株式会社デンソー
電力変換装置
12日前
株式会社ミツバ
回転電機
17日前
東京瓦斯株式会社
給電システム
19日前
株式会社ダイヘン
電力変換装置
20日前
株式会社ダイヘン
電力システム
20日前
株式会社ミツバ
回転電機
10日前
株式会社アイシン
回転電機
20日前
大和ハウス工業株式会社
システム
19日前
シャープ株式会社
表示装置
18日前
株式会社デンソー
非接触受電装置
6日前
続きを見る
他の特許を見る