TOP
|
特許
|
意匠
|
商標
特許ウォッチ
Twitter
他の特許を見る
10個以上の画像は省略されています。
公開番号
2025179627
公報種別
公開特許公報(A)
公開日
2025-12-10
出願番号
2024086509
出願日
2024-05-28
発明の名称
止水構造
出願人
ジオスター株式会社
,
日本製鉄株式会社
代理人
個人
,
個人
,
個人
,
個人
,
個人
主分類
E04B
1/684 20060101AFI20251203BHJP(建築物)
要約
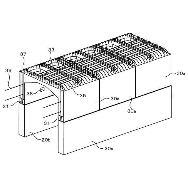
【課題】コンクリート部材同士の接続部において、高い水密性と施工性を備えた止水構造を提供する。
【解決手段】一対のコンクリート部材の接続部における止水構造であって、前記一対のコンクリート部材が目地部を挟んで互いに対向する一対の接続面と、前記目地部に挿入された止水シール部材と、前記目地部に充填された経時性硬化材と、を含み、前記一対の接続面にはそれぞれ凹凸部が設けることにより、前記接続面と前記目地部の境界において浸入水に対する迂回抵抗経路が構成され、前記止水シール部材の外面は、前記一対のコンクリート部材と前記経時性硬化材により全面を覆われている。
【選択図】図14
特許請求の範囲
【請求項1】
一対のコンクリート部材の接続部における止水構造であって、
前記一対のコンクリート部材が目地部を挟んで互いに対向する一対の接続面と、
前記目地部に挿入された止水シール部材と、
前記目地部に充填された経時性硬化材と、を含み、
前記一対の接続面にはそれぞれ凹凸部が設けることにより、前記接続面と前記目地部の境界において浸入水に対する迂回抵抗経路が構成され、
前記止水シール部材の外面は、前記一対のコンクリート部材と前記経時性硬化材により全面を覆われていることを特徴とする、止水構造。
続きを表示(約 590 文字)
【請求項2】
前記一対のコンクリート部材には、前記接続面に交差する方向にPC鋼棒が貫通して設けられ、
前記PC鋼棒に緊張力を付与することにより、前記止水シール部材及び前記目地部に圧縮力を付与することを特徴とする、請求項1に記載の止水構造。
【請求項3】
前記止水シール部材は、一対の前記接続面のそれぞれに貼り付けられた一対のシール部材部分から構成され、
前記一対のシール部材部分が突き合わされた状態で一体化された状態で前記経時性硬化材に覆われることを特徴とする、請求項1又は2に記載の止水構造。
【請求項4】
前記一対の接続面のうち、一方の接続面には第1の溝状の凹部が設けられ、他方の接続面には前記第1の溝状の凹部に対向する位置に第2の溝状の凹部が設けられ、
前記第1の溝状の凹部と前記第2の溝状の凹部とを突き合わせて形成される略円柱状の溝を含む目地部が構成されることを特徴とする、請求項1又は2に記載の止水構造。
【請求項5】
前記一対の接続面のうち、一方の接続面には溝状の凹部が設けられ、他方の接続面には前記溝状の凹部に対向する位置に段状の凸部が設けられ、
前記目地部は、前記溝状の凹部と前記段状の凸部に挟まれて鍵穴状に屈曲して構成されることを特徴とする、請求項1又は2に記載の止水構造。
発明の詳細な説明
【技術分野】
【0001】
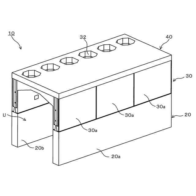
本発明は、コンクリート部材同士の接続部における止水構造に関する。
続きを表示(約 1,500 文字)
【背景技術】
【0002】
地下トンネル、共同溝、地下駐車場といった各種地下構造物や、その他コンクリート製の各種構造物を建築する場合には、複数のコンクリート部材を連結させて構造物を構築するような施工が行われる。その際、コンクリート部材として、例えば工場などで予め製作された部材、いわゆるプレキャストコンクリート部材が用いられることが知られている。
【0003】
例えば、特許文献1には、橋梁用床版を連結する際に適用されるプレキャスト板の連結構造が開示されている。特許文献1に記載の技術によれば、連結構造における回転変形の許容や、施工時の作業性の向上や、せん断力伝達の応答性を高めることなどが図られている。
【0004】
また、例えば、特許文献2には、プレキャスト鉄筋コンクリート造地下構造物の構築方法が開示されている。特許文献2に記載の技術によれば、構築された外壁の品質の向上や、構築時の工期短縮などが図られる。
【0005】
また、例えば、特許文献3には、プレキャストコンクリート部材の接合部にモルタルを充填するときのシール材が開示されている。特許文献3に記載の技術によれば、接合部の目地間隙にモルタルを充填する際に、接合部へのモルタルの浸入防止が図られる。
【先行技術文献】
【特許文献】
【0006】
特開2021-42545号公報
特開平9-279609号公報
実開平5-47216号公報
【発明の概要】
【発明が解決しようとする課題】
【0007】
上記特許文献1~3に代表されるように、プレキャストコンクリート部材同士の連結構造においては、連結部(接合部)にシール材を配置し、モルタルやグラウトといった経時性硬化材の充填が行われる。このようなコンクリート部材同士の連結を要する技術において、コンクリート継目部自体に高い遮水性及び止水性を持たせるため、現場打ちコンクリート打継目では界面に止水ゴムを内在させ、現場打ちコンクリートを繋げる方法が知られていた。また、プレキャストコンクリート打継目では、界面にシール材を配置し、PC(プレストレストコンクリート)鋼棒でシール材を圧縮する方法が知られていた。
【0008】
一般的なコンクリート部材同士の連結を要する構造物において、現場打ち用止水ゴムによる水密性は例えば0.5MPa程度、プレキャスト用シール材による水密性は例えば0.3MPa程度である。しかしながら、例えば製鉄所内のコークス炉の煙道といった特殊な設備構造物では、より高い水密性が求められる。具体的には、例えば1.0MPa程度の水密性と、構築時の省人・省力化や工期短縮が求められる。
【0009】
上記事情に鑑み、本発明の目的は、コンクリート部材同士の接続部において、高い水密性と施工性を備えた止水構造を提供することにある。
【課題を解決するための手段】
【0010】
前記の目的を達成するため、本発明によれば、一対のコンクリート部材の接続部における止水構造であって、前記一対のコンクリート部材が目地部を挟んで互いに対向する一対の接続面と、前記目地部に挿入された止水シール部材と、前記目地部に充填された経時性硬化材と、を含み、前記一対の接続面にはそれぞれ凹凸部が設けることにより、前記接続面と前記目地部の境界において浸入水に対する迂回抵抗経路が構成され、前記止水シール部材の外面は、前記一対のコンクリート部材と前記経時性硬化材により全面を覆われていることを特徴とする、止水構造が提供される。
(【0011】以降は省略されています)
この特許をJ-PlatPat(特許庁公式サイト)で参照する
関連特許
ジオスター株式会社
止水構造
今日
株式会社熊谷組
床版接合構造
1か月前
株式会社熊谷組
床版継手装置、及び、床版
12日前
株式会社熊谷組
非接触給電用コイルの埋設構造
1か月前
個人
接合構造
2か月前
個人
屋台
2か月前
個人
タッチミー
2か月前
個人
野良猫ハウス
3か月前
個人
転落防止用手摺
3か月前
個人
安心補助てすり
1か月前
個人
フェンス
3か月前
個人
筋交自動設定装置
2か月前
積水樹脂株式会社
柵体
3か月前
個人
居住車両用駐車場
3か月前
個人
ベンリナアングル
2か月前
ニチハ株式会社
建築板
3か月前
個人
熱抵抗多層断熱建材
3か月前
個人
免震建築構造
5日前
個人
柵
4か月前
個人
補強部材
3か月前
株式会社フジタ
合成床
5日前
個人
身体用シェルター
2か月前
鹿島建設株式会社
壁体
3か月前
個人
防災建築物
1か月前
個人
住宅の省エネ方法
1日前
株式会社シンケン
住宅
1か月前
個人
身体用シェルター
2か月前
成友建設株式会社
建物
3か月前
三協立山株式会社
構造体
2か月前
株式会社熊谷組
木質材料
2か月前
インターマン株式会社
天井構造
3か月前
株式会社熊谷組
床構成材
2か月前
三協立山株式会社
構造体
2か月前
三協立山株式会社
構造体
2か月前
三協立山株式会社
構造体
2か月前
三協立山株式会社
構造体
2か月前
続きを見る
他の特許を見る