TOP
|
特許
|
意匠
|
商標
特許ウォッチ
Twitter
他の特許を見る
10個以上の画像は省略されています。
公開番号
2025179220
公報種別
公開特許公報(A)
公開日
2025-12-09
出願番号
2025154773,2023200741
出願日
2025-09-18,2020-03-10
発明の名称
設定装置、通信システムおよび車両通信管理方法
出願人
住友電気工業株式会社
,
住友電装株式会社
,
株式会社オートネットワーク技術研究所
代理人
弁理士法人ワンディ-IPパ-トナ-ズ
主分類
H04L
41/0803 20220101AFI20251202BHJP(電気通信技術)
要約
【課題】ネットワークにおけるセキュリティを確保しながら、簡易な処理で新たな構成のネットワークを柔軟に構築する設定装置、通信システムおよび車両通信管理方法を提供する。
【解決手段】中継装置100Aは、1または複数の機能部を含む車載ネットワークに新たに追加された機能部である新規機能部(車載ECU111E)の認証結果を取得する認証結果取得部と、認証結果取得部が取得した認証結果が肯定的である場合、新規機能部が追加される前の車載ネットワークに含まれる機能部である既存機能部と、新規機能部とが、機能部間の情報を中継可能な複数の中継装置を介して通信を行うための、中継装置、既存機能部および新規機能部のうちの少なくともいずれか1つに関する設定処理を行う設定部と、を備える。
【選択図】図11
特許請求の範囲
【請求項1】
1または複数の機能部を含む車載ネットワークに新たに追加された機能部である新規機能部の認証結果を取得する取得部と、
前記取得部によって取得された前記認証結果が肯定的である場合、前記新規機能部が追加される前の前記車載ネットワークに含まれる機能部である既存機能部と、前記新規機能部とが前記機能部間の情報を中継可能な複数の中継装置を介して通信を行うための、前記中継装置、前記既存機能部および前記新規機能部のうちの少なくともいずれか1つに関する設定処理を行うことが可能な設定部とを備える、設定装置。
続きを表示(約 1,500 文字)
【請求項2】
前記設定装置は、さらに、
前記車載ネットワークにおける各前記機能部が通信を行うための設定情報を記憶する記憶部を備え、
前記設定部は、前記記憶部における前記設定情報に基づいて、前記設定処理を行う、請求項1に記載の設定装置。
【請求項3】
前記設定部は、前記車載ネットワークにおける各前記機能部が通信を行うための設定情報を前記各機能部へ送信するための仮想ネットワークを用いて前記設定処理を行う、請求項1または請求項2に記載の設定装置。
【請求項4】
前記設定部は、前記設定処理として、前記新規機能部と前記新規機能部の通信対象である1または複数の前記既存機能部とが通信を行うための新たな仮想ネットワークを構築する処理を行う、請求項1から請求項3のいずれか1項に記載の設定装置。
【請求項5】
前記設定部は、前記新規機能部の通信対象である1または複数の前記既存機能部のみで通信を行うための仮想ネットワークである既存仮想ネットワークが構築されている場合、前記設定処理として、前記既存仮想ネットワークを用いて前記新規機能部と前記通信対象である1または複数の前記既存機能部とが通信を行うための、前記新規機能部および前記中継装置に関する設定処理を行う、請求項1から請求項3のいずれか1項に記載の設定装置。
【請求項6】
設定装置と、
1または複数の機能部を含む車載ネットワークに新たに追加された機能部である新規機能部とを備え、
前記設定装置は、前記新規機能部から送信された、前記新規機能部の通信対象である前記機能部を特定可能な情報を取得し、
前記設定装置は、前記新規機能部の認証結果を取得し、
前記設定装置は、取得した前記認証結果が肯定的である場合、前記通信対象である前記機能部と前記新規機能部とが前記機能部間の情報を中継可能な複数の中継装置を介して通信を行うための設定情報を前記新規機能部へ送信し、
前記新規機能部は、前記設定装置から受信した前記設定情報に基づいて、自己の設定を行う、通信システム。
【請求項7】
設定装置における車両通信管理方法であって、
1または複数の機能部を含む車載ネットワークに新たに追加された機能部である新規機能部の認証結果を取得するステップと、
取得した前記認証結果が肯定的である場合、前記新規機能部が追加される前の前記車載ネットワークに含まれる機能部である既存機能部と、前記新規機能部とが前記機能部間の情報を中継可能な複数の中継装置を介して通信を行うための、前記中継装置、前記既存機能部および前記新規機能部のうちの少なくともいずれか1つに関する設定処理を行うステップとを含む、車両通信管理方法。
【請求項8】
設定装置と、1または複数の機能部を含む車載ネットワークに新たに追加された機能部である新規機能部とを備える通信システムにおける車両通信管理方法であって、
前記設定装置が、前記新規機能部から送信された、前記新規機能部の通信対象である前記機能部を特定可能な情報を取得するステップと、
前記設定装置が、前記新規機能部の認証結果を取得するステップと、
前記設定装置が、取得した前記認証結果が肯定的である場合、前記通信対象である前記機能部と前記新規機能部とが前記機能部間の情報を中継可能な複数の中継装置を介して通信を行うための設定情報を前記新規機能部へ送信するステップと、
前記新規機能部が、前記設定装置から受信した前記設定情報に基づいて、自己の設定を行うステップとを含む、車両通信管理方法。
発明の詳細な説明
【技術分野】
【0001】
本開示は、設定装置、通信システムおよび車両通信管理方法に関する。
この出願は、2019年5月30日に出願された日本出願特願2019-101427号を基礎とする優先権を主張し、その開示のすべてをここに取り込む。
続きを表示(約 2,800 文字)
【背景技術】
【0002】
特許文献1(特開2008-59450号公報)には、以下のような車両情報書換えシステムが開示されている。すなわち、車両情報書換えシステムは、CPUからなる主制御部を有し、自動車上に搭載される電子機器の制御処理を前記主制御部による予め定められたソフトウェアの実行に基づいて実施する車両用制御ユニットに対し、通信手段を介してデータ送信元として機能する書換えツールを着脱可能に接続し、前記車両用制御ユニット側に不揮発性メモリとして設けられ、前記ソフトウェアを含む車両情報を格納する車両情報格納部の記憶内容を、前記通信手段を介して前記書換え用ツールから転送される書換え用データに基づいて書き換える車両情報書換えシステムにおいて、前記書換えツールに、前記車両情報格納部の記憶内容の書換え動作が許容される書換え許可モードと、該書換え許可モードよりも前記書換え動作が制限される書換え制限モードとを切り替え設定する動作モード切替手段と、当該書換えツールを用いた書換え作業時において、該書換えツールの使用資格者に付随するべき無線認証媒体を検出するために、該無線認証媒体を無線ポーリングする無線ポーリング手段と、 前記無線ポーリングによる前記無線認証媒体の検出成功を前提条件として、前記動作モード切替手段に対し前記書換え許可モードへの切替を指令するモード切替指令手段と、を設けたことを特徴とする。
【0003】
また、特許文献2(特開2003-46536号公報)には、以下のような車両用中継装置が開示されている。すなわち、車両用中継装置は、車両に構築された車載LANと、車外装置との間でデータ通信を行う通信装置との間に配置され、該通信装置を介して接続される車外装置と車載LANに接続された各種車両内電子装置との間の通信を中継する車両用中継装置であって、車外装置から前記車載LAN内の車両内電子装置へのアクセス要求があると、そのアクセス先を識別すると共に、該識別結果に基づいて、該アクセス要求が車外装置の認証を必要とする前記車両内電子装置へのアクセス要求であるか否かを判断する第一識別手段と、前記第一識別手段が、前記アクセス要求を前記車外装置の認証を必要とするものであると判断すると、前記車外装置から送信されてきた第一の認証情報に基づき、前記車外装置が予め前記車両内電子装置へのアクセスを許可された車外装置であるか否かを判断する第一認証手段と、該第一認証手段が、前記アクセス要求してきた車外装置を予め前記車両内電子装置へのアクセスを許可された車外装置であると判断するか、前記第一識別手段が、前記アクセス要求を前記車外装置の認証を必要としないものであると判断すると、前記車外装置から前記通信装置を介して送信されてきた通信データを、アクセス先の前記車両内電子装置に配信する第一配信手段とを備える。
【先行技術文献】
【特許文献】
【0004】
特開2008-59450号公報
特開2003-46536号公報
【発明の概要】
【0005】
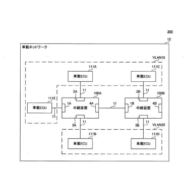
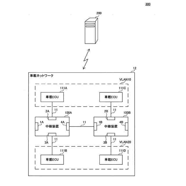
本開示の設定装置は、1または複数の機能部を含む車載ネットワークに新たに追加された機能部である新規機能部の認証結果を取得する取得部と、前記取得部によって取得された前記認証結果が肯定的である場合、前記新規機能部が追加される前の前記車載ネットワークに含まれる機能部である既存機能部と、前記新規機能部とが前記機能部間の情報を中継可能な複数の中継装置を介して通信を行うための、前記中継装置、前記既存機能部および前記新規機能部のうちの少なくともいずれか1つに関する設定処理を行うことが可能な設定部とを備える。
【0006】
本開示の通信システムは、設定装置と、1または複数の機能部を含む車載ネットワークに新たに追加された機能部である新規機能部とを備え、前記設定装置は、前記新規機能部から送信された、前記新規機能部の通信対象である前記機能部を特定可能な情報を取得し、前記設定装置は、前記新規機能部の認証結果を取得し、前記設定装置は、取得した前記認証結果が肯定的である場合、前記新規機能部が追加される前の前記車載ネットワークに含まれる機能部である既存機能部と、前記新規機能部とが前記機能部間の情報を中継可能な複数の中継装置を介して通信を行うための設定情報を前記新規機能部へ送信し、前記新規機能部は、前記設定装置から受信した前記設定情報に基づいて、自己の設定を行う。
【0007】
本開示の車両通信管理方法は、設定装置における車両通信管理方法であって、1または複数の機能部を含む車載ネットワークに新たに追加された機能部である新規機能部の認証結果を取得するステップと、取得した前記認証結果が肯定的である場合、前記新規機能部が追加される前の前記車載ネットワークに含まれる機能部である既存機能部と、前記新規機能部とが前記機能部間の情報を中継可能な複数の中継装置を介して通信を行うための、前記中継装置、前記既存機能部および前記新規機能部のうちの少なくともいずれか1つに関する設定処理を行うステップとを含む。
【0008】
本開示の車両通信管理方法は、設定装置と、1または複数の機能部を含む車載ネットワークに新たに追加された機能部である新規機能部とを備える通信システムにおける車両通信管理方法であって、前記設定装置が、前記新規機能部から送信された、前記新規機能部の通信対象である前記機能部を特定可能な情報を取得するステップと、前記設定装置が、前記新規機能部の認証結果を取得するステップと、前記設定装置が、取得した前記認証結果が肯定的である場合、前記新規機能部が追加される前の前記車載ネットワークに含まれる機能部である既存機能部と、前記新規機能部とが前記機能部間の情報を中継可能な複数の中継装置を介して通信を行うための設定情報を前記新規機能部へ送信するステップと、前記新規機能部が、前記設定装置から受信した前記設定情報に基づいて、自己の設定を行うステップとを含む。
【0009】
本開示の一態様は、設定装置の一部または全部を実現する半導体集積回路として実現され得る。また、本開示の一態様は、設定装置における処理のステップをコンピュータに実行させるためのプログラムとして実現され得る。
【0010】
また、本開示の一態様は、通信システムの一部または全部を実現する半導体集積回路として実現され得る。また、本開示の一態様は、通信システムにおける処理のステップをコンピュータに実行させるためのプログラムとして実現され得る。
【図面の簡単な説明】
(【0011】以降は省略されています)
この特許をJ-PlatPat(特許庁公式サイト)で参照する
関連特許
住友電気工業株式会社
光変調器
1日前
住友電気工業株式会社
光ファイバケーブル
1日前
住友電気工業株式会社
シールドフラットケーブル
1日前
住友電気工業株式会社
巻取システムおよび巻取方法
1日前
株式会社大林組
定着具設置方法
3日前
住友電気工業株式会社
ゴム部材および鉄道車両用空気ばね
1日前
住友電気工業株式会社
粉末冶金用混合粉末、および焼結部品の製造方法
1日前
株式会社オートネットワーク技術研究所
電装品
1日前
株式会社オートネットワーク技術研究所
コネクタ
2日前
株式会社オートネットワーク技術研究所
コネクタ
2日前
株式会社オートネットワーク技術研究所
車載装置
2日前
株式会社オートネットワーク技術研究所
圧接端子
7日前
株式会社オートネットワーク技術研究所
コネクタ
7日前
株式会社オートネットワーク技術研究所
コネクタ
7日前
住友電気工業株式会社
画像データ伝送装置及び画像解析装置
7日前
株式会社オートネットワーク技術研究所
圧接端子金具及びコネクタ
7日前
住友電気工業株式会社
設定装置、通信システムおよび車両通信管理方法
3日前
株式会社オートネットワーク技術研究所
同軸コネクタ
1日前
株式会社オートネットワーク技術研究所
積層コネクタ
1日前
株式会社オートネットワーク技術研究所
位置決め部品
1日前
株式会社オートネットワーク技術研究所
基本ユニット
1日前
株式会社オートネットワーク技術研究所
同軸コネクタ
1日前
株式会社オートネットワーク技術研究所
検査内容の決定装置、決定方法、及びコンピュータプログラム
2日前
株式会社オートネットワーク技術研究所
ワイヤハーネス
7日前
個人
イヤーピース
1か月前
個人
イヤーマフ
1か月前
個人
監視カメラシステム
1か月前
キーコム株式会社
光伝送線路
1か月前
個人
スイッチシステム
1か月前
サクサ株式会社
中継装置
2か月前
個人
スキャン式車載用撮像装置
1か月前
サクサ株式会社
中継装置
2か月前
WHISMR合同会社
収音装置
3か月前
キヤノン株式会社
撮像装置
1日前
キヤノン株式会社
撮像装置
7日前
ホシデン株式会社
スピーカ
1日前
続きを見る
他の特許を見る