TOP
|
特許
|
意匠
|
商標
特許ウォッチ
Twitter
他の特許を見る
公開番号
2025174726
公報種別
公開特許公報(A)
公開日
2025-11-28
出願番号
2024081261
出願日
2024-05-17
発明の名称
保温性能可変なコンクリート養生シート
出願人
川上産業株式会社
,
五洋建設株式会社
代理人
弁理士法人平和国際特許事務所
主分類
E04G
21/02 20060101AFI20251120BHJP(建築物)
要約
【課題】打設されたコンクリートを、環境に応じた態様で適切に養生できる保温性能可変なコンクリート養生シートを提供する。
【解決手段】打設されたコンクリート1を養生するために、コンクリート表面1Sに2以上を重ねて敷設して使用されるコンクリートの養生用シート10であり、キャップフィルム21及びバックフィルム22を有する気泡シート20と、2以上の養生用シート10の層間を粘着することにより養生用シート10が重ね合わされた状態を保持する粘着層11とを備える。
【選択図】図1
特許請求の範囲
【請求項1】
打設されたコンクリートを養生するために、コンクリート打設面に2以上を重ねて敷設して使用される保温性能可変なコンクリート養生シートであって、
複数の養生用シートが重ね合わされた状態を保持する保持部を備える
ことを特徴とする保温性能可変なコンクリート養生シート。
続きを表示(約 520 文字)
【請求項2】
前記保持部は、シート表面に設けられた粘着剤、面ファスナ、ホック、及び鳩目の少なくとも1つである
ことを特徴とする請求項1に記載の保温性能可変なコンクリート養生シート。
【請求項3】
この保温性能可変なコンクリート養生シートは、複数のシートの積層体であり、
複数のシートの少なくとも1つは、気泡シートである
ことを特徴とする請求項1に記載の保温性能可変なコンクリート養生シート。
【請求項4】
この保温性能可変なコンクリート養生シートは、複数のシートの積層体であり、
複数のシートの少なくとも1つは、発泡シートである
ことを特徴とする請求項1~3のいずれかに記載の保温性能可変なコンクリート養生シート。
【請求項5】
シート本体が着色されている
ことを特徴とする請求項1~3のいずれかに記載の保温性能可変なコンクリート養生シート。
【請求項6】
コンクリート打設面側に積層された不織布、織布又は編布を備える
ことを特徴とする請求項1~3のいずれかに記載の保温性能可変なコンクリート養生シート。
発明の詳細な説明
【技術分野】
【0001】
本発明は、打設されたコンクリートを養生するために、コンクリートの表面に敷設して使用される保温性能可変なコンクリート養生シートに関する。
続きを表示(約 1,900 文字)
【背景技術】
【0002】
従来、土木構造物や建築構造物などの施工現場において、コンクリートを打設してコンクリート構造物を構築するに際しては、コンクリートの主要材料であるセメントの水和反応が十分に発揮されるように、打設されたコンクリートを養生する養生シートがあった(例えば特許文献1)。
例えば、コンクリートの品質を管理するにあたり、試験体を用意して強度試験を行うと、試験体を水中で養生した場合には、試験体を気中に放置した場合に比べて、15~30パーセントほど強度が高くなることが知られている。
【先行技術文献】
【特許文献】
【0003】
特開2019-157507号公報
【発明の概要】
【発明が解決しようとする課題】
【0004】
このため、例えば、型枠が取り外されたコンクリートは、コンクリートから水分が散逸しないように、コンクリート表面に養生シートを敷設されることが行われている。さらに、コンクリートの熱を逃がさないことも必要であるため、養生シートは、保温性能も併せ持つ必要がある。
【0005】
しかし、脱型直後のコンクリート表面は、コンクリートが持つ水分で濡れている。コンクリート表面は、乾燥するまでの間に、コンクリートが持つ水分及び温度が失われることにより、クラックが起きやすくなる。
このため、コンクリートの養生シートの素材は、不透水性かつ断熱性能が要求され、色々な材料、技術の普及が進んでいる。
しかしながら、施工現場によって温度、湿度等の環境が異なるため、養生シートは、一の現場において適切な性能であっても、他の現場において過剰な性能となり得る。このため、同一性能の養生シートを環境が異なる現場で使用すると、結果として、コストが向上する可能性がある。
【0006】
本発明は、打設されたコンクリートを、環境に応じた態様で適切に養生できる保温性能可変なコンクリート養生シートを提供することを目的とする。
【課題を解決するための手段】
【0007】
本発明の一形態は、例えば、打設されたコンクリートを養生するために、コンクリート打設面に2以上を重ねて敷設して使用される保温性能可変なコンクリート養生シートであって、複数の養生用シートが重ね合わされた状態を保持する保持部を備えることを特徴とする保温性能可変なコンクリート養生シートである。
【図面の簡単な説明】
【0008】
第1実施形態の養生用シート10を説明する断面図である。
第1実施形態の気泡シート20を説明する斜視図である。
第2実施形態の養生用シート210Aの斜視図である。
第3実施形態の養生用シート210Bの斜視図である。
第5実施形態の養生用シート210Cの縦断面図である。
第6実施形態の養生用シートに使用される気泡シート320を説明する図である。
【発明を実施するための形態】
【0009】
(実施形態)
以下、図面等を参照して、本発明の実施形態について説明する。
(第1実施形態)
図1は、第1実施形態の養生用シート10を説明する断面図である。
図1(A)は、剥離紙12を剥離しながら、3枚の養生用シート10をコンクリート1に敷設される態様を説明する図である。
図1(B)は、3枚の養生用シート10が積層されて、コンクリート1に敷設された状態を説明する図である。
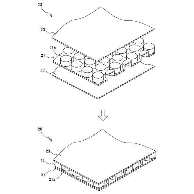
図2は、第1実施形態の気泡シート20を説明する斜視図である。
各図において、各構成の厚さは、適宜、誇張して図示した。
【0010】
図1に示すように、養生用シート10は、打設されたコンクリート1を封緘養生するために、コンクリート表面1Sに敷設して使用される。
コンクリート表面1Sには、複数の積層された養生用シート10が敷設される。なお、養生用シート10を複数積層する方法は、例えば、既に、複数積層した状態の養生用シート10をコンクリート表面1Sに敷設してもよく、また、養生用シート10を1枚ずつコンクリート表面1Sに順次重ねて敷設してもよい。作業者は、コンクリート打設現場の状況等に応じて、これらの積層方法のなかから、適宜、選択すればよい。
図1の例は、3枚の養生用シート10を積層した例であるが、作業者は、施工現場の環境の温度、湿度、脱型直後のコンクリート表面1Sの状態等に応じて、2枚以上の3枚の養生用シート10を重ね合わせて使用すればよい。
(【0011】以降は省略されています)
この特許をJ-PlatPat(特許庁公式サイト)で参照する
関連特許
川上産業株式会社
吸音シート
5か月前
川上産業株式会社
保温性能可変なコンクリート養生シート
7日前
個人
ビーズクッション
7日前
個人
接合構造
2か月前
個人
タッチミー
1か月前
個人
屋台
2か月前
個人
野良猫ハウス
3か月前
個人
転落防止用手摺
2か月前
個人
フェンス
3か月前
個人
安心補助てすり
1か月前
ニチハ株式会社
建築板
3か月前
個人
地下型マンション
5か月前
個人
筋交自動設定装置
2か月前
個人
居住車両用駐車場
3か月前
積水樹脂株式会社
柵体
2か月前
個人
ベンリナアングル
1か月前
個人
熱抵抗多層断熱建材
3か月前
個人
免震建築構造
今日
個人
鋼管結合資材
5か月前
個人
柵
3か月前
個人
補強部材
3か月前
株式会社フジタ
合成床
今日
個人
身体用シェルター
2か月前
個人
循環流水式屋根融雪装置
5か月前
個人
防災建築物
1か月前
成友建設株式会社
建物
3か月前
個人
身体用シェルター
2か月前
鹿島建設株式会社
壁体
3か月前
株式会社シンケン
住宅
1か月前
インターマン株式会社
天井構造
3か月前
個人
可搬型供養墓
2か月前
三協立山株式会社
構造体
2か月前
三協立山株式会社
構造体
2か月前
三協立山株式会社
構造体
2か月前
株式会社熊谷組
吊り治具
2か月前
三協立山株式会社
構造体
2か月前
続きを見る
他の特許を見る