TOP
|
特許
|
意匠
|
商標
特許ウォッチ
Twitter
他の特許を見る
公開番号
2025166776
公報種別
公開特許公報(A)
公開日
2025-11-06
出願番号
2024165646
出願日
2024-09-24
発明の名称
セグメント
出願人
株式会社鈴木エンタープライズ
代理人
個人
,
個人
,
個人
,
個人
主分類
E21D
11/08 20060101AFI20251028BHJP(地中もしくは岩石の削孔;採鉱)
要約
【課題】分離設計が可能であり、且つ枠体とコンクリートとの間にずれが生じることを抑制することができるセグメントを提供すること。
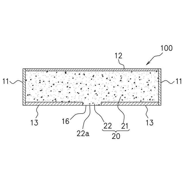
【解決手段】本発明は、中空部を有する箱状の枠体と、中空部に打設されたコンクリート20とを備えたセグメント100において、枠体が、対向する一対の主桁板11と、両方の主桁板11の外側端にそれぞれ溶接された外板12と、両方の主桁板11の内側端にそれぞれ溶接された底板13と、両方の主桁板11、外板12及び底板13の両側端にそれぞれ溶接された継手板と、を有し、底板13には、周方向に延設された開口部16が設けられており、コンクリート20が、本体部21と、該本体部21に設けられた突出部22と、を有する凸状体であり、突出部22が底板13の開口部16側の中央側端部により両側から拘止されており、突出部22の頂部22aが開口部16から露出しているセグメント100である。
【選択図】図5
特許請求の範囲
【請求項1】
中空部を有する箱状の枠体と、前記中空部に打設されたコンクリートとを備えたセグメントにおいて、
前記枠体が、対向する一対の主桁板と、両方の前記主桁板の外側端にそれぞれ溶接された外板と、両方の前記主桁板の内側端にそれぞれ溶接された底板と、両方の前記主桁板、前記外板及び前記底板の両側端にそれぞれ溶接された継手板と、を有し、
前記底板には、周方向に延設された開口部が設けられており、
前記コンクリートが、本体部と、該本体部に設けられた突出部と、を有する凸状体であり、
前記突出部が前記底板の前記開口部側の中央側端部により両側から拘止されており、
前記突出部の頂部が前記開口部から露出しているセグメント。
続きを表示(約 510 文字)
【請求項2】
前記開口部が、一方側の継手板から他方側の継手板まで延設されている請求項1記載のセグメント。
【請求項3】
前記開口部が、前記底板の軸方向における中央に設けられており、
前記開口部の軸方向における大きさが、100~500mmである請求項1記載のセグメント。
【請求項4】
前記開口部には、前記底板の前記開口部側の一方側の中央側端部と、他方側の中央側端部とに連架された連結部が設けられており、
前記連結部が鋼材若しくは鉄筋である請求項1記載のセグメント。
【請求項5】
前記連結部が鋼材である場合、
前記連結部の両側の端部が何れも開先用傾斜部となっており、一定のルート間隔をおいて前記連結部と、一方側の前記底板及び他方側の前記底板とがそれぞれ溶接されている請求項4記載のセグメント。
【請求項6】
前記底板には、複数の空気抜穴が設けられている請求項1記載のセグメント。
【請求項7】
前記突出部の前記頂部から内方に延びる、注入孔、又は、把持孔、が前記コンクリートに設けられている請求項1記載のセグメント。
発明の詳細な説明
【技術分野】
【0001】
本発明は、シールド工法、推進工法、非開削トンネル工法、アーバンリング工法(分割組立型土留壁工法)に使用するセグメントに関する。
続きを表示(約 1,800 文字)
【背景技術】
【0002】
セグメントは、コンクリート製とスチール製とに大きく分けられ、前者のコンクリート製のセグメントは圧縮に強く、後者のスチール製のセグメントは引っ張りに強いという特性を有する。
一方で、このようなコンクリート製及びスチール製のセグメントを一体化することで、これらの利点を兼ね備えた特性を有する合成セグメントが使用されている。
【0003】
このような合成セグメントとしては、例えば、鋼板から構成された枠体2と、この枠体2内に配設された主鉄筋(主鋼材)8及び配力筋20と、枠体2の内部において主鉄筋8及び配力筋20を埋没するように打設されたコンクリート3(図1および図2参照)とからなる合成セグメントが知られている(特許文献1参照)。
【0004】
また、トンネル周方向に延び合成セグメント11の坑口側端面と切羽側端面に位置する一対の主桁12、12と、トンネル軸方向に延びセグメント継手を設けた継手板13、13と、これら主桁12、12および継手板13、13の地山側に設けた地山側鋼板14aおよびトンネル内空側に設けた内空側鋼板14bとで鋼殻を構成し、その内側にコンクリート17を中詰めするものであり、地山側鋼板14aおよび空側鋼板14bの内側面には中詰めコンクリートとの一体性を高めるための多数のスタッドジベル16a、16bが溶接により植設されているセグメントが知られている(特許文献2参照)。
【先行技術文献】
【特許文献】
【0005】
特許第5906277号公報
特許第6242784号公報
【発明の概要】
【発明が解決しようとする課題】
【0006】
ところで、上記特許文献1記載のセグメントにおいては、枠体内部の主鉄筋及び配力筋が埋没するようにコンクリートを打設することで枠体とコンクリートとを一体化させており、上記特許文献2記載のセグメントにおいては、枠体(鋼殻)にスタッドジベルを植設し、スタッドジベルにより枠体(鋼殻)とコンクリートとを一体化させている。
すなわち、これらのセグメントは、枠体(鋼殻)とコンクリートとを一体化させて設計している。
【0007】
一方で、主鉄筋、配力筋、スタッドジベル等のような複雑な形状のアクセサリーを枠体内部に設けず、枠体と、枠体内部のコンクリートとを一体化しない場合、両者を分離して設計することが可能となる。
しかしながら、枠体とコンクリートとを分離すると、両者の間にずれが生じ易くなるという欠点がある。
なお、枠体とコンクリートとの間にずれが生じると、セグメントの剛性、耐力が低下してしまう恐れがある。
【0008】
本発明は上記事情に鑑みてなされたものであり、分離設計が可能であり、且つ枠体とコンクリートとの間にずれが生じることを抑制することができるセグメントを提供することを目的とする。
【課題を解決するための手段】
【0009】
本発明者等は、上記課題を解決するため検討したところ、枠体とコンクリートとを一体化させないことで、コンクリートに係る設計と枠体に係る設計とを分離して行うこととし、更に、コンクリートの一部を枠体の一部で直接拘止した構成、すなわち、コンクリートが応力による歪で変形しようとするも枠体で拘束された構成とすることにより、上記課題を解決し得ることを見出し、本発明を完成させるに至った。
【0010】
本発明は、中空部を有する箱状の枠体と、中空部に打設されたコンクリートとを備えたセグメントにおいて、枠体が、対向する一対の主桁板と、両方の主桁板の外側端にそれぞれ溶接された外板と、両方の主桁板の内側端にそれぞれ溶接された底板と、両方の主桁板、外板及び底板の両側端にそれぞれ溶接された継手板と、を有し、底板には、周方向に延設された開口部が設けられており、コンクリートが、本体部と、該本体部に設けられた突出部と、を有する凸状体であり、突出部が底板の開口部側の中央側端部により両側から拘止されており、突出部の頂部が開口部から露出しているセグメントである。
(【0011】以降は省略されています)
この特許をJ-PlatPat(特許庁公式サイト)で参照する
関連特許
個人
掘削機
4か月前
日特建設株式会社
切断装置
16日前
株式会社奥村組
地山探査方法
2か月前
株式会社奥村組
地山探査装置
2か月前
株式会社奥村組
地山探査装置
2か月前
株式会社奥村組
地山探査装置
2か月前
株式会社奥村組
シールド掘進機
1か月前
花王株式会社
岩盤の掘削方法
4か月前
岐阜工業株式会社
トンネルセントル
1か月前
個人
オープンシールド機
2か月前
個人
オープンシールド機
2か月前
株式会社奥村組
セグメントの組立方法
2か月前
岐阜工業株式会社
コンクリート分配装置
今日
個人
箱形ルーフおよびその施工法
1か月前
デンカ株式会社
静的破砕方法
2か月前
株式会社金澤製作所
発進坑口のエントランス装置
5か月前
地中空間開発株式会社
トンネル掘削機
28日前
個人
メタンハイドレート等海底鉱物資源の採取方法
3か月前
岐阜工業株式会社
トンネルセントルの妻板装置
2か月前
株式会社奥村組
地山探査装置に用いる地山保持材
2か月前
株式会社ケー・エフ・シー
トンネル水圧調整装置
1か月前
日鉄建材株式会社
構造物用補強リング及び構造物
1か月前
戸田建設株式会社
掘削機切削部側壁
4か月前
株式会社奥村組
先行ビットおよびそれを備える掘削機
2か月前
株式会社奥村組
先行ビットおよびそれを備える掘削機
2か月前
株式会社奥村組
シールド掘進機およびシールド掘進方法
1か月前
鹿島建設株式会社
シールド掘進機
29日前
株式会社奥村組
爆薬装填装置
29日前
株式会社トーキンオール
延伸鋼管
1か月前
株式会社横河NSエンジニアリング
合成セグメント
3か月前
鹿島建設株式会社
形状検出システム
2か月前
戸田建設株式会社
低周波地中レーダ用計測治具
3か月前
大和ハウス工業株式会社
掘削治具
4か月前
株式会社奥村組
非開削推進工法
28日前
株式会社奥村組
非開削推進工法
28日前
株式会社カテックス
注入器具および地山補強工法
23日前
続きを見る
他の特許を見る