TOP
|
特許
|
意匠
|
商標
特許ウォッチ
Twitter
他の特許を見る
公開番号
2025159665
公報種別
公開特許公報(A)
公開日
2025-10-21
出願番号
2024062425
出願日
2024-04-08
発明の名称
間仕切りユニット
出願人
DAIKEN株式会社
,
四国化成建材株式会社
代理人
弁理士法人前田特許事務所
主分類
E04B
1/343 20060101AFI20251014BHJP(建築物)
要約
【課題】屋外又は半屋外において、特定のスペースを、内部へのアクセスが制限可能で且つ内部において植物の栽培が可能なように間仕切る間仕切りユニットを提供する。
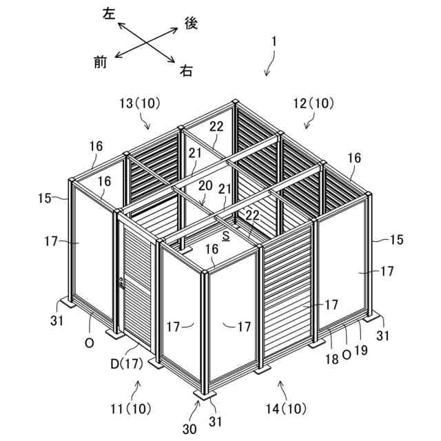
【解決手段】間仕切ユニット1は、内部スペースSの4つの側面を閉塞する4つの壁面部10を備える。各壁面部10は、間隔を空けて立設された3本以上の柱15と、隣り合う各2本の柱15の上端部を接続する複数の上桟16と、隣り合う各2本の柱15の間の上桟16の下方を覆う複数の面材17とを有している。複数の面材17の少なくとも1つは、施錠可能な扉Dで構成され、2組の対向する2つの壁面部10からなる壁面部対の少なくとも一方の各壁面部10は、少なくとも1つの面材17がルーバーで構成されている。複数の面材17のうちの扉D以外の面材17の少なくとも1つの下方には、設置面Gとの間に、給水管及び電気配線が挿通可能な開口部Oが形成されている。
【選択図】図1
特許請求の範囲
【請求項1】
屋外又は半屋外において平面視矩形状の内部スペースを間仕切る間仕切ユニットであって、
上記内部スペースの4つの側面を閉塞する4つの壁面部を備え、
上記各壁面部は、
間隔を空けて立設された3本以上の柱と、
隣り合う各2本の上記柱の上端部を接続する複数の上桟と、
隣り合う各2本の上記柱の間の上記上桟の下方を覆う複数の面材とを有し、
隣り合う各2つの上記壁面部の角部では、該2つの壁面部が1本の上記柱を共有し、
上記複数の面材の少なくとも1つは、施錠可能な扉で構成され、
2組の対向する2つの上記壁面部からなる壁面部対の少なくとも一方の各壁面部は、少なくとも1つの上記面材がルーバーで構成され、
上記複数の面材のうちの上記扉以外の面材の少なくとも1つの下方には、設置面との間に、給水管及び電気配線が挿通可能な開口部が形成されている
ことを特徴とする間仕切りユニット。
続きを表示(約 520 文字)
【請求項2】
請求項1に記載の間仕切りユニットにおいて、
上記開口部は、上記複数の面材のうちの上記扉以外の面材全ての下方に形成されている
ことを特徴とする間仕切りユニット。
【請求項3】
請求項2に記載の間仕切りユニットにおいて、
上記複数の面材のうちの上記扉以外の面材全ての下方に、該面材の両側の2本の上記柱を接続する下桟が設けられ、
全ての上記下桟の下方に、該下桟が接続する2本の上記柱の下端部を接続する補強桟が設けられ、
上記開口部は、上記下桟と上記補強桟との間に形成されている
ことを特徴とする間仕切りユニット。
【請求項4】
請求項1~3のいずれか1つに記載の間仕切りユニットにおいて、
上記複数の面材のうちの上記扉以外の面材は、全てルーバーで構成され、
上記扉の戸板は、ルーバーで構成されている
ことを特徴とする間仕切りユニット。
【請求項5】
請求項1~3のいずれか1つに記載の間仕切りユニットにおいて、
上記複数の面材は、全て外寸法が等しいものである
ことを特徴とする間仕切りユニット。
発明の詳細な説明
【技術分野】
【0001】
本発明は、屋外や半屋外に設置される間仕切りユニットに関するものである。
続きを表示(約 1,700 文字)
【背景技術】
【0002】
従来、オフィスビルや集合住宅等の建物の屋上等の屋外や専有部でない共用のベランダ等の半屋外において、地面に直に又は床面に載置されたプランターに植物を植えることにより、屋外や半屋外の緑化が図られている(例えば、下記の特許文献1を参照)。
【0003】
下記の特許文献1には、建物の屋上等の床面に、複数のプランターを載置し、複数のプランターで植物を生育することにより、屋上を緑化する設備が開示されている。
【先行技術文献】
【特許文献】
【0004】
特開2011-72194号公報
【発明の概要】
【発明が解決しようとする課題】
【0005】
ところで、屋外又は半屋外に緑化のために設けられた植物でも、管理上の都合で、人のアクセスを制限したい場合がある。例えば、集合住宅等の屋上の一部に複数のプランターを設置し、野菜や果物を栽培可能な菜園として利用する場合、栽培者以外の人が栽培対象(野菜や果物)に触れられないように、人のアクセスを制限する必要がある。
【0006】
しかしながら、屋外又は半屋外において、特定のスペースを内部において植物の栽培が可能なように間仕切る間仕切りユニットは存在しなかった。そのため、建物の屋上の一部のスペースを、例えば貸菜園等として利用しようとしても、菜園への人の出入りを制限することができなかった。
【0007】
本発明は、かかる点に鑑みてなされたものであり、その目的は、屋外又は半屋外において、特定のスペースを、内部へのアクセスが制限可能で且つ内部において植物の栽培が可能なように間仕切る間仕切りユニットを提供することにある。
【課題を解決するための手段】
【0008】
上記の目的を達成するために、この発明では、屋外又は半屋外において平面視矩形状のスペースを4つの壁面部で間仕切ることとし、施錠可能な扉を設けて内部スペースへのアクセスが制限できるようにし、天井を設けず、対向する壁面部にルーバーを設け、給水管及び電気配線を挿通可能な開口部を設けることとした。
【0009】
具体的には、第1の発明は、屋外又は半屋外において平面視矩形状の内部スペースを間仕切る間仕切ユニットであって、上記内部スペースの4つの側面を閉塞する4つの壁面部を備え、上記各壁面部は、間隔を空けて立設された3本以上の柱と、隣り合う各2本の上記柱の上端部を接続する複数の上桟と、隣り合う各2本の上記柱の間の上記上桟の下方を覆う複数の面材とを有し、隣り合う各2つの上記壁面部の角部では、該2つの壁面部が1本の上記柱を共有し、上記複数の面材の少なくとも1つは、施錠可能な扉で構成され、2組の対向する2つの上記壁面部からなる壁面部対の少なくとも一方の各壁面部は、少なくとも1つの上記面材がルーバーで構成され、上記複数の面材のうちの上記扉以外の面材の少なくとも1つの下方には、設置面との間に、給水管及び電気配線が挿通可能な開口部が形成されていることを特徴とする。
【0010】
第1の発明に係る間仕切りユニットによれば、面材の1つが施錠可能な扉で構成された4つの壁面部により、屋外又は半屋外の特定のスペースを、内部へのアクセスが制限可能に間仕切ることができる。また、上記間仕切りユニットによれば、天井を設けないことにより、内部スペースに十分な日光を取り込むことができ、対向する2つの壁面部にルーバーを設けることとしているため、内部スペースへの通風性が確保される。さらに、上記間仕切りユニットによれば、給水管及び電気配線を挿通可能な開口部を予め設けておくことにより、内部スペースに給水設備や照明等の電気機器を容易に設置することができる。つまり、上記間仕切りユニットによれば、屋外又は半屋外において、採光性及び通風性に優れた植物の栽培に適した環境(内部スペース)を、内部へのアクセスが制限可能に間仕切ることができる。
(【0011】以降は省略されています)
この特許をJ-PlatPat(特許庁公式サイト)で参照する
関連特許
DAIKEN株式会社
間仕切りユニット
10日前
個人
接合構造
25日前
個人
屋台
1か月前
個人
タッチミー
24日前
個人
野良猫ハウス
1か月前
個人
安心補助てすり
8日前
個人
転落防止用手摺
1か月前
個人
フェンス
2か月前
個人
居住車両用駐車場
2か月前
個人
ベンリナアングル
24日前
積水樹脂株式会社
柵体
1か月前
ニチハ株式会社
建築板
2か月前
個人
筋交自動設定装置
1か月前
個人
熱抵抗多層断熱建材
1か月前
個人
柵
2か月前
個人
補強部材
1か月前
個人
防災建築物
14日前
個人
身体用シェルター
1か月前
株式会社シンケン
住宅
9日前
鹿島建設株式会社
壁体
2か月前
成友建設株式会社
建物
1か月前
個人
身体用シェルター
1か月前
三協立山株式会社
構造体
1か月前
三洋工業株式会社
床構造
9日前
三協立山株式会社
構造体
1か月前
インターマン株式会社
天井構造
2か月前
株式会社熊谷組
床構成材
22日前
三協立山株式会社
構造体
1か月前
三協立山株式会社
構造体
1か月前
三協立山株式会社
構造体
1か月前
三協立山株式会社
構造体
1か月前
三協立山株式会社
構造体
9日前
株式会社大林組
接合構造
4日前
株式会社熊谷組
木質材料
1か月前
個人
可搬型供養墓
1か月前
株式会社熊谷組
吊り治具
29日前
続きを見る
他の特許を見る