TOP
|
特許
|
意匠
|
商標
特許ウォッチ
Twitter
他の特許を見る
公開番号
2025158653
公報種別
公開特許公報(A)
公開日
2025-10-17
出願番号
2024061407
出願日
2024-04-05
発明の名称
熱分解ガス化システム
出願人
荏原環境プラント株式会社
代理人
個人
,
個人
,
個人
主分類
F23G
5/027 20060101AFI20251009BHJP(燃焼装置;燃焼方法)
要約
【課題】熱分解炉内の温度を制御することで、目的とする熱分解生成物の収率を上げることができる熱分解ガス化システムを提供する。
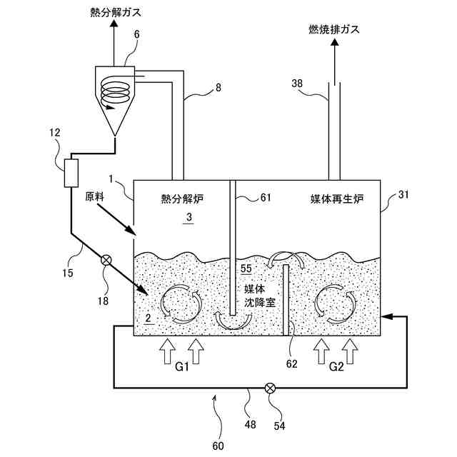
【解決手段】熱分解ガス化システムは、平均粒径が異なる大径粒子および小径粒子との混合物からなる流動媒体の熱により原料を熱分解する熱分解炉1と、熱分解炉1から排出された熱分解ガス中に含まれる小径粒子を捕集する固気分離装置6と、固気分離装置6によって捕集された小径粒子を加熱する加熱装置12と、加熱装置12によって加熱された小径粒子を熱分解炉1に戻す粒子戻りライン15を備えている。
【選択図】図1
特許請求の範囲
【請求項1】
原料を熱分解するための熱分解ガス化システムであって、
平均粒径が異なる大径粒子および小径粒子との混合物からなる流動媒体の熱により前記原料を熱分解する熱分解炉と、
前記熱分解炉から排出された熱分解ガス中に含まれる前記小径粒子を捕集する固気分離装置と、
前記固気分離装置によって捕集された前記小径粒子を加熱する加熱装置と、
前記加熱装置によって加熱された前記小径粒子を前記熱分解炉に戻す粒子戻りラインを備えている、熱分解ガス化システム。
続きを表示(約 1,400 文字)
【請求項2】
前記粒子戻りラインに取り付けられ、前記熱分解炉からの気体の逆流を防止するガスシール装置をさらに備えている、請求項1に記載の熱分解ガス化システム。
【請求項3】
前記固気分離装置は、粒径が20μm~40μmの範囲内の粒子を捕捉するように構成されている、請求項1に記載の熱分解ガス化システム。
【請求項4】
原料を熱分解するための熱分解ガス化システムであって、
平均粒径が異なる大径粒子および小径粒子との混合物からなる流動媒体の熱により前記原料を熱分解する熱分解炉と、
前記流動媒体を流動化させながら、前記原料の残渣を燃焼させる媒体再生炉と、
前記熱分解炉から排出された熱分解ガス中に含まれる前記小径粒子を捕集する第1固気分離装置と、
前記第1固気分離装置によって捕集された前記小径粒子を前記媒体再生炉に戻す第1粒子戻りラインと、
前記媒体再生炉から排出された燃焼排ガス中に含まれる前記小径粒子を捕集する第2固気分離装置と、
前記第2固気分離装置によって捕集された前記小径粒子を前記熱分解炉に戻す第2粒子戻りラインを備えている、熱分解ガス化システム。
【請求項5】
前記第1粒子戻りラインに取り付けられ、前記媒体再生炉からの気体の逆流を防止する第1ガスシール装置と、
前記第2粒子戻りラインに取り付けられ、前記熱分解炉からの気体の逆流を防止する第2ガスシール装置をさらに備えている、請求項4に記載の熱分解ガス化システム。
【請求項6】
前記熱分解炉と前記媒体再生炉とを連結する媒体沈降室をさらに備え、
前記熱分解炉、前記媒体再生炉、および前記媒体沈降室は、1つの流動床炉内に形成されており、前記熱分解炉と前記媒体沈降室との間には第1仕切り壁が設けられ、前記媒体再生炉と前記媒体沈降室との間には第2仕切り壁が設けられている、請求項4に記載の熱分解ガス化システム。
【請求項7】
前記第1固気分離装置および前記第2固気分離装置は、粒径が20μm~40μmの範囲内の粒子を捕捉するように構成されている、請求項4に記載の熱分解ガス化システム。
【請求項8】
原料を熱分解するための熱分解ガス化システムであって、
平均粒径が異なる大径粒子および小径粒子との混合物からなる流動媒体の熱により前記原料を熱分解する熱分解炉と、
前記流動媒体を流動化させながら、前記原料の残渣を燃焼させる媒体再生炉と、
前記熱分解炉と前記媒体再生炉とを連結する媒体沈降室と、
前記熱分解炉から排出された熱分解ガス中に含まれる前記小径粒子を捕集する固気分離装置と、
前記固気分離装置によって捕集された前記小径粒子を前記媒体沈降室に戻す粒子戻りラインを備えている、熱分解ガス化システム。
【請求項9】
前記粒子戻りラインに取り付けられ、前記媒体沈降室からの気体の逆流を防止するガスシール装置をさらに備えている、請求項8に記載の熱分解ガス化システム。
【請求項10】
前記固気分離装置は、粒径が20μm~40μmの範囲内の粒子を捕捉するように構成されている、請求項8に記載の熱分解ガス化システム。
(【請求項11】以降は省略されています)
発明の詳細な説明
【技術分野】
【0001】
本発明は、原料を熱分解炉内で熱分解する熱分解ガス化システムに関し、特に熱分解炉内の温度を制御する技術に関する。
続きを表示(約 1,900 文字)
【背景技術】
【0002】
都市ごみ、産業廃棄物などの原料を熱分解後、ガス化する処理システムとして、特許文献1,2に開示されている流動床炉がある。これらの特許文献に記載されている流動床炉は、その内部が仕切壁で熱分解炉と媒体再生炉に分けられ、熱分解炉と媒体再生炉との間を流動媒体が循環している。このような流動床炉は内部循環流動床ガス化システムとして知られている。
【0003】
地球温暖化防止の観点から、廃プラスチックを熱分解して油を回収する要請が高まっている(特許文献3,4)。しかしながら、油を高い収率で回収することは難しく、商業的に成功している例はほとんどないのが実情である。上述した内部循環流動床ガス化システムは、廃プラスチックを熱分解炉内で加熱して熱分解し、常温・常圧で液体である有機化合物、すなわち油を熱分解生成物として回収することができる技術として期待されている。
【0004】
特に熱分解炉と媒体再生炉を仕切る構造を有する流動床ガス化システムは、高濃度の熱分解生成物を回収することができる。すなわち、熱分解炉に投入された原料は、流動床で熱分解され、揮発分と残渣(炭化物など)に分離される。残渣は流動媒体と共に媒体再生炉に運ばれ、そこで媒体再生炉の下部から投入された空気により燃焼される。媒体再生炉で加熱された流動媒体は、再び熱分解炉に移動することにより、熱分解反応の熱源として機能する。熱分解炉で発生した揮発分は、媒体再生炉で発生した燃焼排ガスを含まずに生成物として回収できるため、高濃度の熱分解生成物として回収が可能になる。
【0005】
地球温暖化防止の観点から、この回収された熱分解生成物を化学原料などに利用するケミカルリサイクルの普及が期待されている。しかし、ケミカルリサイクルの課題として化合物の収率が挙げられる。化学原料としては、求められる化合物の種類が限定されることが一般的であり、そのため目的の化合物の収率を高めることが求められる。
【0006】
一方、熱分解生成物の組成は、原料と温度と滞留時間により主に支配される。廃プラスチックなどの廃棄物を原料とする場合、原料中には雑多な化合物が含まれる。このため、熱分解によって得られる生成物も多様になり、化学原料としての価値が低下する。そこで、温度と滞留時間を制御することで、生成物の組成を制御することが求められる。熱分解炉は、流動媒体を濃厚に含む濃厚層と、その濃厚層の上方にある流動媒体と多量のガスが共存するスプラッシュゾーンと、スプラッシュゾーンの上方で流動媒体をほとんど含まずガスを主体とするフリーボードで構成される。熱分解温度を制御する場合は、熱分解炉の濃厚層の温度を制御する。濃厚層の温度制御は、主に媒体再生炉から熱分解炉への熱の移動量、つまり流動媒体の循環量を調整することで達成できる。滞留時間の制御は、熱分解炉への流動化ガスの供給量を変化させることで達成できる。
【0007】
熱分解生成物の組成を一定にするためには、一定の温度を一定時間保持することが求められる。しかし、フリーボードでは吸熱反応である熱分解反応が進行すると、温度が低下し、温度を保つことが困難となる。結果として化学原料として求められる化合物の収率を向上させることが困難となっている。
【先行技術文献】
【特許文献】
【0008】
特許第4243919号公報
特許第6935482号公報
特開2002-129169号公報
特許第3611306号公報
【発明の概要】
【発明が解決しようとする課題】
【0009】
そこで、本発明は、熱分解炉内の温度を制御することで、目的とする熱分解生成物の収率を上げることができる熱分解ガス化システムを提供する。
【課題を解決するための手段】
【0010】
一態様では、原料を熱分解するための熱分解ガス化システムであって、平均粒径が異なる大径粒子および小径粒子との混合物からなる流動媒体の熱により前記原料を熱分解する熱分解炉と、前記熱分解炉から排出された熱分解ガス中に含まれる前記小径粒子を捕集する固気分離装置と、前記固気分離装置によって捕集された前記小径粒子を加熱する加熱装置と、前記加熱装置によって加熱された前記小径粒子を前記熱分解炉に戻す粒子戻りラインを備えている、熱分解ガス化システムが提供される。
(【0011】以降は省略されています)
この特許をJ-PlatPat(特許庁公式サイト)で参照する
関連特許
個人
煙突煤払い掃除機
3か月前
個人
燃焼炉の操業方法
1か月前
個人
ウッドガスストーブ
26日前
個人
形見の製造方法
1か月前
コーキ株式会社
煙突
1か月前
株式会社トヨトミ
石油燃焼器
20日前
株式会社パロマ
燃焼装置
3か月前
株式会社豊田自動織機
耐熱部材
1か月前
株式会社トヨトミ
固体燃料燃焼器
5か月前
株式会社オメガ
熱風発生装置
5か月前
三浦工業株式会社
ボイラ
4か月前
株式会社サイトウ工研
焚き火台
17日前
個人
回転キルンを利用した燻炭製造方法
4か月前
株式会社フクハラ
充填物処理方法
3か月前
株式会社タクマ
付着物除去システム
4か月前
東京パイプ株式会社
着火器具
3か月前
大陽日酸株式会社
バーナ
5か月前
大陽日酸株式会社
バーナ
5か月前
リンナイ株式会社
燃焼装置
4か月前
三浦工業株式会社
燃焼システム
17日前
株式会社アドバンテック
燃焼装置
1か月前
株式会社アドバンテック
燃焼装置
1か月前
株式会社アドバンテック
燃焼装置
1か月前
三浦工業株式会社
水素燃焼ボイラ
1か月前
大阪瓦斯株式会社
燃焼装置
19日前
山形化成工業株式会社
手持ち式着火用具
1か月前
大陽日酸株式会社
燃焼バーナ
2か月前
三菱重工業株式会社
清掃装置
25日前
個人
可燃性ガス燃焼装置
4か月前
株式会社日本サーモエナー
ガスバーナ
3か月前
トヨタ自動車株式会社
燃焼ノズル
2か月前
極東開発工業株式会社
バイオマス燃焼システム
17日前
極東開発工業株式会社
バイオマス燃焼システム
17日前
極東開発工業株式会社
バイオマス燃焼システム
17日前
極東開発工業株式会社
バイオマス燃焼システム
17日前
極東開発工業株式会社
バイオマス燃焼システム
17日前
続きを見る
他の特許を見る