TOP
|
特許
|
意匠
|
商標
特許ウォッチ
Twitter
他の特許を見る
公開番号
2025157950
公報種別
公開特許公報(A)
公開日
2025-10-16
出願番号
2024060331
出願日
2024-04-03
発明の名称
割岩工具および当該工具を用いた破砕方法
出願人
株式会社神島組
代理人
個人
,
個人
主分類
E21C
37/02 20060101AFI20251008BHJP(地中もしくは岩石の削孔;採鉱)
要約
【課題】削孔から自由面に向かう被破砕領域に対して亀裂を広範囲に導入する。
【解決手段】削孔に挿入された第1羽根部材ないし第3羽根部材に挟まれた第4内部空間に対して楔部材の第4先端部が挿入される。第4先端部は、それぞれ第1羽根部材、第2羽根部材および第3羽根部材に摺動可能な第1摺動面、第2摺動面および第3摺動面を有するとともに、削孔形成方向に進むにしたがって第2摺動面および第3摺動面が第1摺動面側に傾斜するような先細り形状を有する。削孔に沿った削孔形成方向への楔部材の移動に伴い、第2羽根部材は楔部材の第2摺動面と摺動しながら第2方向に移動して削孔の内壁を押圧するとともに、第3羽根部材は楔部材の第3摺動面と摺動しながら第3方向に移動して削孔の内壁を押圧する。このように自由面側の削孔内壁面を互いに異なる2つの方向から押圧することで、削孔から自由面に向かう被破砕領域に亀裂が導入される。
【選択図】図3
特許請求の範囲
【請求項1】
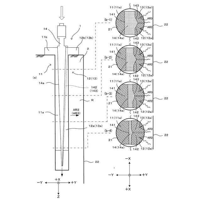
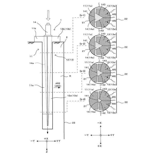
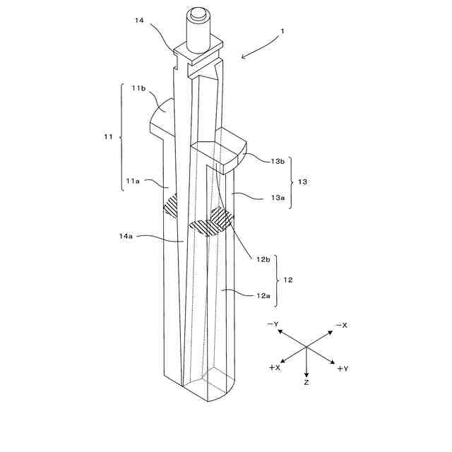
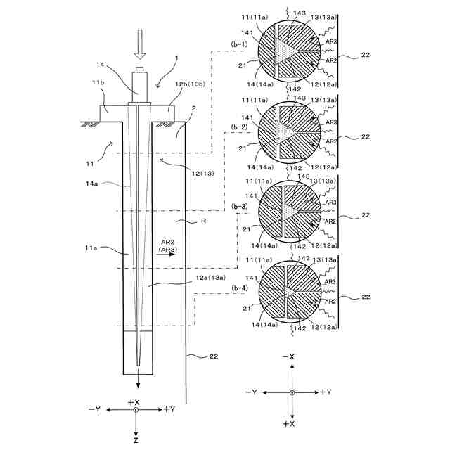
被破砕物の自由面の近傍において前記被破砕物に対して削孔形成方向に予め形成された削孔から前記自由面に向かう被破砕領域に亀裂を導入する割岩工具であって、
前記削孔のうち前記自由面の反対側に位置する第1内部空間に対して第1先端部を挿脱可能な第1羽根部材と、
前記削孔のうち前記第1内部空間よりも前記自由面側でしかも前記自由面と平行でかつ前記削孔形成方向と直交する第1方向の一方側に位置する第2内部空間に対して挿脱可能な第2先端部を有する第2羽根部材と、
前記削孔のうち前記第1内部空間よりも前記自由面側でしかも前記第1方向の他方側に位置する第3内部空間に対して挿脱可能な第3先端部を有する第3羽根部材と、
前記削孔のうち前記第1先端部、前記第2先端部および前記第3先端部に挟まれた第4内部空間に対して挿脱可能な第4先端部を有する楔部材と、を備え、
前記第4先端部は、前記第1羽根部材、前記第2羽根部材および前記第3羽根部材にそれぞれ摺動可能な第1摺動面、第2摺動面および第3摺動面を有するとともに、前記削孔形成方向に進むにしたがって前記第2摺動面および前記第3摺動面が前記第1摺動面側に傾斜するような先細り形状を有し、
前記削孔形成方向の反対側から前記削孔を見たときに、前記楔部材の中心軸を通過して前記自由面と直交する仮想線に対し、前記第1方向の前記一方側に傾斜した方向を第2方向とし、前記第1方向の前記他方側に傾斜した方向を第3方向としたとき、
前記削孔に沿った前記削孔形成方向への前記楔部材の移動に伴い、前記第2羽根部材は前記楔部材の前記第2摺動面と摺動しながら前記第2方向に移動して前記削孔の内壁を押圧するとともに、前記第3羽根部材は前記楔部材の前記第3摺動面と摺動しながら前記第3方向に移動して前記削孔の内壁を押圧する、ことを特徴とする割岩工具。
続きを表示(約 750 文字)
【請求項2】
請求項1に記載の割岩工具であって、
前記第4先端部は、前記削孔形成方向に進むにしたがって前記第1摺動面が前記自由面側に傾斜するように仕上げられた、割岩工具。
【請求項3】
請求項1に記載の割岩工具であって、
前記第4先端部は、前記第1摺動面が前記削孔形成方向と平行な平面となるように仕上げられた、割岩工具。
【請求項4】
請求項2または3に記載の割岩工具であって、
前記第1摺動面、前記第2摺動面および前記第3摺動面は相互に接続され、前記第4先端部は三角錐形状または三角錐台形状に仕上げられた、割岩工具。
【請求項5】
被破砕物の自由面の近傍において前記被破砕物に対して削孔形成方向に予め形成された削孔から前記自由面に向かう被破砕領域を破砕する破砕方法であって、
請求項1ないし3のいずれか一項に記載の割岩工具を準備する工程と、
前記第1羽根部材の前記第1先端部、前記第2羽根部材の前記第2先端部、前記第3羽根部材の前記第3先端部および前記楔部材の前記第4先端部をそれぞれ前記削孔の前記第1内部空間、前記第2内部空間、前記第3内部空間および前記第4内部空間に挿入する工程と、
前記第1摺動面、第2摺動面および第3摺動面をそれぞれ前記第1羽根部材の前記第1先端部、前記第2羽根部材の前記第2先端部、前記第3羽根部材の前記第3先端部に摺接させたまま前記楔部材の後端部に外力を加えながら前記楔部材を前記削孔形成方向に押し込むことによって前記第2羽根部材の前記第2先端部および前記第3羽根部材の前記第3先端部を前記削孔の内壁を押圧して割岩する工程と、
を備えることを特徴とする破砕方法。
発明の詳細な説明
【技術分野】
【0001】
この発明は、岩盤、岩石、コンクリート構造物などの被破砕物を割岩する割岩工具および当該工具を用いて被破砕物を破砕する破砕技術に関するものであり、特に被破砕物の自由面の近傍に形成された削孔から自由面に向かう被破砕領域に亀裂を導入して被破砕領域を破砕する技術に関するものである。
続きを表示(約 2,500 文字)
【背景技術】
【0002】
自由面を有する被破砕物を効率的に破砕する破砕方法として、本願出願人は、被破砕物の自由面の近傍に複数の削孔を自由面と平行となるように列状に形成した後で、各削孔に対して特許文献1ないし特許文献3に記載された割岩工具により削孔から自由面に向かう被破砕領域に亀裂を与え、破砕する工法を実施している(非特許文献1)。
【0003】
上記割岩工具は、削孔内に楔部材(矢)と2枚の羽根部材(羽根)を組み合わせたものである。削孔のうち自由面の反対側の内部空間に1枚の羽根部材の先端部が挿入されるとともに自由面の反対側の内部空間にもう1枚の羽根部材の先端部が挿入される。これらの羽根部材の間に楔部材の先端部が摺動自在に挿入される。そして、楔部材の後端部をブレーカで打撃して楔部材を圧入することで楔部材の先端部に形成される傾斜面に対して2枚の羽根部材が相対的に摺動しながら削孔の径方向外側に移動される。このとき、削孔の内壁が羽根部材により押圧され、被破砕領域が割岩される。こうして、被破砕物のうち被破砕領域が破砕される。
【先行技術文献】
【特許文献】
【0004】
特許第5857375号
特許第6387505号
特許第6464396号
【非特許文献】
【0005】
「スーパーくさび君」、神島組ホームページ、[online ]、[令和6年4月1日検索]、インターネット<URL:http://kamishimagumi.co.jp/technique/kusabikun/kusabikun.htm>
【発明の概要】
【発明が解決しようとする課題】
【0006】
2枚の羽根部材のうち自由面側の羽根部材が楔部材の中心軸から自由面に向かう一方向(後で説明する図面中の(+Y方向)に相当)に移動し、削孔の内壁面に押圧力を与える。したがって、削孔の深さ方向(後で説明する図面中の(Z方向)に相当)および上記一方向の両方に直交する幅方向(後で説明する図面中の(X方向)に相当)において亀裂が導入される範囲は比較的狭い。このため、削孔の間隔を比較的狭く設定する必要がある。そこで、破砕作業の効率化を図るためには、削孔の列方向、つまり幅方向における亀裂導入範囲を広げることができる割岩工具が望まれる。
【0007】
この発明は上記課題に鑑みなされたものであり、削孔から自由面に向かう被破砕領域に対して亀裂を広範囲に導入することができる割岩工具および当該工具を用いた破砕方法を提供することを目的とする。
【課題を解決するための手段】
【0008】
この発明の第1の態様は、被破砕物の自由面の近傍において被破砕物に対して削孔形成方向に予め形成された削孔から自由面に向かう被破砕領域に亀裂を導入する割岩工具であって、削孔のうち自由面の反対側に位置する第1内部空間に対して第1先端部を挿脱可能な第1羽根部材と、削孔のうち第1内部空間よりも自由面側でしかも自由面と平行でかつ削孔形成方向と直交する第1方向の一方側に位置する第2内部空間に対して挿脱可能な第2先端部を有する第2羽根部材と、削孔のうち第1内部空間よりも自由面側でしかも第1方向の他方側に位置する第3内部空間に対して挿脱可能な第3先端部を有する第3羽根部材と、削孔のうち第1先端部、第2先端部および第3先端部に挟まれた第4内部空間に対して挿脱可能な第4先端部を有する楔部材と、を備え、第4先端部は、第1羽根部材、第2羽根部材および第3羽根部材にそれぞれ摺動可能な第1摺動面、第2摺動面および第3摺動面を有するとともに、削孔形成方向に進むにしたがって第2摺動面および第3摺動面が第1摺動面側に傾斜するような先細り形状を有し、削孔形成方向の反対側から削孔を見たときに、楔部材の中心軸を通過して自由面と直交する仮想線に対し、第1方向の一方側に傾斜した方向を第2方向とし、第1方向の他方側に傾斜した方向を第3方向としたとき、削孔に沿った削孔形成方向への楔部材の移動に伴い、第2羽根部材は楔部材の第2摺動面と摺動しながら第2方向に移動して削孔の内壁を押圧するとともに、第3羽根部材は楔部材の第3摺動面と摺動しながら第3方向に移動して削孔の内壁を押圧する、ことを特徴としている。
【0009】
また、この発明の第2の態様は、被破砕物の自由面の近傍において被破砕物に対して削孔形成方向に予め形成された削孔から自由面に向かう被破砕領域を破砕する破砕方法であって、上記割岩工具を準備する工程と、第1羽根部材の第1先端部、第2羽根部材の第2先端部、第3羽根部材の第3先端部および楔部材の第4先端部をそれぞれ削孔の第1内部空間、第2内部空間、第3内部空間および第4内部空間に挿入する工程と、第1摺動面、第2摺動面および第3摺動面をそれぞれ第1羽根部材の第1先端部、第2羽根部材の第2先端部、第3羽根部材の第3先端部に摺接させたまま楔部材の後端部に外力を加えながら楔部材を削孔形成方向に押し込むことによって第2羽根部材の第2先端部および第3羽根部材の第3先端部を削孔の内壁を押圧して割岩する工程と、を備えることを特徴としている。
【発明の効果】
【0010】
以上のように、本発明によれば、削孔形成方向への楔部材の移動に伴って、第2羽根部材が第2方向に移動して削孔の内壁を押圧するとともに第3羽根部材が第3方向に移動して削孔の内壁を押圧する。このように、自由面側の削孔内壁面を互いに異なる2つの方向(=第2方向+第3方向)から押圧することで、削孔から自由面に向かう被破砕領域に亀裂を導入している。したがって、被破砕領域に対して亀裂を広範囲に導入することができ、その結果、割岩効率および破砕効率を高めることができる。
【図面の簡単な説明】
(【0011】以降は省略されています)
この特許をJ-PlatPat(特許庁公式サイト)で参照する
関連特許
株式会社神島組
割岩工具および当該工具を用いた破砕方法
1か月前
個人
掘削機
5か月前
日特建設株式会社
切断装置
1か月前
株式会社奥村組
地山探査装置
3か月前
株式会社奥村組
地山探査装置
3か月前
株式会社奥村組
地山探査装置
3か月前
株式会社奥村組
地山探査方法
3か月前
株式会社奥村組
シールド掘進機
8か月前
株式会社奥村組
シールド掘進機
1か月前
株式会社笠原建設
横孔形成方法
6か月前
日特建設株式会社
削孔システム
3日前
株式会社奥村組
シールド掘進機
5か月前
日特建設株式会社
ボーリング装置
7か月前
花王株式会社
岩盤の掘削方法
5か月前
岐阜工業株式会社
トンネルセントル
1か月前
個人
オープンシールド機
2か月前
個人
掘削機、及び、資源回収システム
6か月前
個人
オープンシールド機
2か月前
株式会社奥村組
セグメントの組立方法
2か月前
株式会社奥村組
テールシール試験装置
8か月前
株式会社奥村組
泥土圧シールド掘進機
6か月前
株式会社熊谷組
天井板撤去装置
6か月前
株式会社ケー・エフ・シー
剥落防止構造
7か月前
岐阜工業株式会社
コンクリート分配装置
16日前
個人
箱形ルーフおよびその施工法
1か月前
日特建設株式会社
削孔方法及び削孔装置
8か月前
大阪瓦斯株式会社
牽引装置
6か月前
株式会社金澤製作所
発進坑口のエントランス装置
5か月前
デンカ株式会社
静的破砕方法
3か月前
株式会社大林組
インバート更新工法
8か月前
大阪瓦斯株式会社
切欠開裂治具
6か月前
個人
メタンハイドレート等海底鉱物資源の採取方法
3か月前
大成建設株式会社
トンネルの褄部構造
8か月前
地中空間開発株式会社
トンネル掘削機
1か月前
岐阜工業株式会社
トンネルセントルの妻板装置
3か月前
株式会社ケー・エフ・シー
防水シート探傷装置
8か月前
続きを見る
他の特許を見る