TOP
|
特許
|
意匠
|
商標
特許ウォッチ
Twitter
他の特許を見る
10個以上の画像は省略されています。
公開番号
2025156790
公報種別
公開特許公報(A)
公開日
2025-10-15
出願番号
2024059458
出願日
2024-04-02
発明の名称
長尺鋼管の接続器具及び接続方法
出願人
株式会社カテックス
代理人
個人
,
個人
,
個人
主分類
E21D
9/04 20060101AFI20251007BHJP(地中もしくは岩石の削孔;採鉱)
要約
【課題】人力に依ることなく鋼管を接続することを可能とする長尺鋼管の接続器具および接続方法を提供する。
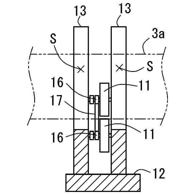
【解決手段】トンネル2の未掘削地山に長尺鋼管3を複数打設し、長尺鋼管は複数の鋼管3aの端部を螺合により接続してなり、長尺鋼管の外周に設けられた吐出孔4から地山改良材を周辺地山の亀裂に浸透させ地山を補強する工法に用いられる長尺鋼管の接続器具1において、ドリルジャンボ21のガイドセル22先端部に設置され、鋼管3aの一端を支持するとともに鋼管3aを回転させる複数のローラー11を備える。
【選択図】図6
特許請求の範囲
【請求項1】
トンネルの未掘削地山に長尺鋼管を複数打設し、前記長尺鋼管は複数の鋼管の端部を螺合により接続してなり、前記長尺鋼管の外周に設けられた吐出孔から地山改良材を周辺地山の亀裂に浸透させ地山を補強する工法に用いられる長尺鋼管の接続器具において、
ドリルジャンボのガイドセル先端部に設置され、前記鋼管の一端を支持するとともに前記鋼管を回転させる複数のローラーを備えることを特徴とする長尺鋼管の接続器具。
続きを表示(約 500 文字)
【請求項2】
前記ローラーは、モーターによって駆動されることを特徴とする請求項1に記載の長尺鋼管の接続器具。
【請求項3】
トンネルの未掘削地山に複数打設され、複数の鋼管の端部を螺合により接続してなり、地山改良材を周辺地山の亀裂に浸透させ地山を補強するために用いられる長尺鋼管の接続方法において、
ドリルジャンボのガイドセル先端部に接続器具を取り付け、
前記鋼管の後端に設けられた雄ねじ部が地山から露出するように前記鋼管を地山に打設し、
接続する鋼管の一端が前記接続器具に設けられたローラーに支持されるように、当該接続する鋼管を前記ドリルジャンボのガイドセル上に設置し、
前記打設した鋼管と前記接続する鋼管の方向および角度を合わせ、
前記接続する鋼管を前方に移動させて、前記打設した鋼管の前記雄ねじ部に前記接続する鋼管の先端に設けられた雌ねじ部を被せ、
前記接続器具に設けられたモーターを駆動させて前記ローラーを回転させ、前記打設した鋼管の前記雄ねじ部と前記接続する鋼管の前記雌ねじ部を螺合させることを特徴とする長尺鋼管の接続方法。
発明の詳細な説明
【技術分野】
【0001】
本発明はトンネル掘削時の先行地山補強工に関する。
続きを表示(約 2,300 文字)
【背景技術】
【0002】
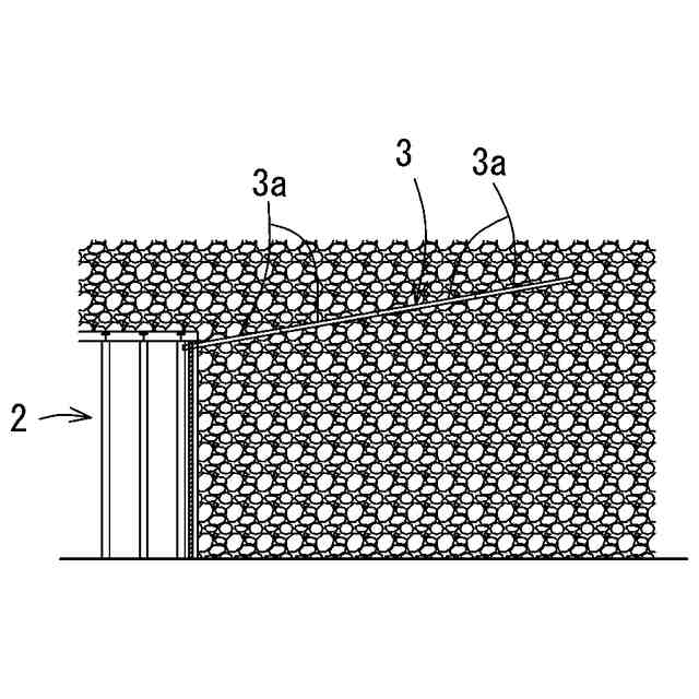
トンネル掘削に際し、例えば図8に示されるように、トンネル2の周囲の前方地山に長尺鋼管3を打設し、この長尺鋼管3の外周に設けられた吐出孔から地山改良材を周辺地山の亀裂に浸透させ地山を補強する、いわゆる長尺鋼管フォアパイリングが知られている(例えば特許文献1等を参照)。
【先行技術文献】
【特許文献】
【0003】
特開2008-075292号公報
【発明の概要】
【発明が解決しようとする課題】
【0004】
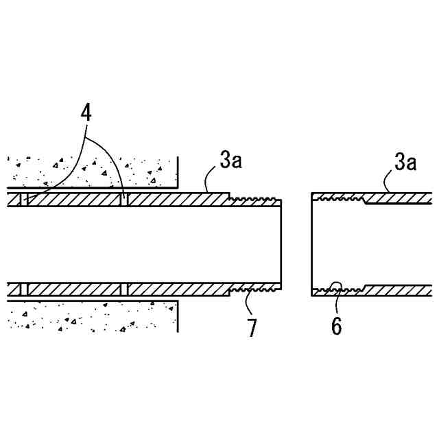
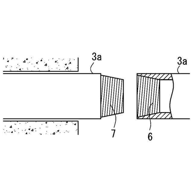
長尺鋼管3(例えば全長12m)は、複数本(例えば4本)の鋼管(例えば全長3m)の端部を螺合により接続して構成されることが一般的である。従来技術では、例えば図9に示されるように、鋼管3aの先端部に雌ねじ部6、後端部に雄ねじ部7が形成されており、各鋼管3aの接続は、地山に打設した鋼管3aに対して接続する鋼管3aを人力で回転させることによって、ねじ部6、7を螺合させていた。しかしながら、この方法は重量の大きい鋼管3a(例えば50kg)を人力で回転させるため作業員の負担が大きく、また、鋼管3aの接続時には作業員が切羽直近まで近づく必要があるため、地山の肌落ちや崩落時などの落石による罹災の危険性があった。
【0005】
本発明は上記問題を解決するためになされたものであり、人力に依ることなく鋼管を接続することを可能とする長尺鋼管の接続器具および接続方法を提供することを目的とする。
【課題を解決するための手段】
【0006】
本発明は以下の通りである。
1.トンネルの未掘削地山に長尺鋼管を複数打設し、前記長尺鋼管は複数の鋼管の端部を螺合により接続してなり、前記長尺鋼管の外周に設けられた吐出孔から地山改良材を周辺地山の亀裂に浸透させ地山を補強する工法に用いられる長尺鋼管の接続器具において、
ドリルジャンボのガイドセル先端部に設置され、前記鋼管の一端を支持するとともに前記鋼管を回転させる複数のローラーを備えることを特徴とする長尺鋼管の接続器具。
2.前記ローラーは、モーターによって駆動されることを特徴とする上記1.に記載の長尺鋼管の接続器具。
3.トンネルの未掘削地山に複数打設され、複数の鋼管の端部を螺合により接続してなり、地山改良材を周辺地山の亀裂に浸透させ地山を補強するために用いられる長尺鋼管の接続方法において、
ドリルジャンボのガイドセル先端部に接続器具を取り付け、
前記鋼管の後端に設けられた雄ねじ部が地山から露出するように前記鋼管を地山に打設し、
接続する鋼管の一端が前記接続器具に設けられたローラーに支持されるように、当該接続する鋼管を前記ドリルジャンボのガイドセル上に設置し、
前記打設した鋼管と前記接続する鋼管の方向および角度を合わせ、
前記接続する鋼管を前方に移動させて、前記打設した鋼管の前記雄ねじ部に前記接続する鋼管の先端に設けられた雌ねじ部を被せ、
前記接続器具に設けられたモーターを駆動させて前記ローラーを回転させ、前記打設した鋼管の前記雄ねじ部と前記接続する鋼管の前記雌ねじ部を螺合させることを特徴とする長尺鋼管の接続方法。
【発明の効果】
【0007】
本発明によれば、人力に依ることなく鋼管の接続が可能となるため、作業員の負担が軽減でき、また、作業員が切羽直近まで近づく必要がなくなり、作業の安全性が向上する。
【図面の簡単な説明】
【0008】
本発明について、本発明による典型的な実施形態の非限定的な例を挙げ、言及された複数の図面を参照しつつ以下の詳細な記述にて更に説明するが、同様の参照符号は図面のいくつかの図を通して同様の部材を示す。
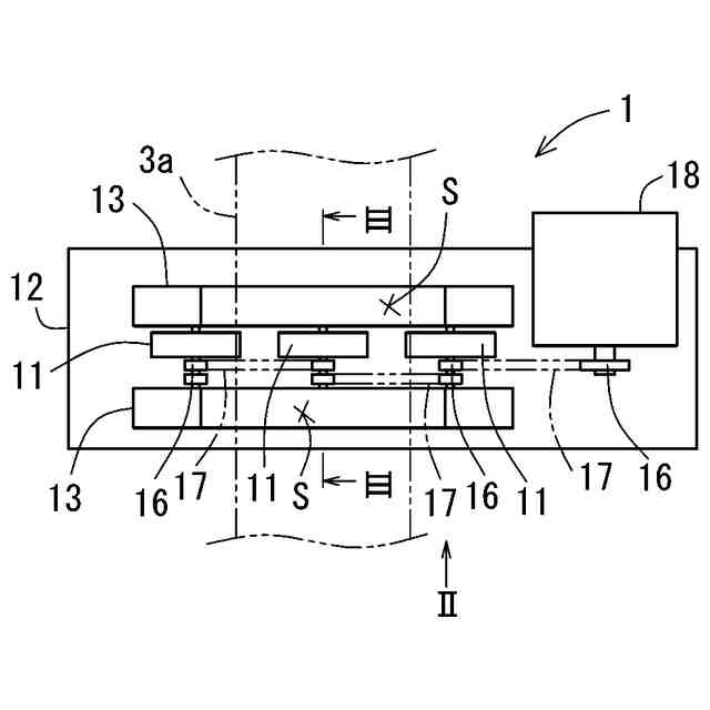
実施形態に係る長尺鋼管の接続器具の平面図である。
図1のII矢視図である。
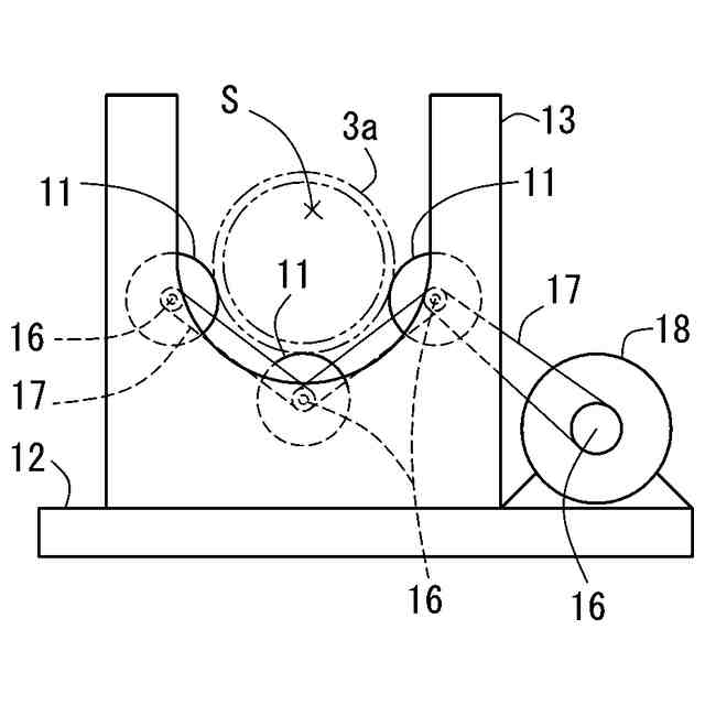
図1のIII-III線断面図である。
実施形態に係るドリルジャンボの説明図である。
実施形態に係る長尺鋼管の接続方法の説明図であり、(a)はドリルジャンボのガイドセル先端部に接続器具を設置した状態を示し、(b)は地山に鋼管を打設した状態を示し、(c)は接続器具に接続する鋼管を支持した状態を示す。
長尺鋼管の接続方法の説明図であり、(a)は打設した鋼管と接続する鋼管の方向及び角度を合わせた状態を示し、(b)は打設した鋼管の雄ねじ部に接続する鋼管の雌ねじ部を被せた状態を示し、(c)は打設した鋼管の雄ねじ部に接続する鋼管の雌ねじ部を螺合させた状態を示す。
他の形態に係る鋼管の説明図である。
一般的な地山補強工法の説明図である。
一般的な鋼管の接続形態の説明図である。
【発明を実施するための形態】
【0009】
ここで示される事項は例示的なものおよび本発明の実施形態を例示的に説明するためのものであり、本発明の原理と概念的な特徴とを最も有効に且つ難なく理解できる説明であると思われるものを提供する目的で述べたものである。この点で、本発明の根本的な理解のために必要である程度以上に本発明の構造的な詳細を示すことを意図してはおらず、図面と合わせた説明によって本発明の幾つかの形態が実際にどのように具現化されるかを当業者に明らかにするものである。
【0010】
以下、図面を用いて実施形態により本発明を具体的に説明する。
(【0011】以降は省略されています)
この特許をJ-PlatPat(特許庁公式サイト)で参照する
関連特許
株式会社カテックス
長尺鋼管の接続器具及び接続方法
1か月前
個人
掘削機
5か月前
日特建設株式会社
切断装置
1か月前
株式会社奥村組
地山探査方法
3か月前
株式会社奥村組
地山探査装置
3か月前
株式会社奥村組
地山探査装置
3か月前
株式会社奥村組
地山探査装置
3か月前
株式会社笠原建設
横孔形成方法
7か月前
株式会社奥村組
シールド掘進機
2か月前
日特建設株式会社
削孔システム
14日前
株式会社奥村組
シールド掘進機
8か月前
株式会社奥村組
シールド掘進機
6か月前
日特建設株式会社
ボーリング装置
7か月前
岐阜工業株式会社
トンネルセントル
2か月前
花王株式会社
岩盤の掘削方法
5か月前
個人
オープンシールド機
3か月前
株式会社熊谷組
天井板撤去装置
7か月前
個人
オープンシールド機
3か月前
株式会社奥村組
テールシール試験装置
8か月前
個人
掘削機、及び、資源回収システム
7か月前
株式会社奥村組
泥土圧シールド掘進機
6か月前
株式会社奥村組
セグメントの組立方法
2か月前
岐阜工業株式会社
コンクリート分配装置
27日前
大阪瓦斯株式会社
牽引装置
6か月前
日特建設株式会社
削孔方法及び削孔装置
8か月前
株式会社ケー・エフ・シー
剥落防止構造
8か月前
個人
箱形ルーフおよびその施工法
2か月前
株式会社金澤製作所
発進坑口のエントランス装置
6か月前
株式会社大林組
インバート更新工法
8か月前
デンカ株式会社
静的破砕方法
3か月前
大阪瓦斯株式会社
切欠開裂治具
6か月前
個人
メタンハイドレート等海底鉱物資源の採取方法
4か月前
地中空間開発株式会社
トンネル掘削機
1か月前
大成建設株式会社
トンネルの褄部構造
8か月前
岐阜工業株式会社
トンネルセントルの妻板装置
3か月前
株式会社奥村組
地山探査装置に用いる地山保持材
3か月前
続きを見る
他の特許を見る