TOP
|
特許
|
意匠
|
商標
特許ウォッチ
Twitter
他の特許を見る
公開番号
2025155582
公報種別
公開特許公報(A)
公開日
2025-10-14
出願番号
2024167779
出願日
2024-09-26
発明の名称
ペリクル膜及びペリクル、並びに、ペリクル膜の可視光線透過率、可視光線透過率の標準偏差、及び可視光線透過率の変動係数を測定する測定方法
出願人
リンテック株式会社
代理人
弁理士法人樹之下知的財産事務所
主分類
G03F
1/62 20120101AFI20251002BHJP(写真;映画;光波以外の波を使用する類似技術;電子写真;ホログラフイ)
要約
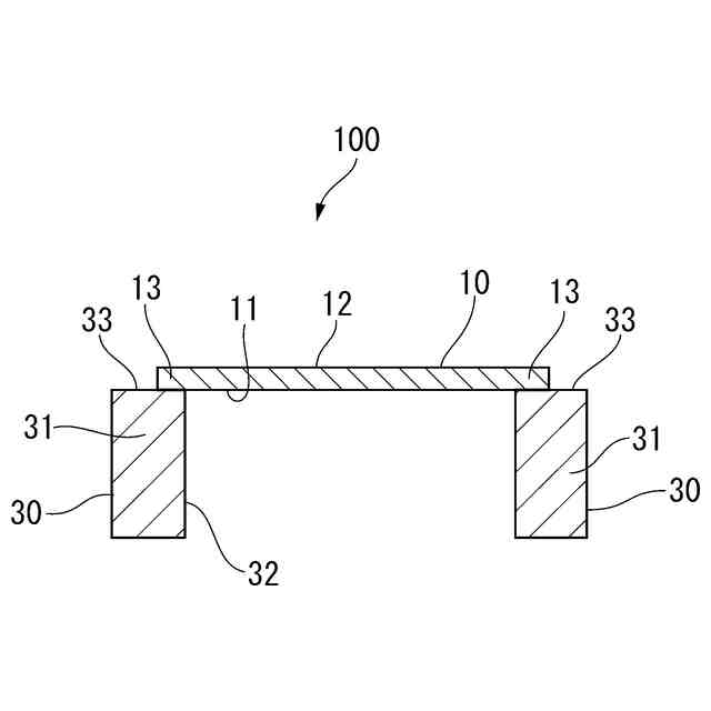
【課題】EUVの高透過性を担保しつつ、EUV透過性のバラつきが抑制されるとともに、変形量が小さいペリクル膜を提供すること。
【解決手段】多孔質構造を有するペリクル膜10。前記ペリクル膜10は、カーボンナノチューブを含む。前記ペリクル膜10は、第一ペリクル膜面11と、前記第一ペリクル膜面11とは反対側の第二ペリクル膜面12とを備え、下記数式(数1)により算出された可視光線透過率が、60%以上、85%以下であり、かつ、前記可視光線透過率の標準偏差が、0.56%以下である。
T={(Tp-Td)/(Tb-Td)}×100 …(数1)
(前記数式(数1)中、Tは、前記ペリクル膜10の可視光線透過率、Tpは、前記透光状態のペリクル膜10の画像における画素値、Tbは、前記明状態の撮像位置の画像における画素値、Tdは、前記暗状態の撮像位置の画像における画素値を表す。)
【選択図】図1
特許請求の範囲
【請求項1】
多孔質構造を有するペリクル膜であって、
前記ペリクル膜は、カーボンナノチューブを含み、
前記ペリクル膜は、第一ペリクル膜面と、前記第一ペリクル膜面とは反対側の第二ペリクル膜面とを備え、
(1)前記第二ペリクル膜面側を撮像位置に載置し、前記第二ペリクル膜面側から波長400nm以上、750nm以下の白色光を照射した状態で、前記第一ペリクル膜面側から撮像した、面積14300mm
2
の700000画素以上における透光状態のペリクル膜の画像と、
(2)前記白色光を照射した状態で、前記ペリクル膜を含まない前記撮像位置を撮像した、前記面積の前記画素以上における明状態の撮像位置の画像と、
(3)遮光した状態で、前記ペリクル膜を含まない前記撮像位置を撮像した、前記面積の前記画素以上における暗状態の撮像位置の画像と、に基づいて、
下記数式(数1)により算出された可視光線透過率が、60%以上、85%以下であり、かつ、前記可視光線透過率の標準偏差が、0.56%以下である、
ペリクル膜。
T={(Tp-Td)/(Tb-Td)}×100 …(数1)
(前記数式(数1)中、Tは、前記ペリクル膜の可視光線透過率、Tpは、前記透光状態のペリクル膜の画像において前記白色光が透過していることを表す画素値、Tbは、前記明状態の撮像位置の画像において前記白色光が透過していることを表す画素値、Tdは、前記暗状態の撮像位置の画像において前記白色光が照射されていないときの画素値を表す。)
続きを表示(約 1,300 文字)
【請求項2】
請求項1に記載のペリクル膜において、
前記可視光線透過率の変動係数が、0.68以下である、
ペリクル膜。
【請求項3】
請求項1又は請求項2に記載のペリクル膜において、
前記カーボンナノチューブの長さが、0.1μm以上、1000μm以下である、
ペリクル膜。
【請求項4】
請求項1又は請求項2に記載のペリクル膜において、
前記カーボンナノチューブの断面直径が、0.2nm以上、50nm以下である、
ペリクル膜。
【請求項5】
請求項1又は請求項2に記載のペリクル膜において、
自立性を有する、
ペリクル膜。
【請求項6】
請求項1又は請求項2に記載のペリクル膜と、
枠部と前記枠部に囲まれた開口部とを有し、前記ペリクル膜を支持する支持体と、
を備える、
ペリクル。
【請求項7】
多孔質構造を有するペリクル膜の可視光線透過率及び前記可視光線透過率の標準偏差を測定する測定方法であって、
カーボンナノチューブを含み、第一ペリクル膜面と、前記第一ペリクル膜面とは反対側の第二ペリクル膜面とを備えるペリクル膜を準備する工程と、
前記第二ペリクル膜面を撮像位置に向けて、準備した前記ペリクル膜を前記撮像位置に載置する工程と、
載置した前記ペリクル膜の前記第二ペリクル膜面側から波長400nm以上、750nm以下の白色光を照射して、前記ペリクル膜に前記白色光を透過させる工程と、
前記白色光を照射した状態で、前記白色光を照射しない前記第一ペリクル膜面側から、撮像手段によって撮像して、面積14300mm
2
の700000画素以上における透光状態のペリクル膜の画像を取得する工程と、
前記白色光を照射した状態で、前記ペリクル膜を含まない前記撮像位置を撮像して、面積14300mm
2
の700000画素以上における明状態の撮像位置の画像を取得する工程と、
前記白色光を照射せず、遮光した状態で、前記ペリクル膜を含まない前記撮像位置を撮像して、面積14300mm
2
の700000画素以上における暗状態の撮像位置の画像を取得する工程と、
前記透光状態のペリクル膜の画像と、前記明状態の撮像位置の画像と、前記暗状態の撮像位置の画像と、に基づいて、前記ペリクル膜の可視光線透過率及び前記可視光線透過率の標準偏差を算出する工程と、
を備え、
前記ペリクル膜の可視光線透過率は、下記数式(数1)によって求められる、
測定方法。
T={(Tp-Td)/(Tb-Td)}×100 …(数1)
(前記数式(数1)中、Tは、前記ペリクル膜の可視光線透過率、Tpは、前記透光状態のペリクル膜の画像において前記白色光が透過していることを表す画素値、Tbは、前記明状態の撮像位置の画像において前記白色光が透過していることを表す画素値、Tdは、前記暗状態の撮像位置の画像において前記白色光が照射されていないときの画素値を表す。)
発明の詳細な説明
【技術分野】
【0001】
本発明は、ペリクル膜及びペリクル、並びに、ペリクル膜の可視光線透過率及び可視光線透過率の標準偏差を測定する測定方法に関する。
続きを表示(約 2,300 文字)
【背景技術】
【0002】
半導体デバイス等の製造工程では、例えば、半導体ウエハ等の基板にフォトレジストを塗布し、フォトレジストを塗布した基板上に、フォトマスクを用いて光を照射し、フォトレジストを除去することにより、基板上に目的とする回路パターンが形成される。
【0003】
フォトマスク上に異物が付着した状態で光が照射されると、付着した異物によって、基板上に形成された回路パターンに支障を来す場合がある。このため、フォトマスク上への異物の付着を抑制するために、異物を捕捉させるためのペリクル膜を備えたペリクルが使用される場合がある。ペリクルは、フォトマスクの上方に、ペリクル膜がフォトマスクに接しない距離で配置される。
【0004】
近年、より微細な回路パターンを形成するために、極端紫外線(EUV:Extreme Ultra Violet)の使用が検討されている。EUVは、波長1nm以上、100nm以下の光を指す。EUVとしては、例えば、具体的には、13.5nm±0.3nm程度の光線が使用されつつある。EUVがペリクル膜に照射された場合、EUVはペリクル膜を透過するものの、照射されたEUVの一部はペリクル膜に吸収される。吸収されたEUVの光エネルギーは熱エネルギーに変換されることにより、ペリクル膜の温度が上昇する。このため、ペリクル膜には、EUVの透過性、耐熱性及び耐久性等が求められる。
【0005】
EUVを使用して回路パターンを形成する工程に使用されるペリクルにおいて、ペリクルが備えるペリクル膜に用いられる材料の一つとして、カーボンナノチューブが検討されている。
【0006】
例えば、特許文献1には、カーボンナノチューブを含有するカーボンナノチューブ膜を含む露光用ペリクル膜が開示されている。特許文献1に開示されるカーボンナノチューブ膜は、波長13.5nmにおけるEUV光の透過率が80%以上であり、厚みが1nm以上50nm以下であり、反射率の3σが15%以下である。
【先行技術文献】
【特許文献】
【0007】
特開2023-106455号公報
【発明の概要】
【発明が解決しようとする課題】
【0008】
特許文献1に開示されるカーボンナノチューブを含むペリクル膜において、EUV透過率の均一性を評価する手法として、反射分光膜厚み計を用いて測定した反射率を採用している。特許文献1に開示されるペリクル膜は、当該ペリクル膜の厚さの均一性を高めることで、EUV透過率の均一性が高められている。しかしながら、反射分光膜厚み計を用いて測定した数値は、EUV透過率の均一性を間接的に評価しているに過ぎず、ペリクル膜を透過する光線透過率のバラつきを直接的に評価していない。このため、特許文献1に開示されるペリクル膜は、実際にはEUV透過率の均一性が十分に高められていないことが懸念される。また、ペリクル膜のEUV透過率の均一性が十分に高められていない場合、ペリクル膜が変形しやすくなり、その結果として機械的強度が低下しやすくなる。このように、ペリクル膜には、さらなる改善が要求されていた。
【0009】
本発明の目的は、カーボンナノチューブを含むペリクル膜において、EUVの高透過性を担保しつつ、EUV透過性のバラつきが抑制されるとともに、変形量が小さいペリクル膜、及び当該ペリクル膜を用いたペリクルを提供することである。また、本発明の他の目的は、本質的なペリクル膜のEUV透過性のバラつきの指標とすることが可能な、ペリクル膜の可視光線透過率及び可視光線透過率の標準偏差を測定する測定方法を提供することである。
【課題を解決するための手段】
【0010】
[1]
多孔質構造を有するペリクル膜であって、
前記ペリクル膜は、カーボンナノチューブを含み、
前記ペリクル膜は、第一ペリクル膜面と、前記第一ペリクル膜面とは反対側の第二ペリクル膜面とを備え、
(1)前記第二ペリクル膜面側を撮像位置に載置し、前記第二ペリクル膜面側から波長400nm以上、750nm以下の白色光を照射した状態で、前記第一ペリクル膜面側から撮像した、面積14300mm
2
の700000画素以上における透光状態のペリクル膜の画像と、
(2)前記白色光を照射した状態で、前記ペリクル膜を含まない前記撮像位置を撮像した、前記面積の前記画素以上における明状態の撮像位置の画像と、
(3)遮光した状態で、前記ペリクル膜を含まない前記撮像位置を撮像した、前記面積の前記画素以上における暗状態の撮像位置の画像と、に基づいて、
下記数式(数1)により算出された可視光線透過率が、60%以上、85%以下であり、かつ、前記可視光線透過率の標準偏差が、0.56%以下である、
ペリクル膜。
T={(Tp-Td)/(Tb-Td)}×100 …(数1)
(前記数式(数1)中、Tは、前記ペリクル膜の可視光線透過率、Tpは、前記透光状態のペリクル膜の画像において前記白色光が透過していることを表す画素値、Tbは、前記明状態の撮像位置の画像において前記白色光が透過していることを表す画素値、Tdは、前記暗状態の撮像位置の画像において前記白色光が照射されていないときの画素値を表す。)
(【0011】以降は省略されています)
この特許をJ-PlatPat(特許庁公式サイト)で参照する
関連特許
個人
表示装置
1日前
株式会社シグマ
絞りユニット
28日前
日本精機株式会社
車両用投射装置
7日前
キヤノン株式会社
撮像装置
1か月前
平和精機工業株式会社
雲台
1か月前
キヤノン株式会社
撮像装置
21日前
キヤノン株式会社
撮像装置
27日前
株式会社リコー
画像形成装置
2か月前
株式会社リコー
画像形成装置
1か月前
株式会社リコー
画像形成装置
17日前
株式会社リコー
画像形成装置
3か月前
株式会社リコー
画像形成装置
1か月前
株式会社リコー
画像形成装置
2か月前
株式会社リコー
画像形成装置
2か月前
キヤノン株式会社
トナー
13日前
キヤノン株式会社
トナー
1か月前
キヤノン株式会社
画像形成装置
1か月前
キヤノン株式会社
画像形成装置
2日前
キヤノン株式会社
画像形成装置
1か月前
キヤノン株式会社
トナー
8日前
キヤノン株式会社
画像形成装置
2か月前
ブラザー工業株式会社
再生方法
2か月前
キヤノン株式会社
画像形成装置
1か月前
株式会社オプトル
プロジェクタ
1か月前
キヤノン株式会社
トナー
3か月前
キヤノン株式会社
画像形成装置
2か月前
株式会社オプトル
プロジェクタ
20日前
キヤノン株式会社
トナー
3か月前
キヤノン株式会社
画像形成装置
2か月前
キヤノン株式会社
画像形成装置
2か月前
キヤノン株式会社
画像形成装置
2か月前
シャープ株式会社
画像形成装置
1か月前
沖電気工業株式会社
画像形成装置
1か月前
スタンレー電気株式会社
照明装置
9日前
興和株式会社
マウント構造
2か月前
アイホン株式会社
機器の設置構造
2か月前
続きを見る
他の特許を見る