TOP
|
特許
|
意匠
|
商標
特許ウォッチ
Twitter
他の特許を見る
公開番号
2025153886
公報種別
公開特許公報(A)
公開日
2025-10-10
出願番号
2024056589
出願日
2024-03-29
発明の名称
ベンチの設置方法
出願人
ミサワホーム株式会社
代理人
個人
主分類
E04H
1/02 20060101AFI20251002BHJP(建築物)
要約
【課題】本発明の目的は、耐荷重の高いベンチを提供することである。
【解決手段】 互いに対向する一対の第1壁(46及び47)と、前記一対の第1壁(46及び47)の間に設けられた第2壁(11)とに固定されるベンチ(60)は、前記一対の第1壁(46及び47)にそれぞれ固定された第1受け材(61及び62)と、前記第2壁(11)に固定される第2受け材(63)と、前記第1受け材(61及び62)及び前記第2受け材(63)の上に載って前記第1受け材(61及び62)及び前記第2受け材(63)に支持される座板(64)と、下段面(65a)と、前記下段面(65a)の前において前記下段面(65a)よりも高い上段面(65b)と、を上面に有する前框(65)と、を備える。前記座板(64)が前記下段面(65a)に載って前記前框(65)に固定される。
【選択図】図2
特許請求の範囲
【請求項1】
互いに対向する一対の第1壁と、前記一対の第1壁の間に設けられた第2壁とに固定されるベンチであって、
前記一対の第1壁にそれぞれ固定された第1受け材と、
前記第2壁に固定される第2受け材と、
前記第1受け材及び前記第2受け材の上に載って前記第1受け材及び前記第2受け材に支持される座板と、
下段面と、前記下段面の前において前記下段面よりも高い上段面と、を上面に有する前框と、
を備え、
前記座板が前記下段面に載って前記前框に固定される
ことを特徴とするベンチ。
続きを表示(約 770 文字)
【請求項2】
請求項1に記載のベンチであって、
前記前框が、
前記下段面を上面に有する第1框と、
前記第1框の前に接合され、前記下段面から上方に突出し、前記上段面を上面に有する第2框と、
を有する
ことを特徴とするベンチ。
【請求項3】
請求項1又は2に記載のベンチであって、
前記上段面及び前記座板の上面に貼り付けられるトップ化粧シートと、
前記トップ化粧シートの前縁から連続し、前記前框の前面に貼り付けられるフロント化粧シートと、
を備えることを特徴とするベンチ。
【請求項4】
請求項1又は2に記載のベンチであって、
前記前框の後方において前記座板の下面に、又は前記座板の下方において前記前框の後面に取り付けられる照明器と、
前記照明器に接続され、前記照明器から前記第1壁又は前記第2壁の穴を通じて前記第1壁の内部まで配線される電線と、
を備え、
前記穴が前記座板よりも下に配置されている
ことを特徴とするベンチ。
【請求項5】
玄関扉と、前記玄関扉の脇及びその対向位置に配置される一対の第1壁と、前記一対の第1壁の間に設けられる第2壁と、を有する玄関であって、
前記一対の第1壁にそれぞれ固定された第1受け材と、
前記第2壁に固定される第2受け材と、
前記第1受け材及び前記第2受け材の上に載って前記第1受け材及び前記第2受け材に支持される座板と、
下段面と、前記下段面の前において前記下段面よりも高い上段面と、を上面に有する前框と、
を備え、
前記座板が前記下段面に載って前記前框に固定される
ことを特徴とする玄関。
発明の詳細な説明
【技術分野】
【0001】
本発明は、ベンチ及び玄関に関する。
続きを表示(約 2,300 文字)
【背景技術】
【0002】
非特許文献1は、左右の側壁及び奥の壁によって囲まれた領域に設置されたベンチを開示する。人がベンチに座り、或いは、物がベンチの上に置かれることから、ベンチの耐荷重が高ければ高いほど良い。
【先行技術文献】
【非特許文献】
【0003】
インターネット<URL: https://yukobo.jp/parts-gallery/post-15102/>
【発明の概要】
【発明が解決しようとする課題】
【0004】
本発明は上記事情に鑑みてなされたものであり、本発明の目的は、耐荷重の高いベンチを提供することである。
【課題を解決するための手段】
【0005】
以下の括弧書きで示された参照符号は図1~図7において参照される。
【0006】
請求項1によれば、
互いに対向する一対の第1壁(46及び47)と、前記一対の第1壁(46及び47)の間に設けられた第2壁(11)とに固定されるベンチ(60)であって、
前記一対の第1壁(46及び47)にそれぞれ固定された第1受け材(61及び62)と、
前記第2壁(11)に固定される第2受け材(63)と、
前記第1受け材(61及び62)及び前記第2受け材(63)の上に載って前記第1受け材(61及び62)及び前記第2受け材(63)に支持される座板(64)と、
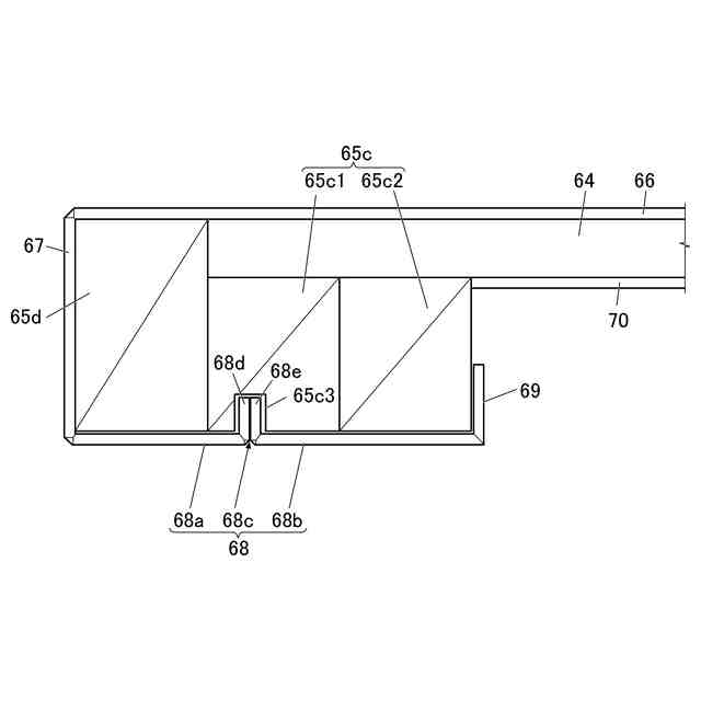
下段面(65a)と、前記下段面(65a)の前において前記下段面(65a)よりも高い上段面(65b)と、を上面に有する前框(65)と、
を備え、
前記座板(64)が前記下段面(65a)に載って前記前框(65)に固定される
ことを特徴とするベンチ(60)が提供される。
【0007】
請求項5によれば、
玄関扉(16)と、前記玄関扉(16)の脇及びその対向位置に配置される一対の第1壁(46及び47)と、前記一対の第1壁(46及び47)の間に設けられる第2壁(11)と、を有する玄関(40)であって、
前記一対の第1壁(46及び47)にそれぞれ固定された第1受け材(61及び62)と、
前記第2壁(11)に固定される第2受け材(63)と、
前記第1受け材(61及び62)及び前記第2受け材(63)の上に載って前記第1受け材(61及び62)及び前記第2受け材(63)に支持される座板(64)と、
下段面(65a)と、前記下段面(65a)の前において前記下段面(65a)よりも高い上段面(65b)と、を上面に有する前框(65)と、
を備え、
前記座板(64)が前記下段面(65a)に載って前記前框(65)に固定される
ことを特徴とする玄関(40)が提供される。
【0008】
以上のような請求項1及び5によれば、座板(64)が第1受け材(61及び62)及び第2受け材(63)の上に載って第1受け材(61及び62)及び第2受け材(63)に支持されることから、座板(64)に座った人の体重が座板(64)、第1受け材(61及び62)及び第2受け材(63)を通じて第1壁(46及び47)及び第2壁(11)によって支えられる。
座板(64)が前框(65)の下段面(65a)に載っていることから、座板(64)の前端が前框(65)によって下から支えられて補強されるため、人が座板(64)の前端の上に腰を掛けても、その人の体重が座板(64)を通じて第1受け材(61及び62)及び第2受け材(63)に掛かる。このことは、ベンチ(60)の耐荷重の向上に寄与する。
前框(65)が下段面(65a)の前において下段面(65a)よりも高い上段面(65b)を有することから、前框(65)のうち上段面(65b)と下段面(65a)の間の部分が座板(64)の前端面を隠して保護する。つまり、座板(64)の前端がその前からも下からも前框(65)によって保護されて補強される。このことは、ベンチ(60)の耐荷重の向上に寄与する。
【0009】
請求項2によれば、
請求項1に記載のベンチ(60)であって、
前記前框(65)が、
前記下段面(65a)を上面に有する第1框(65c)と、
前記第1框(65c)の前に接合され、前記下段面(65a)から上方に突出し、前記上段面(65b)を上面に有する第2框(65d)と、
を有する
ことを特徴とするベンチ(60)が提供される。
【0010】
以上のような請求項2によれば、座板(64)が第1框(65c)の上面である下段面(65a)に載っていることから、座板(64)の前端が第1框(65c)によって下から支えられて補強されるため、人が座板(64)の前端の上に腰を掛けても、その人の体重が座板(64)を通じて第1受け材(61及び62)及び第2受け材(63)に掛かる。このことは、ベンチ(60)の耐荷重の向上に寄与する。
第2框(65d)が第1框(65c)の上面たる下段面(65a)から上方に突出することから、第2框(65d)が座板(64)の前端面を隠して保護する。つまり、座板(64)の前端がその前から第2框(65d)によって保護されて補強され、座板(64)の前端がその下から第1框(65c)によって保護されて補強される。このことは、ベンチ(60)の耐荷重の向上に寄与する。
(【0011】以降は省略されています)
この特許をJ-PlatPat(特許庁公式サイト)で参照する
関連特許
個人
接合構造
7日前
個人
屋台
24日前
個人
タッチミー
6日前
個人
野良猫ハウス
1か月前
個人
フェンス
1か月前
個人
転落防止用手摺
1か月前
個人
ベンリナアングル
6日前
個人
筋交自動設定装置
14日前
個人
地下型マンション
3か月前
ニチハ株式会社
建築板
1か月前
個人
居住車両用駐車場
1か月前
積水樹脂株式会社
柵体
1か月前
個人
鋼管結合資材
3か月前
個人
熱抵抗多層断熱建材
1か月前
株式会社タナクロ
テント
3か月前
個人
柵
2か月前
個人
補強部材
1か月前
個人
身体用シェルター
14日前
個人
身体用シェルター
14日前
成友建設株式会社
建物
1か月前
鹿島建設株式会社
壁体
1か月前
個人
循環流水式屋根融雪装置
3か月前
株式会社熊谷組
吊り治具
11日前
三協立山株式会社
構造体
14日前
インターマン株式会社
天井構造
2か月前
三協立山株式会社
構造体
14日前
三協立山株式会社
構造体
14日前
三協立山株式会社
構造体
14日前
株式会社熊谷組
床構成材
4日前
三協立山株式会社
構造体
14日前
株式会社熊谷組
木質材料
24日前
イワブチ株式会社
組立柱
1か月前
個人
可搬型供養墓
12日前
三協立山株式会社
構造体
14日前
三協立山株式会社
簡易建物
1か月前
株式会社山水
溝形鋼
2か月前
続きを見る
他の特許を見る