TOP
|
特許
|
意匠
|
商標
特許ウォッチ
Twitter
他の特許を見る
公開番号
2025152143
公報種別
公開特許公報(A)
公開日
2025-10-09
出願番号
2024053900
出願日
2024-03-28
発明の名称
小屋裏換気装置
出願人
日本化学産業株式会社
代理人
弁理士法人中川国際特許事務所
主分類
E04B
9/02 20060101AFI20251002BHJP(建築物)
要約
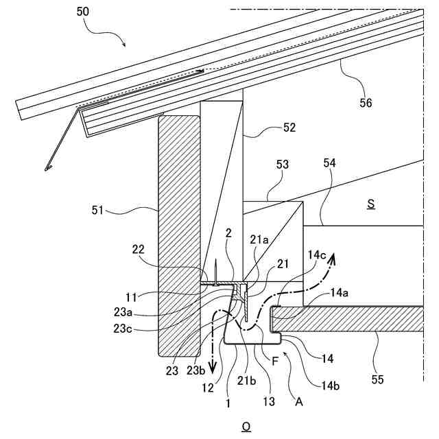
【課題】小屋裏換気装置の通気路内に回動可能な止水板を配置するとともに、止水板の止水機能を維持する小屋裏換気装置を提供する。
【解決手段】本発明は、小屋裏換気装置であって、外気開口と、通気口と、通気路と、前記外気開口と前記開口部との間に、それぞれから所定距離を置いて配設され、上縁が枢支されるとともに、下縁が自由端となり、さらに下垂状態において前記下縁の下方に前記通気路の一部が形成される止水板と、前記止水板の前記外気開口側に配置され、前記止水板に当接可能なストッパーと、を有し、前記通気路内の気圧について、前記外気開口側が前記小屋裏側に対して高圧になった際には前記止水板は前記通気口側に回動して前記通気路を閉鎖し、前記外気開口側が前記小屋裏側に対して低圧になった際には前記止水板は前記ストッパーに当接して前記下垂状態を維持して前記通気路を閉鎖しないことを特徴とする。
【選択図】図1
特許請求の範囲
【請求項1】
建築物の屋根の小屋裏を塞ぐように取り付け、外気と小屋裏との通気を制御する長尺状の小屋裏換気装置であって、
外気を取り込む外気開口と、
前記小屋裏に連通する通気口と、
前記外気開口と前記通気口との間に形成される通気路と、
前記外気開口と前記開口部との間に、それぞれから所定距離を置いて配設され、上縁が枢支されるとともに、下縁が自由端となり、さらに下垂状態において前記下縁の下方に前記通気路の一部が形成される止水板と、
前記止水板の前記外気開口側に配置され、前記止水板に当接可能なストッパーと、を有し、
前記通気路内の気圧について、前記外気開口側が前記小屋裏側に対して高圧になった際には前記止水板は前記通気口側に回動して前記通気路を閉鎖し、前記外気開口側が前記小屋裏側に対して低圧になった際には前記止水板は前記ストッパーに当接して前記下垂状態を維持して前記通気路を閉鎖しないことを特徴とする小屋裏換気装置。
続きを表示(約 440 文字)
【請求項2】
請求項1記載の小屋裏換気装置であって、
前記小屋裏換気装置は、前記通気路を有する金属製の本体と、前記止水板を有する合成樹脂製の止水板部材とからなり、
前記止水板部材は、前記止水板の下垂方向に対して交差するように横方向に延びる横板を有して、前記止水板部材は前記横板により前記本体に固定されることを特徴とする小屋裏換気装置。
【請求項3】
請求項2記載の小屋裏換気装置であって、
前記ストッパーは、合成樹脂により前記止水板部材と一体に形成されることを特徴とする小屋裏換気装置。
【請求項4】
請求項1乃至3のいずれか記載の小屋裏換気装置であって、
前記換気装置は、前記外気開口を形成する第1縦片と、対向するように前記通気口の下方に位置し、前記縦片に対向する位置する第2縦片と、を有し、
前記第2縦片には前記建築物の軒天材の縁部を差し込み可能な溝部を形成したことを特徴とする小屋裏換気装置。
発明の詳細な説明
【技術分野】
【0001】
本発明は、建築物の小屋裏と外気の換気を制御する装置に関する。
続きを表示(約 1,000 文字)
【背景技術】
【0002】
小屋裏の劣化の軽減を図るため、建築物の小屋裏空間と外気との間に換気通路を設けた換気装置を建築物の屋根の一部に取り付けて、換気を図ることが一般に行われている。
【0003】
そのうえで、悪天候の際は、雨水がこの換気通路を通して、外気側から小屋裏空間に侵入することを防ぐために、換気通路内に外気から大きい気圧が加えられた際に回動して、換気空間を閉鎖する開閉弁を取り付ける場合がある。
【0004】
このような、換気通路内の開閉弁については、次のような従来技術が存在する。
【先行技術文献】
【特許文献】
【0005】
特開2003-206606号
特開2008-304140号
【0006】
特許文献1に開示される装置は、建築物の軒天部に取り付けられる。この装置は、水平方向に開口している換気口(11)の近傍に下垂する開閉弁(12)を有している。この開閉弁(12)は上端が枢支され、下端部が自由端となっているプレートである。
【0007】
そして、強風時にはこの開閉弁(12)が回動して換気口(11)を塞ぐことで、雨水が換気通路(9)内に侵入することを防止する。一方で、風圧が弱まると、開閉弁(12)は自重で下垂し、換気口(11)を開放して、換気機能を回復する構造となっている。
【0008】
また、特許文献2に開示される装置は、通気用開口部(26)から建築物の通気用開口部(32)に連続する換気通路の途中に、同様に上端が枢支され、下端が自由端となったプレート状の閉塞部材(52)が取り付けられており、強風時は閉塞部材(52)が回動して、換気通路を閉鎖する。
【0009】
なお、この従来技術においては、閉塞部材(52)は通気用開口部(26)の正面に配置されるので、弱い圧力で雨水が通気用開口部(26)から侵入しても、雨水がその表面に付着して直下に滴下させる止水板としても機能する。
【0010】
このように、従来、特許文献1及び特許文献2のように、回動自在な部材により、強風時に通気空間を閉鎖可能とする構成があり、また、特許文献2のように、通気空間の閉鎖部材を、同時に雨水をブロックする止水板として使用する従来技術があった。
【発明の概要】
【発明が解決しようとする課題】
(【0011】以降は省略されています)
この特許をJ-PlatPat(特許庁公式サイト)で参照する
関連特許
日本化学産業株式会社
小屋裏換気装置
28日前
日本化学産業株式会社
土台水切りの遮水装置
27日前
個人
接合構造
1か月前
個人
タッチミー
1か月前
個人
屋台
1か月前
個人
野良猫ハウス
2か月前
個人
転落防止用手摺
1か月前
個人
フェンス
2か月前
個人
安心補助てすり
14日前
個人
居住車両用駐車場
2か月前
積水樹脂株式会社
柵体
1か月前
個人
筋交自動設定装置
1か月前
ニチハ株式会社
建築板
2か月前
個人
ベンリナアングル
1か月前
個人
熱抵抗多層断熱建材
2か月前
個人
補強部材
2か月前
個人
柵
3か月前
成友建設株式会社
建物
2か月前
個人
身体用シェルター
1か月前
個人
防災建築物
20日前
個人
身体用シェルター
1か月前
鹿島建設株式会社
壁体
2か月前
株式会社シンケン
住宅
15日前
三協立山株式会社
構造体
1か月前
株式会社熊谷組
吊り治具
1か月前
三協立山株式会社
構造体
1か月前
三協立山株式会社
構造体
1か月前
三協立山株式会社
構造体
1か月前
イワブチ株式会社
組立柱
1か月前
三協立山株式会社
構造体
1か月前
三協立山株式会社
構造体
1か月前
三洋工業株式会社
床構造
15日前
個人
可搬型供養墓
1か月前
株式会社熊谷組
床構成材
28日前
三協立山株式会社
構造体
15日前
インターマン株式会社
天井構造
2か月前
続きを見る
他の特許を見る