TOP
|
特許
|
意匠
|
商標
特許ウォッチ
Twitter
他の特許を見る
10個以上の画像は省略されています。
公開番号
2025151215
公報種別
公開特許公報(A)
公開日
2025-10-09
出願番号
2024052530
出願日
2024-03-27
発明の名称
遊技機
出願人
株式会社ニューギン
代理人
弁理士法人後藤特許事務所
主分類
A63F
7/02 20060101AFI20251002BHJP(スポーツ;ゲーム;娯楽)
要約
【課題】遊技の興趣を向上させる。
【解決手段】
通常遊技状態よりも遊技者にとって有利な特定遊技状態をとり得る遊技機において、終了条件が成立すると、前記特定遊技状態が終了し、前記終了条件には、主となる条件と、主とならない条件と、があり、前記主となる条件が成立するまでの過程において、当該過程の進行の程度は示され、前記主とならない条件が成立するまでの過程において、当該過程の進行の程度が示されず、前記主となる条件は、前記主とならない条件よりも成立する頻度が高く、前記主とならない条件が成立するまでの過程の進行の程度は示されないが、当該過程が進行していることを示唆する演出が実行される。
【選択図】図12
特許請求の範囲
【請求項1】
通常遊技状態よりも遊技者にとって有利な特定遊技状態をとり得る遊技機において、
終了条件が成立すると、前記特定遊技状態が終了し、
前記終了条件には、主となる条件と、主とならない条件と、があり、
前記主となる条件が成立するまでの過程において、当該過程の進行の程度は示され、
前記主とならない条件が成立するまでの過程において、当該過程の進行の程度が示されず、
前記主となる条件は、前記主とならない条件よりも成立する頻度が高く、
前記主とならない条件が成立するまでの過程の進行の程度は示されないが、当該過程が進行していることを示唆する演出が実行されることを特徴とする遊技機。
続きを表示(約 210 文字)
【請求項2】
前記主とならない条件が成立するための第1過程の進行後、前記主となる条件が成立するための第2過程が進行した場合に、
前記第1過程が進行していることを示唆する第1演出から、前記第2過程が進行していることを示唆する第2演出に切り替わり、前記第1演出と前記第2演出とで少なくとも一部が共通し、
前記第1過程の少なくとも一部は、前記第2過程に含まれないことを特徴とする請求項1に記載の遊技機。
発明の詳細な説明
【技術分野】
【0001】
本発明は、遊技機に関する。
続きを表示(約 1,600 文字)
【背景技術】
【0002】
従来、変動表示ゲームの実行される回数に基づいて時短状態(特定遊技状態)が終了する遊技機が存在している(例えば、特許文献1)。
【先行技術文献】
【特許文献】
【0003】
特開2015-221239号公報
【発明の概要】
【発明が解決しようとする課題】
【0004】
しかしながら、従来の遊技機において、遊技の興趣を向上させる余地があった。
【0005】
そこで、本発明は、遊技の興趣を向上させることを目的とする。
【課題を解決するための手段】
【0006】
本発明の代表的な一形態では、通常遊技状態よりも遊技者にとって有利な特定遊技状態をとり得る遊技機において、終了条件が成立すると、前記特定遊技状態が終了し、前記終了条件には、主となる条件と、主とならない条件と、があり、前記主となる条件が成立するまでの過程において、当該過程の進行の程度は示され、前記主とならない条件が成立するまでの過程において、当該過程の進行の程度が示されず、前記主となる条件は、前記主とならない条件よりも成立する頻度が高く、前記主とならない条件が成立するまでの過程の進行の程度は示されないが、当該過程が進行していることを示唆する演出が実行される。
【発明の効果】
【0007】
本発明の一形態によれば、遊技の興趣を向上できる。
【図面の簡単な説明】
【0008】
遊技機を前面側から見た図である。
遊技盤の正面図である。
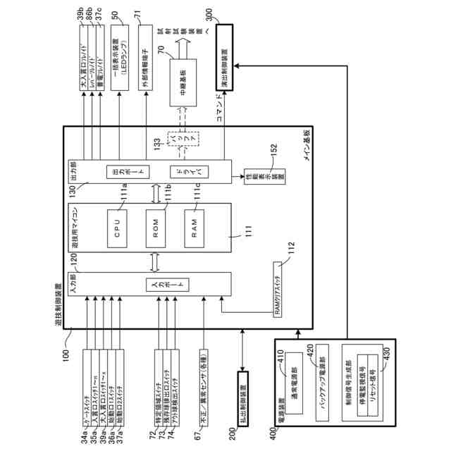
遊技機の遊技制御系の構成例を示すブロック図である。
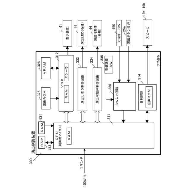
遊技機の演出制御系の構成例を示すブロック図である。
遊技状態の遷移を例示する遊技状態遷移図(ゲームフロー)である。
特図変動表示ゲームの当り図柄の種類(当り結果の種類)とこれに対応する当りの内容を例示するテーブルである。
特定遊技状態が終了する終了条件を例示するテーブルである。
表示装置の表示画面を時系列で示した画面遷移図であり、特定遊技状態から通常遊技状態に移行する場合の画面遷移を例示する。
図8に続く画面遷移図である。
図9に続く画面遷移図である。
変動終了後のインターバル期間を例示するタイムチャートである。
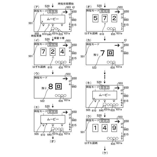
表示装置の表示画面を時系列で示した画面遷移図の別例であり、特定遊技状態から通常遊技状態に移行する場合の画面遷移を例示する。
図12に続く画面遷移図である。
表示装置の表示画面を時系列で示した画面遷移図であり、小当りが発生して、時短終了条件が成立する場合の画面遷移を例示する。
普図STに係る変形例において、特定遊技状態が終了する終了条件を例示するテーブルである。
普図STに係る変形例において、表示装置の表示画面を時系列で示した画面遷移図であり、普図当りが発生した後に、特図2変動回数が1回となり時短終了条件が成立する場合の画面遷移を例示する。
【発明を実施するための形態】
【0009】
[実施形態]
以下、本発明の好適な実施の形態を図面に基づいて説明する。なお、遊技機の説明における前(表)、後(裏)、左、右とは、遊技中の遊技者から見た方向を基準とする。
【0010】
〔遊技機全体図〕
図1は、パチンコ機としての遊技機10を説明する図である。本実施形態の遊技機10は、封入式の遊技機(スマートパチンコ機)であり、遊技媒体としての遊技球は遊技機内部を循環して、上皿などの皿に遊技価値として付与されることはない。遊技価値は、遊技媒体(遊技球)に代えて、数値データとして付与される。なお、以下の実施形態の構成は、封入式でない遊技機にも適用可能である。
(【0011】以降は省略されています)
この特許をJ-PlatPat(特許庁公式サイト)で参照する
関連特許
株式会社ニューギン
遊技機
1か月前
株式会社ニューギン
遊技機
1か月前
株式会社ニューギン
遊技機
1か月前
株式会社ニューギン
遊技機
1か月前
株式会社ニューギン
遊技機
1か月前
株式会社ニューギン
遊技機
1か月前
株式会社ニューギン
遊技機
1か月前
株式会社ニューギン
遊技機
1か月前
株式会社ニューギン
遊技機
1か月前
株式会社ニューギン
島設備
1か月前
株式会社ニューギン
遊技機
1か月前
株式会社ニューギン
遊技機
1か月前
株式会社ニューギン
遊技機
3日前
株式会社ニューギン
遊技機
1か月前
株式会社ニューギン
遊技機
1か月前
株式会社ニューギン
遊技機
9日前
株式会社ニューギン
遊技機
24日前
株式会社ニューギン
遊技機
16日前
株式会社ニューギン
遊技機
16日前
株式会社ニューギン
遊技機
1か月前
個人
玩具
2か月前
個人
玩具
5か月前
個人
自走玩具
2か月前
個人
玩具
9か月前
個人
ゲーム玩具
6か月前
個人
小型卓球台
26日前
個人
運動補助具
4か月前
個人
パズル
27日前
個人
打撃練習用具
1か月前
株式会社三共
遊技機
1か月前
株式会社三共
遊技機
1か月前
株式会社三共
遊技機
1か月前
株式会社三共
遊技機
1か月前
株式会社三共
遊技機
1か月前
株式会社三共
遊技機
1か月前
株式会社三共
遊技機
7か月前
続きを見る
他の特許を見る