TOP
|
特許
|
意匠
|
商標
特許ウォッチ
Twitter
他の特許を見る
公開番号
2025158639
公報種別
公開特許公報(A)
公開日
2025-10-17
出願番号
2024061383
出願日
2024-04-05
発明の名称
島設備
出願人
株式会社ニューギン
代理人
個人
,
個人
,
個人
主分類
A63F
7/02 20060101AFI20251009BHJP(スポーツ;ゲーム;娯楽)
要約
【課題】単位面積あたりの遊技機器の設置数を増やすことができる島設備を提供する。
【解決手段】複数の遊技機器として複数の遊技機20及び複数の管理ユニット30を第1方向に沿って並ぶように設置可能な島設備10において、1以上の遊技機器を設置するための設置空間を形成する設置部材と、第2島柱11bと、を備え、第2島柱11bは、設置空間よりも下方にある下支持部112と、垂直方向である第2方向D2に沿って延びており、かつ設置空間に対応する高さにある支柱部114と、を有し、支柱部114は、第1方向及び第2方向D2と交差する第3方向D3において、設置空間よりも奥側に設けられている。
【選択図】図3
特許請求の範囲
【請求項1】
複数の遊技機器を第1方向に沿って並ぶように設置可能な島設備において、
1以上の前記遊技機器を設置するための設置空間を形成する設置部材と、
柱部材と、を備え、
前記柱部材は、前記設置空間よりも下方にある第1部分と、垂直方向である第2方向に沿って延びており、かつ前記設置空間に対応する高さにある第2部分と、を有し、
前記第2部分は、前記第1方向及び前記第2方向と交差する第3方向において、前記設置空間よりも奥側に設けられていることを特徴とする島設備。
発明の詳細な説明
【技術分野】
【0001】
本発明は、島設備に関する。
続きを表示(約 2,300 文字)
【背景技術】
【0002】
従来、島設備には、パチンコ遊技機や回胴式遊技機といった遊技機が水平方向に沿って並ぶように設置される。また、島設備には、遊技機と並んで外部機器が設置される。遊技機及び外部機器は、遊技を提供するための遊技機器の一例である。島設備は、遊技機及び外部機器の下部を固定するための部材と、遊技機及び外部機器の上部を固定するための部材と、複数の柱部材と、を含んで構成される(例えば、特許文献1)。各柱部材は、遊技機と外部機器との間に挟まれる位置に設けられている。よって、遊技機及び外部機器が並ぶ方向に沿った島設備の長さは、遊技機の設置数、及び外部機器の設置数に加えて、柱部材の設置数に応じて異なる。
【先行技術文献】
【特許文献】
【0003】
特開2007-68966号公報
【発明の概要】
【発明が解決しようとする課題】
【0004】
十分なスペースを確保できない状況では、限られたスペースに、より多くの遊技機器を設置することが望ましい。例えば、柱部材の設置数を削減することにより、遊技機器の設置数を増やすことも可能と考えられるが、島設備としての強度が低下してしまう虞がある。柱部材の設置数の削減によらずに、単位面積あたりの遊技機器の設置数を増やすことが期待されている。
【課題を解決するための手段】
【0005】
上記課題を解決する島設備は、複数の遊技機器を第1方向に沿って並ぶように設置可能な島設備において、1以上の前記遊技機器を設置するための設置空間を形成する設置部材と、柱部材と、を備え、前記柱部材は、前記設置空間よりも下方にある第1部分と、垂直方向である第2方向に沿って延びており、かつ前記設置空間に対応する高さにある第2部分と、を有し、前記第2部分は、前記第1方向及び前記第2方向と交差する第3方向において、前記設置空間よりも奥側に設けられていることを要旨とする。
【発明の効果】
【0006】
本発明によれば、単位面積あたりの遊技機器の設置数を増やすことができる。
【図面の簡単な説明】
【0007】
図1は、島設備を模式的に示す正面図である。
図2は、図1に示す島設備の平面図である。
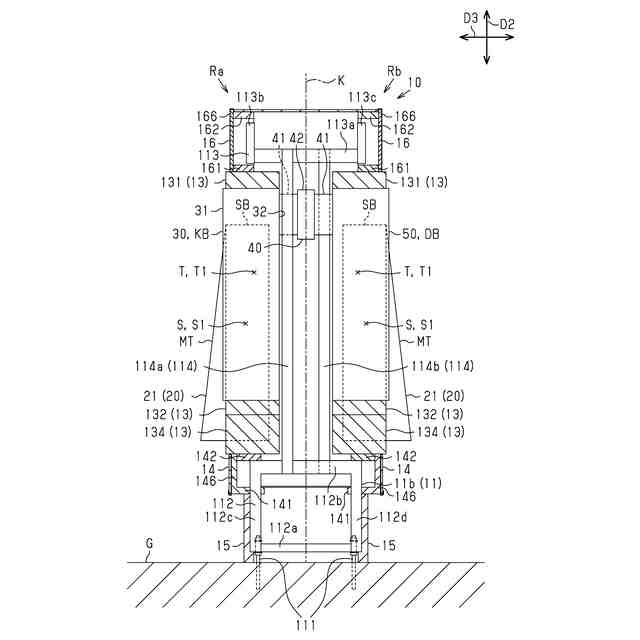
図3は、図2に示す3-3線矢視の断面図である。
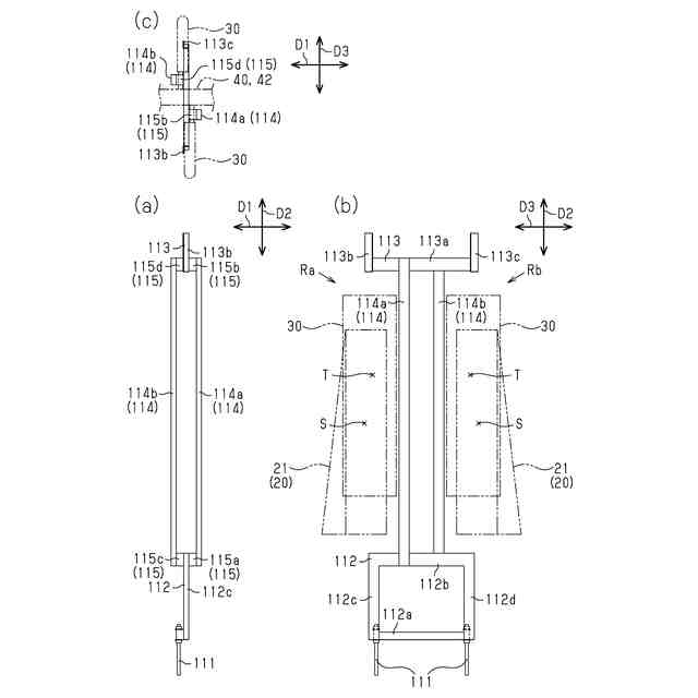
図4(a)は、第3方向からみたときの島柱を示す図であり、図4(b)は、第1方向からみたときの島柱を示す図であり、図4(c)は、第2方向からみたときの島柱を示す図である。
図5は、島柱の斜視図である。
【発明を実施するための形態】
【0008】
以下、島設備の一実施形態について説明する。
(島設備の概要)
図1~図3に示すように、島設備10は、遊技施設等に設置される。島設備10は、複数の遊技機20を設置できる。島設備10は、複数種類の遊技機20を設置できる。一例として、遊技機20は、回胴式遊技機21である。これに限らず、遊技機20は、パチンコ遊技機であってもよく、アレンジボール遊技機であってもよく、じやん球遊技機であってもよい。遊技機20は、遊技を提供するための遊技機器の一例である。島設備10において、複数の遊技機20は、1列又は複数列で、所定方向に沿って並ぶように設置される。複数の遊技機20が並ぶ方向は、島設備10の第1方向D1である。一例として、島設備10は、第1方向D1に沿って、第1列Ra及び第2列Rbの2列で並ぶように、複数の遊技機20を設置可能に構成される。第1列Raの遊技機20と、第2列Rbの遊技機20とは、互いに平行に、かつ背中合わせで並ぶ。
【0009】
一例として、島設備10の高さ方向に相当する第2方向D2は、垂直方向と一致する。第1方向D1と第2方向D2とに交差(好ましくは直交)する方向は、島設備10の第3方向D3である。第1方向D1及び第3方向D3は、水平方向に含まれるとよい。以下の説明で示す上、下、左、右、前(表)、及び後(奥)の各方向は、特に断らない限り、第1列Raの遊技機20が設置されていると仮定し、各遊技機20を正面からみたときの各方向を示す。なお、これらのうち左、右、前、及び後の各方向は、第2列Rbの遊技機20が設置されていると仮定し、各遊技機20を正面からみたときの各方向とは逆方向になる。本明細書において、遊技機20を含む各機器について示す正面とは、当該各機器を遊技者が操作する場合に遊技者から見たときの方向を示すものとする。
【0010】
島設備10は、第1列Ra及び第2列Rbにおいて、それぞれ複数の管理ユニット30を設置できる。一例として、管理ユニット30は、遊技に使用する遊技媒体を管理するための機器である。管理ユニット30は、遊技を提供するための遊技機器の一例である。島設備10において、各遊技機20には、1つの管理ユニット30が併設される。島設備10は、遊技機20と管理ユニット30とが対をなす複数の遊技機器を第1方向D1に沿って並ぶように設置可能に構成されているといえる。各管理ユニット30は、1つの遊技機20と接続される。一例として、管理ユニット30は、当該管理ユニット30と対をなす遊技機20を正面からみたときに、その左側に設置される。これに限らず、管理ユニット30は、当該管理ユニット30と対をなす遊技機20を正面からみたときに、その右側に設置されてもよい。
(【0011】以降は省略されています)
この特許をJ-PlatPat(特許庁公式サイト)で参照する
関連特許
株式会社ニューギン
遊技機
1か月前
株式会社ニューギン
遊技機
1か月前
株式会社ニューギン
遊技機
1か月前
株式会社ニューギン
遊技機
1か月前
株式会社ニューギン
遊技機
1か月前
株式会社ニューギン
遊技機
1か月前
株式会社ニューギン
遊技機
1か月前
株式会社ニューギン
遊技機
1か月前
株式会社ニューギン
遊技機
1か月前
株式会社ニューギン
遊技機
1か月前
株式会社ニューギン
遊技機
1か月前
株式会社ニューギン
遊技機
1か月前
株式会社ニューギン
遊技機
1か月前
株式会社ニューギン
遊技機
1か月前
株式会社ニューギン
遊技機
1か月前
株式会社ニューギン
遊技機
1か月前
株式会社ニューギン
遊技機
1か月前
株式会社ニューギン
遊技機
1か月前
株式会社ニューギン
遊技機
1か月前
株式会社ニューギン
遊技機
1か月前
株式会社ニューギン
遊技機
1か月前
株式会社ニューギン
遊技機
1か月前
株式会社ニューギン
遊技機
1か月前
株式会社ニューギン
遊技機
1か月前
株式会社ニューギン
遊技機
1か月前
株式会社ニューギン
遊技機
1か月前
株式会社ニューギン
遊技機
1か月前
株式会社ニューギン
遊技機
1か月前
株式会社ニューギン
島設備
1か月前
株式会社ニューギン
遊技機
1か月前
株式会社ニューギン
遊技機
1か月前
株式会社ニューギン
遊技機
1か月前
株式会社ニューギン
遊技機
1か月前
株式会社ニューギン
遊技機
1か月前
株式会社ニューギン
遊技機
10日前
株式会社ニューギン
遊技機
17日前
続きを見る
他の特許を見る