TOP
|
特許
|
意匠
|
商標
特許ウォッチ
Twitter
他の特許を見る
10個以上の画像は省略されています。
公開番号
2025142190
公報種別
公開特許公報(A)
公開日
2025-09-30
出願番号
2024228943
出願日
2024-12-25
発明の名称
遊技機
出願人
株式会社ニューギン
代理人
弁理士法人後藤特許事務所
主分類
A63F
7/02 20060101AFI20250922BHJP(スポーツ;ゲーム;娯楽)
要約
【課題】遊技の興趣を向上させる。
【解決手段】
遊技機において、所定期間内に所定報知を実行可能な報知実行手段を備え、ベース値の高い特定状態を発生可能であり、所定期間は、特定状態の終了後から第1入賞手段への遊技球の入球に基づく変動ゲームが開始するまでの特殊期間の少なくとも一部を含み、所定報知は、第1入賞手段への遊技球の入球が可能な発射操作を促す報知であり、少なくとも変動ゲームの実行が制限される遊技制限状態において、所定報知は中止又は中断され、遊技制限状態は、第1入賞手段を含む入賞手段への遊技球の入球に起因して発生可能であり、所定期間と異なる特定期間では、入賞手段への遊技球の入球があっても遊技制限状態の発生が猶予可能であり、特定演出の実行中において、所定報知を実行可能であり、特定演出の実行中であっても、第1入賞手段を含む入賞手段への遊技球の入球を契機として前記遊技制限状態は発生可能である。
【選択図】図5
特許請求の範囲
【請求項1】
遊技に係る制御を実行可能な遊技機において、
遊技に関する情報を記憶可能な記憶手段と、
所定期間内に所定報知を実行可能な報知実行手段と、を備え、
所定状態と、前記所定状態に比較してベース値の高い特定状態を発生可能であり、前記記憶手段の初期化以降に実行された変動ゲームの結果に応じて前記特定状態を発生可能であり、
前記所定期間は、前記特定状態の終了後から第1入賞手段への遊技球の入球に基づく変動ゲームが開始するまでの特殊期間の少なくとも一部を含み、
前記所定報知は、前記第1入賞手段への遊技球の入球が可能な発射操作を促す報知であり、
前記報知実行手段は、特定のエラーが発生した場合でも、前記所定報知を実行可能であり、
遊技として少なくとも変動ゲームの実行が制限される遊技制限状態において、前記所定報知は中止又は中断され、
前記遊技制限状態は、前記第1入賞手段を含む入賞手段への遊技球の入球に起因して発生可能であり、
前記所定期間と異なる特定期間では、前記入賞手段への遊技球の入球があっても前記遊技制限状態の発生が猶予可能であり、
前記特殊期間において、前記遊技制限状態の発生と異なる所定条件が成立したとき、前記所定報知の実行が中止又は中断され、
特定演出の実行中において、前記所定報知を実行可能であり、
前記特定演出の実行中であっても、前記第1入賞手段を含む前記入賞手段への遊技球の入球を契機として前記遊技制限状態は発生可能であることを特徴とする遊技機。
続きを表示(約 770 文字)
【請求項2】
遊技に係る制御を実行可能な遊技機において、
遊技に関する情報を記憶可能な記憶手段と、
所定期間内に所定報知を実行可能な報知実行手段と、を備え、
所定状態と、前記所定状態よりも遊技価値の獲得に関して有利な特別状態を発生可能であり、前記記憶手段の初期化以降に実行された変動ゲームの結果に応じて前記特別状態を発生可能であり、
前記所定期間は、前記特別状態の終了後から第1入賞手段への遊技球の入球に基づく変動ゲームが開始するまでの特殊期間の少なくとも一部を含み、
前記所定報知は、前記第1入賞手段への遊技球の入球が可能な発射操作を促す報知であり、
前記報知実行手段は、特定のエラーが発生した場合でも、前記所定報知を実行可能であり、
遊技として少なくとも変動ゲームの実行が制限される遊技制限状態において、前記所定報知は中止又は中断され、
前記遊技制限状態は、前記第1入賞手段を含む入賞手段への遊技球の入球に起因して発生可能であり、
前記特別状態では、前記入賞手段への遊技球の入球があっても前記遊技制限状態の発生が猶予可能であり、
前記特殊期間において、前記遊技制限状態の発生と異なる所定条件が成立したとき、前記所定報知の実行が中止又は中断され、
特定演出の実行中において、前記所定報知を実行可能であり、
前記特定演出の実行中であっても、前記第1入賞手段を含む前記入賞手段への遊技球の入球を契機として前記遊技制限状態は発生可能であることを特徴とする遊技機。
【請求項3】
前記所定報知は、動的要素を含む態様で実行され、保留に関連する表示の視認を阻害しないことを特徴とする請求項1または請求項2に記載の遊技機。
発明の詳細な説明
【技術分野】
【0001】
本発明は、遊技機に関する。
続きを表示(約 1,700 文字)
【背景技術】
【0002】
従来、遊技に関する演出を実行可能な遊技機が存在している(例えば、特許文献1)。
【先行技術文献】
【特許文献】
【0003】
特開2015-221239号公報
【発明の概要】
【発明が解決しようとする課題】
【0004】
しかしながら、従来の遊技機において、遊技の興趣を向上させる余地があった。
【0005】
そこで、本発明は、遊技の興趣を向上させることを目的とする。
【課題を解決するための手段】
【0006】
本発明の代表的な一形態では、遊技に係る制御を実行可能な遊技機において、遊技に関する情報を記憶可能な記憶手段と、所定期間内に所定報知を実行可能な報知実行手段と、を備え、所定状態と、前記所定状態に比較してベース値の高い特定状態を発生可能であり、前記記憶手段の初期化以降に実行された変動ゲームの結果に応じて前記特定状態を発生可能であり、前記所定期間は、前記特定状態の終了後から第1入賞手段への遊技球の入球に基づく変動ゲームが開始するまでの特殊期間の少なくとも一部を含み、前記所定報知は、前記第1入賞手段への遊技球の入球が可能な発射操作を促す報知であり、前記報知実行手段は、特定のエラーが発生した場合でも、前記所定報知を実行可能であり、遊技として少なくとも変動ゲームの実行が制限される遊技制限状態において、前記所定報知は中止又は中断され、前記遊技制限状態は、前記第1入賞手段を含む入賞手段への遊技球の入球に起因して発生可能であり、前記所定期間と異なる特定期間では、前記入賞手段への遊技球の入球があっても前記遊技制限状態の発生が猶予可能であり、前記特殊期間において、前記遊技制限状態の発生と異なる所定条件が成立したとき、前記所定報知の実行が中止又は中断され、特定演出の実行中において、前記所定報知を実行可能であり、前記特定演出の実行中であっても、前記第1入賞手段を含む前記入賞手段への遊技球の入球を契機として前記遊技制限状態は発生可能である。
【発明の効果】
【0007】
本発明の一形態によれば、遊技の興趣を向上できる。
【図面の簡単な説明】
【0008】
遊技機を前面側から見た図である。
遊技盤の正面図である。
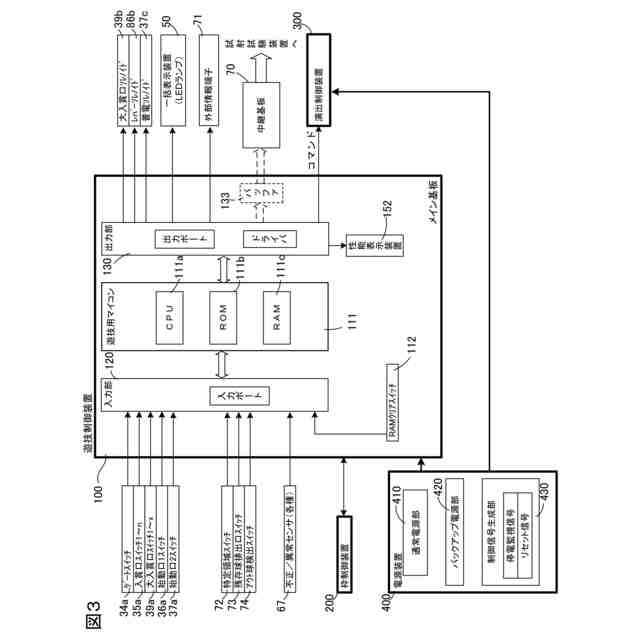
遊技機の遊技制御系の構成例を示すブロック図である。
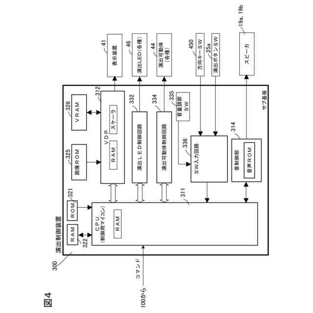
遊技機の演出制御系の構成例を示すブロック図である。
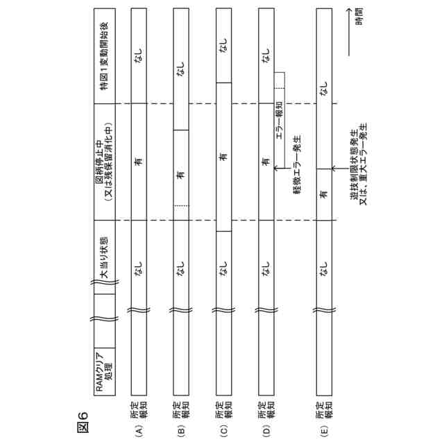
時短状態(特定状態)が発生する場合に所定報知が実行可能となる所定期間を説明するタイムチャートである。
大当り状態(特別状態)が発生する場合に所定報知が実行可能となる所定期間を説明するタイムチャートである。
所定報知として左打ち指示表示を例示するとともに、表示装置41の表示画面を時系列で例示した画面遷移図である。
残保留消化中(特殊期間)における表示装置の表示画面を時系列で例示した画面遷移図である。
大当り状態後の図柄停止中(特殊期間)における表示装置の表示画面を時系列で例示した画面遷移図である。
特図1変動表示ゲームの開始後の通常遊技状態(非有利状態)における表示装置41の表示画面を時系列で例示した画面遷移図である。
【発明を実施するための形態】
【0009】
[実施形態]
以下、本発明の好適な実施の形態を図面に基づいて説明する。なお、遊技機の説明における前(表)、後(裏)、左、右とは、遊技中の遊技者から見た方向を基準とする。
【0010】
〔遊技機全体図〕
図1は、パチンコ機としての遊技機10を説明する図である。本実施形態の遊技機10は、封入式の遊技機(スマートパチンコ機)であり、遊技媒体としての遊技球は遊技機内部を循環して、上皿などの皿に遊技価値として付与されることはない。遊技価値は、遊技媒体(遊技球)に代えて、数値データとして付与される。なお、以下の実施形態の構成は、封入式でない遊技機にも適用可能である。
(【0011】以降は省略されています)
この特許をJ-PlatPat(特許庁公式サイト)で参照する
関連特許
個人
玩具
3か月前
個人
玩具
1か月前
個人
自走玩具
1か月前
個人
盤上遊戯具
9か月前
個人
玩具
8か月前
個人
フィギュア
9か月前
個人
ゲーム玩具
5か月前
個人
運動補助具
3か月前
個人
打撃練習用具
13日前
株式会社三共
遊技機
26日前
株式会社三共
遊技機
27日前
株式会社三共
遊技機
1か月前
株式会社三共
遊技機
1か月前
株式会社三共
遊技機
1か月前
株式会社三共
遊技機
1か月前
株式会社三共
遊技機
1か月前
株式会社三共
遊技機
1か月前
株式会社三共
遊技機
1か月前
株式会社三共
遊技機
7か月前
株式会社三共
遊技機
7か月前
株式会社三共
遊技機
7か月前
株式会社三共
遊技機
27日前
株式会社三共
遊技機
27日前
株式会社三共
遊技機
27日前
株式会社三共
遊技機
1か月前
株式会社三共
遊技機
27日前
株式会社三共
遊技機
27日前
株式会社三共
遊技機
26日前
株式会社三共
遊技機
27日前
株式会社三共
遊技機
27日前
株式会社三共
遊技機
27日前
株式会社三共
遊技機
27日前
株式会社三共
遊技機
27日前
株式会社三共
遊技機
27日前
株式会社三共
遊技機
27日前
株式会社三共
遊技機
27日前
続きを見る
他の特許を見る