TOP
|
特許
|
意匠
|
商標
特許ウォッチ
Twitter
他の特許を見る
10個以上の画像は省略されています。
公開番号
2025161645
公報種別
公開特許公報(A)
公開日
2025-10-24
出願番号
2024065014
出願日
2024-04-12
発明の名称
遊技機
出願人
株式会社ニューギン
代理人
弁理士法人後藤特許事務所
主分類
A63F
7/02 20060101AFI20251017BHJP(スポーツ;ゲーム;娯楽)
要約
【課題】遊技機の品質を向上させる。
【解決手段】
ゲームの制御を行う制御装置を備える遊技機において、前記制御装置は、基板と、前記基板を覆うケース部材と、を備え、前記基板は、前記制御装置の外部と電気的に接続可能な配線の配線側コネクタが接続されるコネクタと、前記コネクタの周辺に当該コネクタに関する情報を表す第1文字情報と、前記コネクタの内側に当該コネクタに関する情報を表す第2文字情報と、を有し、前記ケース部材は、前記基板の表面に対して垂直方向に前記コネクタを露出させる開口を有し、前記基板を収容した状態で当該垂直方向に前記第1文字情報の少なくとも一部と重なり、前記ケース部材は、前記第2文字情報とは重ならない。
【選択図】図9
特許請求の範囲
【請求項1】
ゲームの制御を行う制御装置を備える遊技機において、
前記制御装置は、
基板と、
前記基板を覆うケース部材と、を備え、
前記基板は、
前記制御装置の外部と電気的に接続可能な配線の配線側コネクタが接続されるコネクタと、
前記コネクタの周辺に当該コネクタに関する情報を表す第1文字情報と、
前記コネクタの内側に当該コネクタに関する情報を表す第2文字情報と、を有し、
前記ケース部材は、前記基板の表面に対して垂直方向に前記コネクタを露出させる開口を有し、前記基板を収容した状態で当該垂直方向に前記第1文字情報の少なくとも一部と重なり、
前記ケース部材は、前記第2文字情報とは重ならないことを特徴とする遊技機。
発明の詳細な説明
【技術分野】
【0001】
本発明は、遊技機に関する。
続きを表示(約 1,300 文字)
【背景技術】
【0002】
従来、遊技を制御する制御装置の両面にパターンを導通させるように貫通孔を設ける際に、コネクタ周辺からの不正なアクセスを防げるように貫通孔の配設位置を改善した遊技機が存在している(例えば、特許文献1)。
【先行技術文献】
【特許文献】
【0003】
特開2020-120924号公報
【発明の概要】
【発明が解決しようとする課題】
【0004】
しかしながら、従来の遊技機において、不正なアクセスをより抑止して遊技機の品質を向上させる余地があった。
【0005】
そこで、本発明は、遊技機の品質を向上させることを目的とする。
【課題を解決するための手段】
【0006】
本発明の代表的な一形態では、ゲームの制御を行う制御装置を備える遊技機において、前記制御装置は、基板と、前記基板を覆うケース部材と、を備え、前記基板は、前記制御装置の外部と電気的に接続可能な配線の配線側コネクタが接続されるコネクタと、前記コネクタの周辺に当該コネクタに関する情報を表す第1文字情報と、前記コネクタの内側に当該コネクタに関する情報を表す第2文字情報と、を有し、前記ケース部材は、前記基板の表面に対して垂直方向に前記コネクタを露出させる開口を有し、前記基板を収容した状態で当該垂直方向に前記第1文字情報の少なくとも一部と重なり、前記ケース部材は、前記第2文字情報とは重ならない。
【発明の効果】
【0007】
本発明の一形態によれば、遊技機の品質を向上させることができる。
【図面の簡単な説明】
【0008】
遊技機を前面側から見た図である。
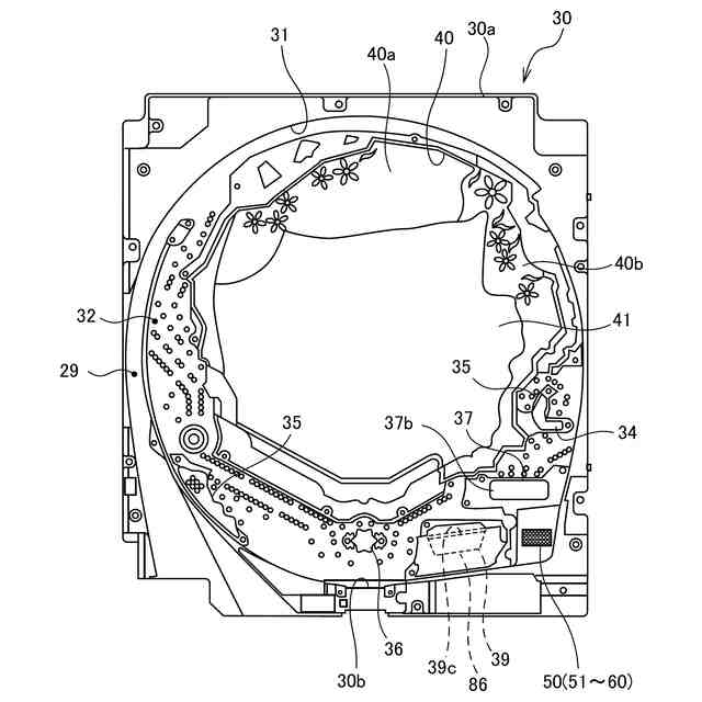
遊技盤の正面図である。
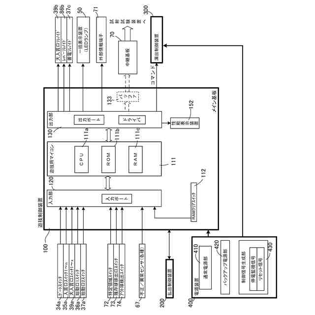
遊技機の遊技制御系の構成例を示すブロック図である。
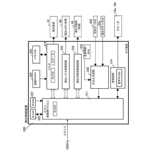
遊技機の演出制御系の構成例を示すブロック図である。
遊技機の裏面図である。
遊技制御装置の正面図である。
遊技制御装置の斜視図である。
遊技制御装置の一部を分解した斜視図である。
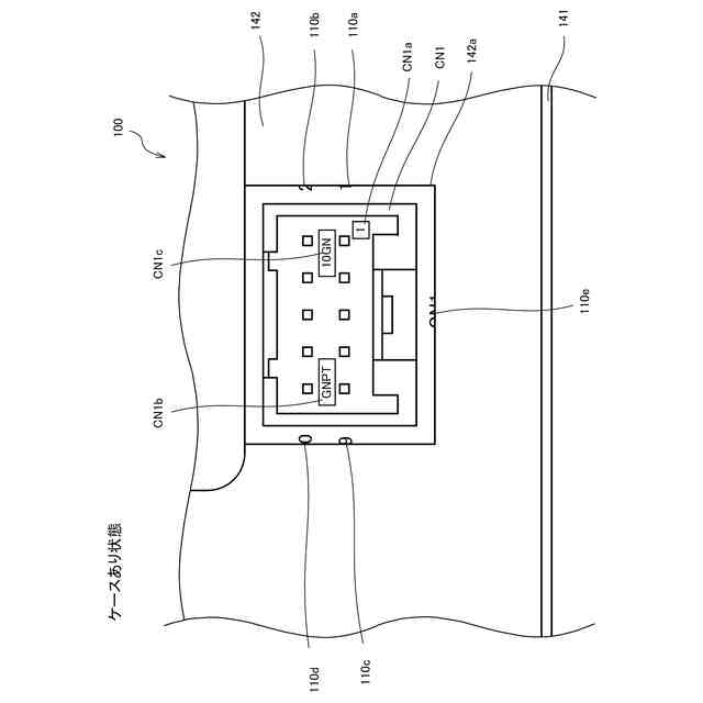
遊技制御装置の一部をケースがある状態で拡大した正面図である。
遊技制御装置の一部をケースがない状態で拡大した正面図である。
【発明を実施するための形態】
【0009】
[実施形態]
以下、本発明の好適な実施の形態を図面に基づいて説明する。なお、遊技機の説明における前(表)、後(裏)、左、右とは、遊技中の遊技者から見た方向を基準とする。
【0010】
〔遊技機全体図〕
図1は、パチンコ機としての遊技機10を説明する図である。本実施形態の遊技機10は、封入式の遊技機(スマートパチンコ機)であり、遊技媒体としての遊技球は遊技機内部を循環して、上皿などの皿に遊技価値として付与されることはない。遊技価値は、遊技媒体(遊技球)に代えて、数値データとして付与される。なお、以下の実施形態の構成は、封入式でない遊技機にも適用可能である。
(【0011】以降は省略されています)
この特許をJ-PlatPat(特許庁公式サイト)で参照する
関連特許
株式会社ニューギン
遊技機
1か月前
株式会社ニューギン
遊技機
1か月前
株式会社ニューギン
遊技機
1か月前
株式会社ニューギン
遊技機
1か月前
株式会社ニューギン
遊技機
1か月前
株式会社ニューギン
遊技機
1か月前
株式会社ニューギン
遊技機
1か月前
株式会社ニューギン
遊技機
1か月前
株式会社ニューギン
遊技機
1か月前
株式会社ニューギン
島設備
1か月前
株式会社ニューギン
遊技機
1か月前
株式会社ニューギン
遊技機
1か月前
株式会社ニューギン
遊技機
3日前
株式会社ニューギン
遊技機
1か月前
株式会社ニューギン
遊技機
1か月前
株式会社ニューギン
遊技機
9日前
株式会社ニューギン
遊技機
24日前
株式会社ニューギン
遊技機
16日前
株式会社ニューギン
遊技機
16日前
株式会社ニューギン
遊技機
1か月前
個人
玩具
2か月前
個人
玩具
5か月前
個人
自走玩具
2か月前
個人
ゲーム玩具
6か月前
個人
運動補助具
4か月前
個人
小型卓球台
26日前
個人
打撃練習用具
1か月前
個人
パズル
27日前
株式会社三共
遊技機
1か月前
株式会社三共
遊技機
1か月前
株式会社三共
遊技機
1か月前
株式会社三共
遊技機
1か月前
株式会社三共
遊技機
1か月前
株式会社三共
遊技機
1か月前
株式会社三共
遊技機
1か月前
株式会社三共
遊技機
1か月前
続きを見る
他の特許を見る