TOP
|
特許
|
意匠
|
商標
特許ウォッチ
Twitter
他の特許を見る
10個以上の画像は省略されています。
公開番号
2025168431
公報種別
公開特許公報(A)
公開日
2025-11-07
出願番号
2025139688,2022185145
出願日
2025-08-25,2022-11-18
発明の名称
遊技機
出願人
株式会社ニューギン
代理人
個人
,
個人
,
個人
主分類
A63F
5/04 20060101AFI20251030BHJP(スポーツ;ゲーム;娯楽)
要約
【課題】遊技者の興趣を向上できる遊技機を提供する。
【解決手段】演出実行手段(一例として表示演出装置15)は、特別演出(一例としてチャンスモード)を実行可能であり、特別演出は、第1パートと、第2パートと、を含んで構成され、第1パートに滞在中、特定図柄(一例として対応役)を停止表示可能であり、第1パートにおける特定図柄の停止表示に応じて、第2パートへ移行し、第2パートでは、有利状態への移行契機となり得る図柄が第1図柄であるときと、第2図柄であるときとで、有利状態への移行契機となりうる図柄の停止表示の発生期待度が異なる。
【選択図】図11
特許請求の範囲
【請求項1】
演出を実行できる演出実行手段と、
前記演出実行手段を制御する演出制御手段と、を備え、
前記演出実行手段は、特別演出を実行可能であり、前記特別演出は、第1パートと、第2パートと、を含んで構成され、
前記第1パートに滞在中、特定図柄を停止表示可能であり、前記第1パートにおける前記特定図柄の停止表示に応じて、前記第2パートへ移行し、
前記第1パートに滞在中、前記特定図柄が停止表示されることなく前記第1パートの終了条件が成立するとき、前記第2パートに移行することなく前記特別演出が終了することがあり、
前記特別演出が終了するとき、有利状態へ移行するときと、前記有利状態へ移行しないときと、があり、
前記第2パートには、前記有利状態への移行契機となりうる図柄が第1図柄である第2パートと、前記有利状態への移行契機となりうる図柄が第2図柄である第2パートとがあり、
前記有利状態への移行契機となりうる図柄が第2図柄である第2パートは、前記有利状態への移行契機となりうる図柄が第1図柄である第2パートよりも、移行契機となりうる図柄の停止表示の発生期待度が高いことを特徴とする遊技機。
発明の詳細な説明
【技術分野】
【0001】
この発明は、遊技機に関する。
続きを表示(約 1,900 文字)
【背景技術】
【0002】
従来、遊技機の一例として、スロットマシンが知られている。スロットマシンにおいて、遊技に関わる状態は、通常の状態に比べて、何らかの観点で有利な状態を含む。特許文献1に示すように、CZ(チャンスゾーン)、及びART(アシストリプレイタイム)などは、有利な状態として知られる。
【先行技術文献】
【特許文献】
【0003】
特開2016-120203号公報
【発明の概要】
【発明が解決しようとする課題】
【0004】
近年では、遊技が有利に展開されることに対する期待感を高め、さらに遊技者の興趣を向上させることが期待される。
【課題を解決するための手段】
【0005】
上記課題を解決する遊技機は、演出を実行できる演出実行手段と、前記演出実行手段を制御する演出制御手段と、を備え、前記演出実行手段は、特別演出を実行可能であり、前記特別演出は、第1パートと、第2パートと、を含んで構成され、前記第1パートに滞在中、特定図柄を停止表示可能であり、前記第1パートにおける前記特定図柄の停止表示に応じて、前記第2パートへ移行し、前記第1パートに滞在中、前記特定図柄が停止表示されることなく前記第1パートの終了条件が成立するとき、前記第2パートに移行することなく前記特別演出が終了することがあり、前記特別演出が終了するとき、有利状態へ移行するときと、前記有利状態へ移行しないときと、があり、前記第2パートには、前記有利状態への移行契機となりうる図柄が第1図柄である第2パートと、前記有利状態への移行契機となりうる図柄が第2図柄である第2パートとがあり、前記有利状態への移行契機となりうる図柄が第2図柄である第2パートは、前記有利状態への移行契機となりうる図柄が第1図柄である第2パートよりも、移行契機となりうる図柄の停止表示の発生期待度が高いことを要旨とする。
【発明の効果】
【0006】
本発明によれば、遊技者の興趣を向上できる。
【図面の簡単な説明】
【0007】
正面からみたときのスロットマシンを模式的に示す図である。
スロットマシンの情報表示部を拡大した図である。
停止操作部の操作態様の具体的な一例を示す図である。
役と賞の関係の具体的な一例を示す図である。
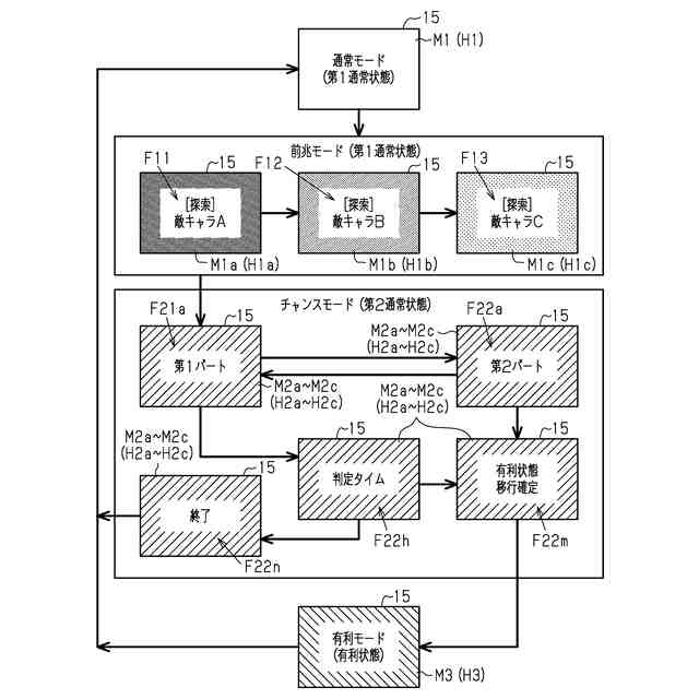
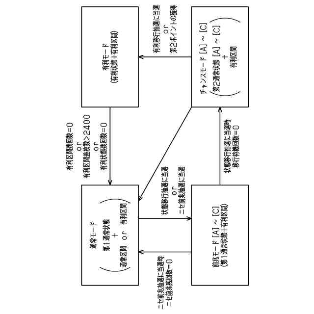
スロットマシンの内部状態と演出モードとの関係の一例を示す図である。
スロットマシンの内部状態と演出モードとの関係の一例を示す図である。
スロットマシンの電気的構成を示す図である。
遊技進行メイン処理を示す図である。
表示演出装置における表示内容の具体的な遷移態様の一例を示す図である。
チャンスモードの第1パートにおける表示演出装置の表示内容の具体的な一例を示す図である。
チャンスモードの第2パートにおける表示演出装置の表示内容の具体的な一例を示す図である。
チャンスモードと有利状態への移行期待度との具体的な関係の一例を示す図である。
【発明を実施するための形態】
【0008】
[第1実施形態]
遊技機の一例であるスロットマシンの第1実施形態について説明する。
本明細書において、上、下、左、右、前、及び後の各方向は、遊技機で遊技を行う遊技者から見たときの各方向を示す。
【0009】
図1に示すように、遊技機の一例であるスロットマシン10は、本体キャビネット11を備える。本体キャビネット11は、前面に開口部を有する四角箱状である。スロットマシン10は、本体キャビネット11の開口部を覆いうる前面扉12を備える。前面扉12は、本体キャビネット11の一側縁部に対して開閉可能に軸支される。前面扉12には、機内部を視認可能な略四角形の表示窓12aが形成されている。スロットマシン10は、前面扉12を施錠する施錠装置12bを備える。スロットマシン10は、扉キーを使用して解錠しなければ、前面扉12を開放できないように構成される。
【0010】
スロットマシン10は、前面扉12の前面に、発光演出装置13を備える。発光演出装置13は、LEDを一例とする1又は複数の発光体(不図示)を含んで構成される。発光演出装置13は、所定の発光パターンによる演出(以下、発光演出と示す)、及び所定の発光パターンによる報知(以下、報知発光と示す)を実行可能である。所定の発光パターンは、発光体の点灯、消灯、及び点滅の少なくとも1つを含みうる。
(【0011】以降は省略されています)
この特許をJ-PlatPat(特許庁公式サイト)で参照する
関連特許
株式会社ニューギン
遊技機
1か月前
株式会社ニューギン
遊技機
1か月前
株式会社ニューギン
遊技機
1か月前
株式会社ニューギン
遊技機
1か月前
株式会社ニューギン
遊技機
1か月前
株式会社ニューギン
遊技機
1か月前
株式会社ニューギン
遊技機
1か月前
株式会社ニューギン
遊技機
1か月前
株式会社ニューギン
遊技機
1か月前
株式会社ニューギン
遊技機
1か月前
株式会社ニューギン
遊技機
1か月前
株式会社ニューギン
遊技機
1か月前
株式会社ニューギン
遊技機
1か月前
株式会社ニューギン
遊技機
1か月前
株式会社ニューギン
遊技機
1か月前
株式会社ニューギン
島設備
1か月前
株式会社ニューギン
遊技機
1か月前
株式会社ニューギン
遊技機
1か月前
株式会社ニューギン
遊技機
1か月前
株式会社ニューギン
遊技機
1か月前
株式会社ニューギン
遊技機
1か月前
株式会社ニューギン
遊技機
9日前
株式会社ニューギン
遊技機
1か月前
株式会社ニューギン
遊技機
1か月前
株式会社ニューギン
遊技機
1か月前
株式会社ニューギン
遊技機
1か月前
株式会社ニューギン
遊技機
1か月前
株式会社ニューギン
遊技機
24日前
株式会社ニューギン
遊技機
16日前
株式会社ニューギン
遊技機
16日前
株式会社ニューギン
遊技機
3日前
個人
玩具
5か月前
個人
玩具
2か月前
個人
自走玩具
2か月前
個人
ゲーム玩具
6か月前
個人
小型卓球台
26日前
続きを見る
他の特許を見る