TOP
|
特許
|
意匠
|
商標
特許ウォッチ
Twitter
他の特許を見る
10個以上の画像は省略されています。
公開番号
2025148776
公報種別
公開特許公報(A)
公開日
2025-10-08
出願番号
2024049064
出願日
2024-03-26
発明の名称
遊技機
出願人
株式会社ニューギン
代理人
個人
,
個人
主分類
A63F
7/02 20060101AFI20251001BHJP(スポーツ;ゲーム;娯楽)
要約
【課題】遊技興趣の向上を図ることができる遊技機を提供する。
【解決手段】所定演出は、第1段階目の第1所定演出まで実行される第1内容で展開される場合と、第1所定演出が実行された後に第2段階目の第2所定演出まで実行される第2内容で展開される場合と、があり、第1所定演出は、操作手段が操作されたことを契機として実行される場合があり、第2所定演出は、操作手段が操作されたことを契機として実行される場合があり、所定演出が第2内容で展開されるときであって、且つ、操作手段が操作されたことを契機として第1所定演出が実行されるときにおいて、第2所定演出は、操作手段の操作を契機とすることなく実行される。
【選択図】図12
特許請求の範囲
【請求項1】
演出を実行する演出実行手段と、
前記演出実行手段を制御する演出制御手段と、
遊技者が操作可能な操作手段と、を備え、
前記演出には、所定演出があり、
前記所定演出は、第1段階目の第1所定演出まで実行される第1内容で展開される場合と、前記第1所定演出が実行された後に第2段階目の第2所定演出まで実行される第2内容で展開される場合と、があり、
前記第1所定演出は、前記操作手段が操作されたことを契機として実行される場合があり、
前記第2所定演出は、前記操作手段が操作されたことを契機として実行される場合があり、
前記所定演出が前記第2内容で展開されるときであって、且つ、前記操作手段が操作されたことを契機として前記第1所定演出が実行されるときにおいて、前記第2所定演出は、前記操作手段の操作を契機とすることなく実行され、
前記第1所定演出の実行前に前記操作手段に対する操作を促す操作推奨演出を実行可能であり、
前記操作推奨演出には、通常演出態様と、特殊演出態様と、があり、
前記所定演出が前記第2内容で展開され、且つ前記操作手段が操作されたことを契機として前記第1所定演出が実行されるときに、前記第2所定演出が前記操作手段の操作を契機とすることなく実行される割合について、当該第1所定演出に係る前記操作推奨演出が前記特殊演出態様であるときの当該割合が、当該第1所定演出に係る前記操作推奨演出が前記通常演出態様であるときの当該割合よりも高い、
ことを特徴とする遊技機。
発明の詳細な説明
【技術分野】
【0001】
本発明は、パチンコ機やスロットマシン等の遊技機に関する。
続きを表示(約 2,800 文字)
【背景技術】
【0002】
パチンコ機やスロットマシン等に代表される遊技機には、例えば、特許文献1に記載された遊技機のように、遊技者が操作可能な操作手段を備え、当該操作手段の操作に基づいて演出を実行させるものがある。特許文献1に記載の遊技機では、操作手段を操作することにより、クレーンがアイテムを持ち上げるなどの各種の演出が行われ、どのようなアイテムが持ち上げられるかについて注目させ、遊技興趣の向上を図っている。
【先行技術文献】
【特許文献】
【0003】
特開2006-271630号公報
【発明の概要】
【発明が解決しようとする課題】
【0004】
今日では、操作手段を備えた遊技機において遊技興趣の向上を図ることが望まれている。
【0005】
よって、本発明は、上記の課題に鑑みてなされたものであり、遊技興趣の向上を図ることができる遊技機を提供することである。
【課題を解決するための手段】
【0006】
本発明によれば、演出を実行する演出実行手段と、前記演出実行手段を制御する演出制御手段と、遊技者が操作可能な操作手段と、を備え、前記演出には、所定演出があり、前記所定演出は、第1段階目の第1所定演出まで実行される第1内容で展開される場合と、前記第1所定演出が実行された後に第2段階目の第2所定演出まで実行される第2内容で展開される場合と、があり、前記第1所定演出は、前記操作手段が操作されたことを契機として実行される場合があり、前記第2所定演出は、前記操作手段が操作されたことを契機として実行される場合があり、前記所定演出が前記第2内容で展開されるときであって、且つ、前記操作手段が操作されたことを契機として前記第1所定演出が実行されるときにおいて、前記第2所定演出は、前記操作手段の操作を契機とすることなく実行され、前記第1所定演出の実行前に前記操作手段に対する操作を促す操作推奨演出を実行可能であり、前記操作推奨演出には、通常演出態様と、特殊演出態様と、があり、前記所定演出が前記第2内容で展開され、且つ前記操作手段が操作されたことを契機として前記第1所定演出が実行されるときに、前記第2所定演出が前記操作手段の操作を契機とすることなく実行される割合について、当該第1所定演出に係る前記操作推奨演出が前記特殊演出態様であるときの当該割合が、当該第1所定演出に係る前記操作推奨演出が前記通常演出態様であるときの当該割合よりも高い、ことを特徴とする遊技機が提供される。
【発明の効果】
【0007】
本発明によれば、遊技興趣の向上を図ることができる遊技機が提供される。
【図面の簡単な説明】
【0008】
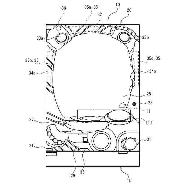
図1は、遊技機の正面図である。
図2は、図1に示す領域IIに配設される図柄表示装置を示す図である。
図3は、図1に示す領域IIIに配設される操作ボタン群およびその周辺を示す鳥瞰図である。
図4は、遊技機内に設置される遊技盤を示す図である。
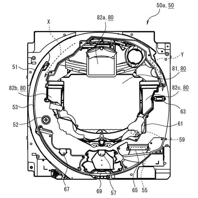
図5は、遊技機の背面図である。
図6は、遊技機が備える制御構成を示すブロック図である。
図7は、遊技機が備える機能構成を示すブロック図である。
図8(a)は、特図当否判定用の抽選テーブルを模式的に示す図であり、図8(b)は、特図1に係る特図当否判定において大当りが導出された場合に用いられる停止図柄抽選用の抽選テーブルを模式的に示す図であり、図8(c)は、特図2に係る特図当否判定において小当りが導出された場合に用いられる停止図柄抽選用の抽選テーブルを模式的に示す図であり、図8(d)は、特図2に係る特図当否判定において大当りが導出された場合に用いられる停止図柄抽選用の抽選テーブルを模式的に示す図である。
図9(a)は、特図変動パターン導出状態PA時の特図1に係る図柄変動で用いられる特図変動パターン抽選テーブルを模式的に示す図であり、図9(b)は、特図変動パターン導出状態PA時の特図1に係る図柄変動において特図変動パターンHNPが決定された場合に用いられる特図変動パターン抽選テーブルを模式的に示す図である。
図10(a)は、特図変動パターン導出状態の遷移を示す状態遷移図であり、図10(b)は、特図変動パターン導出状態ごとの平均変動時間の関係を示す図である。
図11(a)は、演出パターンEP1および演出パターンEP2のセリフ演出の具体例を示す図であり、図11(b)は、演出パターンEP3および演出パターンEP4のセリフ演出の具体例を示す図である。
図12は、演出パターンEP5のセリフ演出の具体例を示す図である。
図13は、演出パターンEP6のセリフ演出の具体例を示す図である。
図14は、セリフ演出制御処理のフローである。
図15(a)は、セリフ演出の実行抽選に用いられる抽選テーブルを、図15(b)は、セリフ演出に係る演出パターンの抽選に用いられる抽選テーブルを、図15(c)は、セリフパターンの抽選に用いられる抽選テーブルを、模式的に示す図である。
図16は、付加演出制御処理のフローである。
図17(a)は、演出ボタン画像の抽選に用いられる抽選テーブルを、図17(b)は、背景画像の抽選に用いられる抽選テーブルを、模式的に示す図である。
図18は、セリフ演出における背景画像の表示期間を示すタイミングチャートである。
【発明を実施するための形態】
【0009】
以下、本発明の実施形態について、図面を用いて説明する。なお、すべての図面において、同様の構成要素には同一の符号を付し、適宜に説明を省略する。また、以下の説明では、「前」「後」「左」「右」「上」「下」とは、特に断りのない限り、図1に示すように遊技機10を正面側(遊技者側)から見た状態で指称するものとする。
なお、以降の説明における「有利(有利度)」とは、遊技者に対して有利であることを指し、さらに、特に断りがない限り、いわゆるプレミア画像等の演出面を除き、賞球(遊技媒体)の獲得量(遊技球の払い出しに限らず、メダルの払い出しを含む)に関して有利であることを指す。
【0010】
<本発明の特徴について>
本実施形態における遊技機10の詳細を説明する前に、本実施形態に記載されている発明(本発明)の特徴を説明する。
なお、当該特徴を説明するにあたり、括弧内の構成は、直前の構成に対応する本実施形態の構成を例示したものであり、当該説明以降の遊技機10の説明においても同様の用途で括弧内に構成を記載する場合がある。
(【0011】以降は省略されています)
この特許をJ-PlatPat(特許庁公式サイト)で参照する
関連特許
株式会社ニューギン
遊技機
4日前
株式会社ニューギン
遊技機
10日前
株式会社ニューギン
遊技機
17日前
株式会社ニューギン
遊技機
17日前
株式会社ニューギン
遊技機
25日前
個人
玩具
5か月前
個人
玩具
2か月前
個人
自走玩具
2か月前
個人
運動補助具
4か月前
個人
ゲーム玩具
6か月前
個人
小型卓球台
27日前
個人
パズル
28日前
個人
打撃練習用具
1か月前
株式会社三共
遊技機
1か月前
株式会社三共
遊技機
1か月前
株式会社三共
遊技機
1か月前
株式会社三共
遊技機
1か月前
株式会社三共
遊技機
1か月前
株式会社三共
遊技機
1か月前
株式会社三共
遊技機
1か月前
株式会社三共
遊技機
1か月前
株式会社三共
遊技機
1か月前
株式会社三共
遊技機
1か月前
株式会社三共
遊技機
1か月前
株式会社三共
遊技機
1か月前
株式会社三共
遊技機
1か月前
株式会社三共
遊技機
1か月前
株式会社三共
遊技機
1か月前
株式会社三共
遊技機
1か月前
株式会社三共
遊技機
1か月前
株式会社三共
遊技機
1か月前
株式会社高尾
遊技機
6か月前
株式会社三共
遊技機
1か月前
株式会社三共
遊技機
1か月前
株式会社三共
遊技機
1か月前
株式会社三共
遊技機
1か月前
続きを見る
他の特許を見る