TOP
|
特許
|
意匠
|
商標
特許ウォッチ
Twitter
他の特許を見る
10個以上の画像は省略されています。
公開番号
2025159219
公報種別
公開特許公報(A)
公開日
2025-10-17
出願番号
2025138269,2022185151
出願日
2025-08-21,2022-11-18
発明の名称
遊技機
出願人
株式会社ニューギン
代理人
個人
,
個人
,
個人
主分類
A63F
7/02 20060101AFI20251009BHJP(スポーツ;ゲーム;娯楽)
要約
【課題】節電モードの利便性を高めること。
【解決手段】パチンコ遊技機は通常の消費電力よりも消費電力を抑える節電モードを備える。節電モードは、パチンコ遊技機が待機中であって、待機デモ演出が開始されることを契機に移行する。節電モード中は、パチンコ遊技機が備える装飾ランプなどの発光手段の出力を通常モードの出力に比して抑えるように制御される。また、節電モードは、初期化を指示してパチンコ遊技機への電力供給を行っても、その設定状態は維持されている。
【選択図】図7
特許請求の範囲
【請求項1】
通常の消費電力よりも消費電力を抑える節電モードを備えた遊技機において、
前記節電モードの設定と解除を切り替えることができる切替手段と、
前記節電モードが設定されているときに成立可能なモード移行条件が成立すると、消費電力を通常とする通常モードから前記節電モードへ移行させるモード移行手段と、
前記節電モード中、前記遊技機が備える発光手段のうち少なくとも一部の発光手段の出力を前記通常モードの出力に比して抑えるように前記発光手段を制御する制御手段と、
遊技を開始させるための特定操作手段と、
前記遊技機への電力供給が遮断されたときにバックアップ情報を記憶可能とした記憶手段と、
前記遊技機への電力供給を行うときに前記記憶手段の初期化を指示するための初期化手段と、を備え、
前記初期化手段による初期化を指示して前記遊技機への電力供給を行っても前記節電モードの設定状態は維持可能であり、
前記遊技機は、当該遊技機における遊技の実行を制限する制限モードを備え、
前記制限モードは、前記遊技機が備える計数手段によって計数される特定の遊技媒体数が上限数に達した場合に移行するモードであり、
前記制限モードへ移行した後、前記遊技機への電力供給が遮断されて復電しても前記節電モードへは移行しないが、前記初期化手段による初期化を指示して前記遊技機への電力供給を行ったときには前記節電モードへ移行可能であり、
前記切替手段には、前記遊技機の表側にある第1手段と、前記遊技機の機内部にある第2手段とを含み、
前記節電モードは、前記第2手段が所定状態であるときに、前記第1手段を操作することによって設定可能であり、
前記節電モードから前記通常モードへ移行させるための前記節電モードの終了条件は、前記特定操作手段を操作することであることを特徴とする遊技機。
発明の詳細な説明
【技術分野】
【0001】
本発明は、遊技機に関する。
続きを表示(約 2,900 文字)
【背景技術】
【0002】
遊技機の一種であるパチンコ遊技機には、当該パチンコ遊技機の消費電力を低減する目的で、節電モードを搭載したものがある(例えば、特許文献1参照)。節電モードを搭載することにより、例えば客待ち状態など遊技が行われていないときには、パチンコ遊技機の消費電力を低減させることができる。
【先行技術文献】
【特許文献】
【0003】
特開2016-192989号公報
【発明の概要】
【発明が解決しようとする課題】
【0004】
近年の電力需給状況を鑑みると、パチンコ遊技機などの遊技機にも節電モードを搭載することへの必要性が高められていることから、その機能を搭載するにあたっては機能自体の利便性を高める必要がある。
【課題を解決するための手段】
【0005】
上記課題を解決する遊技機は、通常の消費電力よりも消費電力を抑える節電モードを備えた遊技機において、前記節電モードの設定と解除を切り替えることができる切替手段と、前記節電モードが設定されているときに成立可能なモード移行条件が成立すると、消費電力を通常とする通常モードから前記節電モードへ移行させるモード移行手段と、前記節電モード中、前記遊技機が備える発光手段のうち少なくとも一部の発光手段の出力を前記通常モードの出力に比して抑えるように前記発光手段を制御する制御手段と、遊技を開始させるための特定操作手段と、前記遊技機への電力供給が遮断されたときにバックアップ情報を記憶可能とした記憶手段と、前記遊技機への電力供給を行うときに前記記憶手段の初期化を指示するための初期化手段と、を備え、前記初期化手段による初期化を指示して前記遊技機への電力供給を行っても前記節電モードの設定状態は維持可能であり、前記遊技機は、当該遊技機における遊技の実行を制限する制限モードを備え、前記制限モードは、前記遊技機が備える計数手段によって計数される特定の遊技媒体数が上限数に達した場合に移行するモードであり、前記制限モードへ移行した後、前記遊技機への電力供給が遮断されて復電しても前記節電モードへは移行しないが、前記初期化手段による初期化を指示して前記遊技機への電力供給を行ったときには前記節電モードへ移行可能であり、前記切替手段には、前記遊技機の表側にある第1手段と、前記遊技機の機内部にある第2手段とを含み、前記節電モードは、前記第2手段が所定状態であるときに、前記第1手段を操作することによって設定可能であり、前記節電モードから前記通常モードへ移行させるための前記節電モードの終了条件は、前記特定操作手段を操作することであることを要旨とする。
【発明の効果】
【0006】
本発明によれば、節電モードの利便性を高めることができる。
【図面の簡単な説明】
【0007】
パチンコ遊技機を模式的に示す斜視図である。
遊技盤を模式的に示す正面図である。
パチンコ遊技機の電気的構成を示すブロック図である。
変動ゲーム又は大当り遊技から待機中へ移行する流れを示すタイミングチャートである。
(a)~(e)は、画像表示部に表示される待機中の画像を示す図である。
(a)~(f)は節電モードを設定する画面と設定の手順を示す図である。
電源投入から待機中へ移行する流れを示すタイミングチャートである。
コンプリート機能が作動したときの画像表示部の表示内容を示す図である。
(a)は特定球数が特定数に達したときの画像表示部の表示内容を示す図であり、(b)はコンプリート機能の作動が待機されるときの画像表示部の表示内容を示す図である。
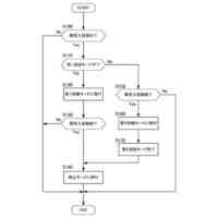
第1特定球数計数処理のフローチャートである。
第2特定球数計数処理のフローチャートである。
【発明を実施するための形態】
【0008】
以下、パチンコ遊技機の実施形態を、図1~図11にしたがって説明する。
以下の説明において、上、下、左、右、前(表)、及び後(裏)は、遊技者から見たときの各方向を示すものとする。
【0009】
図1に示すように、遊技機の一例であるパチンコ遊技機10は、枠体11を備える。枠体11は、パチンコ遊技機10を遊技場の島設備に固定するための設置枠と、各種の遊技部品を搭載するための搭載枠と、を含んで構成される。パチンコ遊技機10は、遊技盤YBを備える。遊技盤YBは、枠体11に搭載されている。パチンコ遊技機10は、発射ハンドルHDを備える。発射ハンドルHDは、遊技球を遊技領域YBaへ打ち出すときに操作される。発射ハンドルHDは、一例として、搭載枠の前面側に設けられる。パチンコ遊技機10は、発射ハンドルHDの回動操作量を調節することによって、遊技球の発射強度を調節できるように構成される。パチンコ遊技機10は、遊技球を貯留するための貯留皿CZを備える。貯留皿CZは、搭載枠の表面側(前面側)に設けられる。貯留皿CZには、パチンコ遊技機10の機内部から遊技球が払い出される払出口CZaが開口している。貯留皿CZに貯留された遊技球は、図示しない球通路によって、機内部へと供給された後、発射ハンドルHDの操作によって発射される。
【0010】
パチンコ遊技機10は、遊技者が操作可能な操作手段の一例として、演出ボタンD1、及び十字キーD2を備える。一例として、演出ボタンD1は、押下操作を可能に構成されたボタン式の操作手段である。演出ボタンD1は、押下操作によりオン(ON)になり、押下操作をしないとオフ(OFF)になる。演出ボタンD1は、当該演出ボタンD1の押下操作(オン)を検知して所定の信号(以下、操作信号という)を出力する操作センサ(不図示)を備える。本実施形態の演出ボタンD1は、第1位置と第2位置との間で出没動作が可能に構成されている。第2位置は、第1位置に比して演出ボタンD1の押圧部が貯留皿CZの表面から突出している位置である。このため、演出ボタンD1が第2位置に可動しているときの演出は、演出ボタンD1を押し込むように操作させることになる。このような可動式の演出ボタンD1は、大当り期待度が高いときに第2位置へ可動して遊技者に演出ボタンD1を押し込み操作させる演出を実行させる際に使われる。また、このような可動式の演出ボタンD1は、所定の動作を行う可動体に含まれる。十字キーD2は、左キー、右キー、上キー、及び下キーのように、操作可能な複数の部分を含んで構成される。一例として、十字キーD2を構成する左キー、右キー、上キー、及び下キーは、ボタン式の操作手段である。十字キーD2を構成する各キーは、それぞれ押下操作によりオン(ON)になり、押下操作をしないとオフ(OFF)になる。十字キーD2を構成する各キーは、それぞれ操作センサ(不図示)を備える。
(【0011】以降は省略されています)
この特許をJ-PlatPat(特許庁公式サイト)で参照する
関連特許
株式会社ニューギン
遊技機
1か月前
株式会社ニューギン
遊技機
21日前
株式会社ニューギン
遊技機
17日前
株式会社ニューギン
遊技機
17日前
株式会社ニューギン
遊技機
20日前
株式会社ニューギン
遊技機
20日前
株式会社ニューギン
遊技機
20日前
株式会社ニューギン
遊技機
20日前
株式会社ニューギン
遊技機
20日前
株式会社ニューギン
遊技機
21日前
株式会社ニューギン
遊技機
21日前
株式会社ニューギン
遊技機
17日前
株式会社ニューギン
遊技機
21日前
株式会社ニューギン
遊技機
21日前
株式会社ニューギン
遊技機
21日前
株式会社ニューギン
遊技機
26日前
株式会社ニューギン
遊技機
26日前
株式会社ニューギン
遊技機
26日前
株式会社ニューギン
遊技機
1か月前
株式会社ニューギン
遊技機
1か月前
株式会社ニューギン
遊技機
17日前
株式会社ニューギン
遊技機
17日前
株式会社ニューギン
遊技機
12日前
株式会社ニューギン
遊技機
12日前
株式会社ニューギン
遊技機
5日前
株式会社ニューギン
遊技機
11日前
株式会社ニューギン
遊技機
11日前
株式会社ニューギン
遊技機
11日前
株式会社ニューギン
遊技機
11日前
株式会社ニューギン
遊技機
17日前
株式会社ニューギン
遊技機
12日前
株式会社ニューギン
遊技機
12日前
株式会社ニューギン
遊技機
12日前
株式会社ニューギン
遊技機
12日前
株式会社ニューギン
遊技機
17日前
株式会社ニューギン
遊技機
17日前
続きを見る
他の特許を見る