TOP
|
特許
|
意匠
|
商標
特許ウォッチ
Twitter
他の特許を見る
10個以上の画像は省略されています。
公開番号
2025140360
公報種別
公開特許公報(A)
公開日
2025-09-29
出願番号
2024039711
出願日
2024-03-14
発明の名称
遊技機
出願人
株式会社ニューギン
代理人
個人
,
個人
,
個人
主分類
A63F
5/04 20060101AFI20250919BHJP(スポーツ;ゲーム;娯楽)
要約
【課題】興趣の向上を図ることができる遊技機を提供すること。
【解決手段】演出表示装置の位置が演出位置であるときに始動条件が成立すると、当該演出表示装置の位置が演出位置となる前後において、表示窓における図柄が異なる場合がある。
【選択図】図11
特許請求の範囲
【請求項1】
図柄導出手段において図柄を導出可能な遊技機において、
作動手段と、
前記作動手段を制御する作動制御手段と、を備え、
前記作動手段が特定作動状態であるときに始動条件が成立すると、当該特定作動状態の前後において前記図柄導出手段における図柄が異なる場合があることを特徴とする遊技機。
続きを表示(約 97 文字)
【請求項2】
前記作動手段が特定作動状態であるときに前記始動条件が成立しない場合、当該特定作動状態の前後において前記図柄導出手段における図柄が同じである請求項1に記載の遊技機。
発明の詳細な説明
【技術分野】
【0001】
この発明は、遊技機に関する。
続きを表示(約 1,700 文字)
【背景技術】
【0002】
従来、遊技機の中には、作動可能な作動手段を備える遊技機がある。例えば、特許文献1に記載された遊技機は、作動手段としての演出役物を備えている。そして、特許文献1に記載された遊技機では、演出役物を作動させる演出を実行可能である。
【先行技術文献】
【特許文献】
【0003】
特開2008-228801号公報
【発明の概要】
【発明が解決しようとする課題】
【0004】
しかし、従来の遊技機においては、興趣を向上させる余地があった。
【課題を解決するための手段】
【0005】
上記課題を解決する遊技機は、図柄導出手段において図柄を導出可能な遊技機において、作動手段と、前記作動手段を制御する作動制御手段と、を備え、前記作動手段が特定作動状態であるときに始動条件が成立すると、当該特定作動状態の前後において前記図柄導出手段における図柄が異なる場合があることを要旨とする。
【発明の効果】
【0006】
本発明によれば、興趣の向上を図ることができる。
【図面の簡単な説明】
【0007】
図1は、回胴式遊技機の機表側を示す図である。
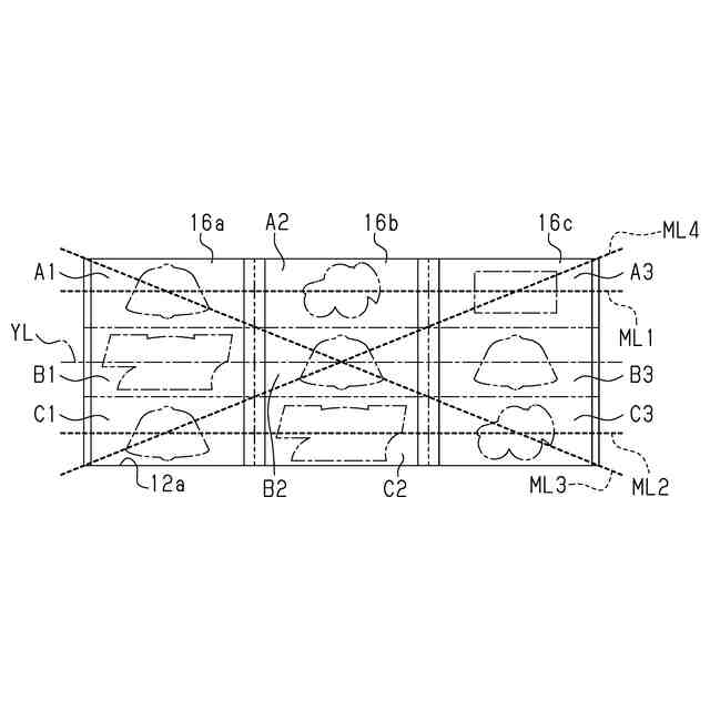
図2は、有効ラインを構成する停止位置と無効ラインを構成する停止位置を示す図である。
図3(a)は遊技機管理媒体数表示部及び計数ボタンを示す図であり、図3(b)は情報パネルを示す図である。
図4は、ストップボタンの押し順を示す図である。
図5は、遊技状態を示す図である。
図6は、回胴式遊技機の電気的構成を示す図である。
図7(a)~図7(c)は、電力供給が停止されているときから電力供給が開始された後の演出表示装置の表示内容の一例を示す図である。
図8は、遊技進行処理を示すフローチャートである。
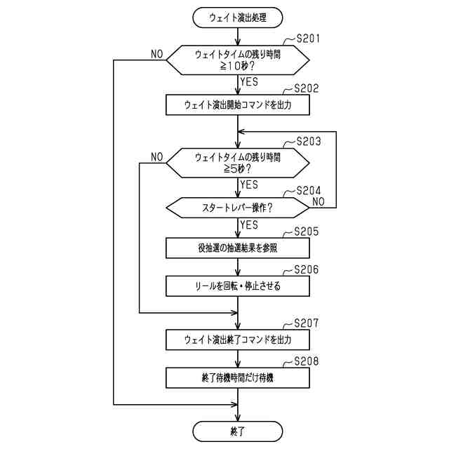
図9は、ウェイト演出処理を示すフローチャートである。
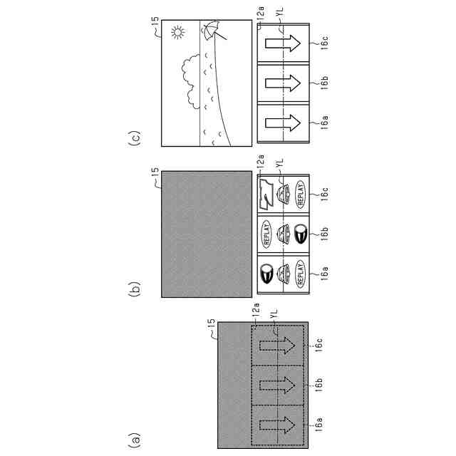
図10(a)~図10(c)は、ウェイト演出処理が行われたときの演出表示装置の表示内容及び作動態様と表示窓から視認可能な図柄の変化についての一例を示す図である。
図11(a)~図11(c)は、ウェイト演出処理が行われたときの演出表示装置の表示内容及び作動態様と表示窓から視認可能な図柄の変化についての一例を示す図である。
【発明を実施するための形態】
【0008】
以下、遊技機の一種である回胴式遊技機(所謂、スロットマシン)の実施形態について説明する。本明細書において、上、下、左、右、前(正面)、後の各方向は、回胴式遊技機で遊技を行う遊技者から見たときの各方向を指すものとする。
【0009】
図1に示すように、島設備(遊技島)において、遊技機としての回胴式遊技機10(以下、遊技機10と示す)は、管理装置の一種である管理ユニット100と並ぶように設置される。つまり、管理ユニット100は、遊技機10に併設される。管理ユニット100は、遊技機10と通信可能に接続される。
【0010】
ここで、管理ユニット100について説明する。
管理ユニット100は、管理媒体を挿入可能な管理媒体挿入部101を備える。例えば、管理媒体は、ICカード又はICコインといったデータ記憶媒体である。管理媒体は、投入金の残額及び管理ユニット100が管理可能な遊技者が保有する遊技媒体の数を記憶可能である。以下の説明では、「管理ユニット100が管理可能な遊技者が保有する遊技媒体の数」を「ユニット管理遊技媒体数」と示す。遊技媒体は、遊技機10において、遊技を行うために用いられる。ユニット管理遊技媒体数は、管理ユニット100が管理するデータである。管理媒体は、遊技者の個人情報を記憶可能であってもよい。管理ユニット100は、現金としての紙幣を投入可能な現金投入部102を備える。現金投入部102へ投入された金額は、管理媒体に記憶された投入金の残額に加算される。
(【0011】以降は省略されています)
この特許をJ-PlatPat(特許庁公式サイト)で参照する
関連特許
株式会社ニューギン
遊技機
1か月前
株式会社ニューギン
遊技機
21日前
株式会社ニューギン
遊技機
17日前
株式会社ニューギン
遊技機
17日前
株式会社ニューギン
遊技機
20日前
株式会社ニューギン
遊技機
20日前
株式会社ニューギン
遊技機
20日前
株式会社ニューギン
遊技機
20日前
株式会社ニューギン
遊技機
20日前
株式会社ニューギン
遊技機
21日前
株式会社ニューギン
遊技機
21日前
株式会社ニューギン
遊技機
17日前
株式会社ニューギン
遊技機
21日前
株式会社ニューギン
遊技機
21日前
株式会社ニューギン
遊技機
21日前
株式会社ニューギン
遊技機
26日前
株式会社ニューギン
遊技機
26日前
株式会社ニューギン
遊技機
26日前
株式会社ニューギン
遊技機
1か月前
株式会社ニューギン
遊技機
1か月前
株式会社ニューギン
遊技機
17日前
株式会社ニューギン
遊技機
17日前
株式会社ニューギン
遊技機
12日前
株式会社ニューギン
遊技機
12日前
株式会社ニューギン
遊技機
5日前
株式会社ニューギン
遊技機
11日前
株式会社ニューギン
遊技機
11日前
株式会社ニューギン
遊技機
11日前
株式会社ニューギン
遊技機
11日前
株式会社ニューギン
遊技機
17日前
株式会社ニューギン
遊技機
12日前
株式会社ニューギン
遊技機
12日前
株式会社ニューギン
遊技機
12日前
株式会社ニューギン
遊技機
12日前
株式会社ニューギン
遊技機
17日前
株式会社ニューギン
遊技機
17日前
続きを見る
他の特許を見る