TOP
|
特許
|
意匠
|
商標
特許ウォッチ
Twitter
他の特許を見る
10個以上の画像は省略されています。
公開番号
2025145751
公報種別
公開特許公報(A)
公開日
2025-10-03
出願番号
2024046121
出願日
2024-03-22
発明の名称
遊技機
出願人
株式会社ニューギン
代理人
個人
,
個人
主分類
A63F
7/02 20060101AFI20250926BHJP(スポーツ;ゲーム;娯楽)
要約
【課題】各種デバイスが正常に機能するか否かを適切に確認可能な遊技機を提供する。
【解決手段】第一検知手段及び第二検知手段を備え、それぞれの有効性を報知する報知態様が第一期間(期間T1)と第二期間(期間T2)で異なり、第一検知手段及び第二検知手段の検知に基づく機能が第一期間及び第二期間の少なくとも一方において実行可能であり、当該機能が実行されると、上記の第一期間及び第二期間における報知態様のいずれとも異なる態様で認識可能である。
【選択図】図11
特許請求の範囲
【請求項1】
第一検知手段と、
第二検知手段と、
を備え、
第一期間において、前記第一検知手段の検知が有効であることが第一態様で報知され、前記第二検知手段の検知が有効であることが第二態様で報知され、
前記第一期間と少なくとも一部が重複する第二期間において、前記第一検知手段の検知が有効であることが第三態様で報知され、前記第二検知手段の検知が有効であることが第四態様で報知され、
前記第一検知手段の検知に基づく機能は前記第一期間及び前記第二期間の少なくとも一方において実行可能であり、当該機能が実行されると、前記第一態様及び前記第三態様のいずれとも異なる態様で認識可能であり、
前記第二検知手段の検知に基づく機能は前記第一期間及び前記第二期間の少なくとも一方において実行可能であり、当該機能が実行されると、前記第二態様及び前記第四態様のいずれとも異なる態様で認識可能であり、
少なくとも前記第一期間と前記第二期間が重複しない期間において、前記第一期間と前記第二期間は、前記第一態様と前記第三態様の違い、並びに、前記第二態様と前記第四態様の違い、とは異なる態様の違いで区別可能である、
ことを特徴とする遊技機。
続きを表示(約 500 文字)
【請求項2】
第一検知手段と、
第二検知手段と、
を備え、
第一期間において、前記第一検知手段の検知が有効であることが第一態様で報知され、前記第二検知手段の検知が有効であることが第二態様で報知され、
前記第一期間と異なる第二期間において、前記第一検知手段の検知が有効であることが第三態様で報知され、前記第二検知手段の検知が有効であることが第四態様で報知され、
前記第一検知手段の検知に基づく機能は前記第一期間及び前記第二期間の少なくとも一方において実行可能であり、当該機能が実行されると、前記第一態様及び前記第三態様のいずれとも異なる態様で認識可能であり、
前記第二検知手段の検知に基づく機能は前記第一期間及び前記第二期間の少なくとも一方において実行可能であり、当該機能が実行されると、前記第二態様及び前記第四態様のいずれとも異なる態様で認識可能であり、
前記第一期間と前記第二期間は、前記第一態様と前記第三態様の違い、並びに、前記第二態様と前記第四態様の違い、とは異なる態様の違いで区別可能である、
ことを特徴とする遊技機。
発明の詳細な説明
【技術分野】
【0001】
本発明は、パチンコ機等の遊技機に関する。
続きを表示(約 3,500 文字)
【背景技術】
【0002】
パチンコ機等に代表される遊技機には、各種デバイス(操作手段や発光手段等)が正常に機能するか否かを電源投入後に確認可能なものがある。
【先行技術文献】
【特許文献】
【0003】
特開2021-040809号公報
【発明の概要】
【発明が解決しようとする課題】
【0004】
特許文献1の遊技機は、電源投入後の操作検査期間において操作した操作部に対応する態様で所定の発光手段を発光させることにより、当該操作部が正常に機能することを確認可能である。また、当該期間において、その他の発光手段や可動体が所定の動作をすることによって、それぞれが正常に機能することを確認可能である。
しかしながら、より適切な動作確認を実現するという観点において未だ改善の余地があった。
【0005】
本発明は、上記の課題に鑑みてなされたものであり、各種デバイスが正常に機能するか否かを適切に確認可能な遊技機を提供するものである。
【課題を解決するための手段】
【0006】
本発明によれば、第一検知手段と、第二検知手段と、を備え、第一期間において、前記第一検知手段の検知が有効であることが第一態様で報知され、前記第二検知手段の検知が有効であることが第二態様で報知され、前記第一期間と少なくとも一部が重複する第二期間において、前記第一検知手段の検知が有効であることが第三態様で報知され、前記第二検知手段の検知が有効であることが第四態様で報知され、前記第一検知手段の検知に基づく機能は前記第一期間及び前記第二期間の少なくとも一方において実行可能であり、当該機能が実行されると、前記第一態様及び前記第三態様のいずれとも異なる態様で認識可能であり、前記第二検知手段の検知に基づく機能は前記第一期間及び前記第二期間の少なくとも一方において実行可能であり、当該機能が実行されると、前記第二態様及び前記第四態様のいずれとも異なる態様で認識可能であり、少なくとも前記第一期間と前記第二期間が重複しない期間において、前記第一期間と前記第二期間は、前記第一態様と前記第三態様の違い、並びに、前記第二態様と前記第四態様の違い、とは異なる態様の違いで区別可能である、ことを特徴とする遊技機が提供される。
また、本発明によれば、第一検知手段と、第二検知手段と、を備え、第一期間において、前記第一検知手段の検知が有効であることが第一態様で報知され、前記第二検知手段の検知が有効であることが第二態様で報知され、前記第一期間と異なる第二期間において、前記第一検知手段の検知が有効であることが第三態様で報知され、前記第二検知手段の検知が有効であることが第四態様で報知され、前記第一検知手段の検知に基づく機能は前記第一期間及び前記第二期間の少なくとも一方において実行可能であり、当該機能が実行されると、前記第一態様及び前記第三態様のいずれとも異なる態様で認識可能であり、前記第二検知手段の検知に基づく機能は前記第一期間及び前記第二期間の少なくとも一方において実行可能であり、当該機能が実行されると、前記第二態様及び前記第四態様のいずれとも異なる態様で認識可能であり、前記第一期間と前記第二期間は、前記第一態様と前記第三態様の違い、並びに、前記第二態様と前記第四態様の違い、とは異なる態様の違いで区別可能である、ことを特徴とする遊技機が提供される。
【発明の効果】
【0007】
本発明によれば、各種デバイスが正常に機能するか否かを適切に確認可能な遊技機が提供される。
【図面の簡単な説明】
【0008】
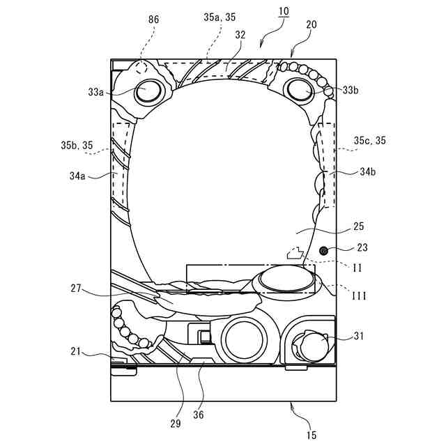
図1は、遊技機の正面図である。
図2は、図1に示す領域IIに配設される図柄表示装置を示す図である。
図3は、図1に示す領域IIIに配設される操作ボタン群およびその周辺を示す鳥瞰図である。
図4は、遊技機内に設置される遊技盤を示す図である。
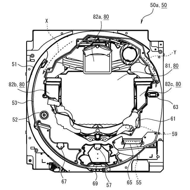
図5は、遊技機の背面図である。
図6は、遊技機が備える制御構成を示すブロック図である。
図7は、遊技機が備える機能構成を示すブロック図である。
図8(a)は、特図当否判定用の抽選テーブルを模式的に示す図であり、図8(b)は、特図1に係る特図当否判定において大当りが導出された場合に用いられる停止図柄抽選用の抽選テーブルを模式的に示す図であり、図8(c)は、特図2に係る特図当否判定において小当りが導出された場合に用いられる停止図柄抽選用の抽選テーブルを模式的に示す図であり、図8(d)は、特図2に係る特図当否判定において大当りが導出された場合に用いられる停止図柄抽選用の抽選テーブルを模式的に示す図である。
図9(a)は、特図変動パターン導出状態PA時の特図1に係る図柄変動で用いられる特図変動パターン抽選テーブルを模式的に示す図であり、図9(b)は、特図変動パターン導出状態PA時の特図1に係る図柄変動において特図変動パターンHNPが決定された場合に用いられる特図変動パターン抽選テーブルを模式的に示す図である。
図10(a)は、特図変動パターン導出状態の遷移を示す状態遷移図であり、図10(b)は、特図変動パターン導出状態ごとの平均変動時間の関係を示す図である。
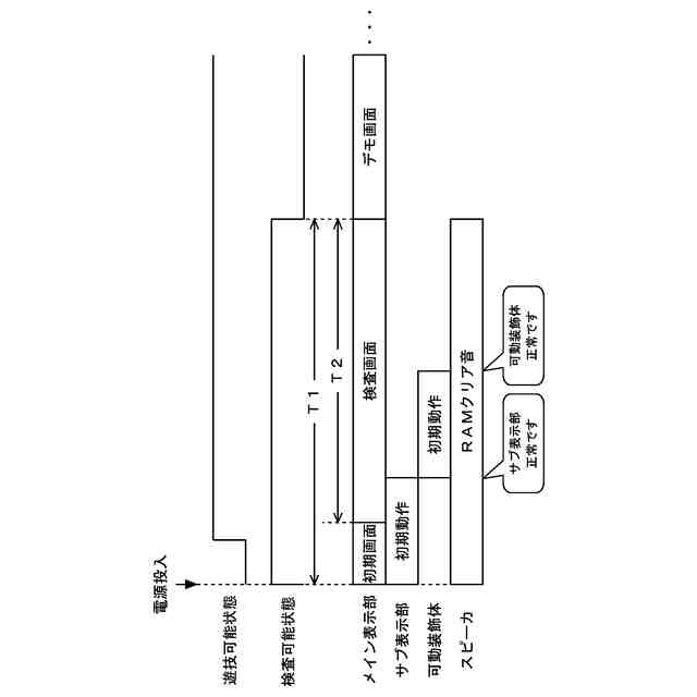
図11は、RAMクリア処理を伴う復電時における各デバイスの作動態様を示すタイムチャートである。
図12(a)は、初期画面におけるメイン表示部81の表示態様を示す図であり、図12(b)は、検査画面におけるメイン表示部81の表示態様を示す図である。
図13(a)は、枠ランプ35の報知態様を示す図であり、図13(b)は、検査画面(メイン表示部81)の報知態様を示す図であり、図13(c)は、スピーカ33の報知態様を示す図である。
図14は、検査画面が表示される期間において第1始動口57の入賞が発生した場合における各デバイスの作動態様を示すタイムチャートである。
図15は、検査画面が表示される期間において演出ボタン37又はカーソルボタン38に対する操作が発生した場合における各デバイスの作動態様を示すタイムチャートである。
図16は、RAMクリア処理を伴う復電時における各デバイスの作動態様を示すタイムチャートである。
図17は、操作指示画面の表示中に左カーソルボタン38cと右カーソルボタン38dとを同時に操作した場合における各デバイスの作動態様を示すタイムチャートである。
図18(a)は、初期画面におけるメイン表示部81の表示態様を示す図であり、図18(b)は、操作指示画面におけるメイン表示部81の表示態様を示す図であり、図18(c)は、検査画面におけるメイン表示部81の表示態様を示す図である。
図19は、検査画面が表示される期間において第1始動口57の入賞が発生した場合における各デバイスの作動態様を示すタイムチャートである。
図20は、検査画面が表示される期間において演出ボタン37又はカーソルボタン38に対する操作が発生した場合における各デバイスの作動態様を示すタイムチャートである。
【発明を実施するための形態】
【0009】
以下、本発明の実施形態について、図面を用いて説明する。なお、すべての図面において、同様の構成要素には同一の符号を付し、適宜に説明を省略する。また、以下の説明では、「前」「後」「左」「右」「上」「下」とは、特に断りのない限り、図1に示すように遊技機10を正面側(遊技者側)から見た状態で指称するものとする。
なお、以降の説明における「有利(有利度)」とは、遊技者に対して有利であることを指し、さらに、特に断りがない限り、いわゆるプレミア画像等の演出面を除き、賞球(遊技媒体)の獲得量(遊技球の払い出しに限らず、メダルの払い出しを含む)に関して有利であることを指す。
【0010】
<本発明の特徴について>
本実施形態における遊技機10の詳細を説明する前に、本実施形態に記載されている発明(本発明)の特徴を説明する。
なお、当該特徴を説明するにあたり、括弧内の構成は、直前の構成に対応する本実施形態の構成を例示したものであり、当該説明以降の遊技機10の説明においても同様の用途で括弧内に構成を記載する場合がある。
(【0011】以降は省略されています)
この特許をJ-PlatPat(特許庁公式サイト)で参照する
関連特許
株式会社ニューギン
遊技機
1か月前
株式会社ニューギン
遊技機
1か月前
株式会社ニューギン
遊技機
1か月前
株式会社ニューギン
遊技機
1か月前
株式会社ニューギン
遊技機
1か月前
株式会社ニューギン
遊技機
4日前
株式会社ニューギン
遊技機
10日前
株式会社ニューギン
遊技機
17日前
株式会社ニューギン
遊技機
17日前
株式会社ニューギン
遊技機
25日前
株式会社ニューギン
遊技機
1か月前
株式会社ニューギン
遊技機
1か月前
個人
玩具
5か月前
個人
玩具
2か月前
個人
自走玩具
2か月前
個人
ゲーム玩具
6か月前
個人
運動補助具
4か月前
個人
小型卓球台
27日前
個人
打撃練習用具
1か月前
個人
パズル
28日前
株式会社三共
遊技機
7か月前
株式会社三共
遊技機
7か月前
株式会社三共
遊技機
7か月前
株式会社三共
遊技機
7か月前
株式会社三共
遊技機
7か月前
株式会社三共
遊技機
7か月前
株式会社三共
遊技機
7か月前
株式会社三共
遊技機
7か月前
株式会社三共
遊技機
7か月前
株式会社三共
遊技機
7か月前
株式会社三共
遊技機
7か月前
株式会社三共
遊技機
7か月前
株式会社三共
遊技機
7か月前
株式会社三共
遊技機
7か月前
株式会社三共
遊技機
1か月前
株式会社三共
遊技機
7か月前
続きを見る
他の特許を見る