TOP
|
特許
|
意匠
|
商標
特許ウォッチ
Twitter
他の特許を見る
10個以上の画像は省略されています。
公開番号
2025142193
公報種別
公開特許公報(A)
公開日
2025-09-30
出願番号
2025027798
出願日
2025-02-25
発明の名称
遊技機
出願人
株式会社ニューギン
代理人
弁理士法人後藤特許事務所
主分類
A63F
7/02 20060101AFI20250922BHJP(スポーツ;ゲーム;娯楽)
要約
【課題】遊技の興趣を向上させる。
【解決手段】
遊技機において、演出には、互いに関連する複数の所定画像を表示する所定表示演出があり、前記所定表示演出は、ゲームが当り結果となる期待度を示唆または報知可能であり、演出制御手段は、1回の前記ゲームにおいて前記所定表示演出を1回又は複数回実行するよう表示手段を制御可能であり、前記所定表示演出において表示される一部又は全部の複数の前記所定画像は、各々、異なるタイミングで表示が開始されるとともに特定期間において並行して表示され、各々、異なるタイミングにおいて表示が終了され、前記所定表示演出は、状況に応じて、実行確率及び/又は前記期待度が異なり、前記表示手段において、複数の前記所定画像の移動する速度は同一又は略同一であり、ゲームが実行されていない状態において、前記所定表示演出の実行が制限され得る。
【選択図】図5
特許請求の範囲
【請求項1】
図柄を変動させて行うゲームに関連して演出を実行可能な遊技機において、
前記演出を表示可能な表示手段と、
前記表示手段を制御可能な演出制御手段と、を備え、
前記演出には、互いに関連する複数の所定画像を表示する所定表示演出があり、
前記所定表示演出は、前記ゲームが当り結果となる期待度を示唆または報知可能であり、
前記演出制御手段は、1回の前記ゲームにおいて前記所定表示演出を1回又は複数回実行するよう前記表示手段を制御可能であり、
前記所定表示演出において表示される一部又は全部の複数の前記所定画像は、各々、異なるタイミングで表示が開始されるとともに特定期間において並行して表示され、各々、異なるタイミングにおいて表示が終了され、
前記所定表示演出は、状況に応じて、実行確率及び/又は前記期待度が異なり、
前記表示手段において、複数の前記所定画像の移動する速度は同一又は略同一であり、
前記ゲームが実行されていない状態において、前記所定表示演出の実行が制限され得ることを特徴とする遊技機。
続きを表示(約 540 文字)
【請求項2】
図柄を変動させて行うゲームに関連して演出を実行可能な遊技機において、
前記演出を表示可能な表示手段と、
前記表示手段を制御可能な演出制御手段と、を備え、
前記演出には、複数の所定画像を表示する所定表示演出があり、
前記所定表示演出において表示される複数の前記所定画像には、互いに大きさが同一又は略同一の画像が含まれ、
前記所定表示演出は、前記ゲームが当り結果となる期待度を示唆または報知可能であり、
前記演出制御手段は、1回の前記ゲームにおいて前記所定表示演出を1回又は複数回実行するよう前記表示手段を制御可能であり、
前記所定表示演出において表示される一部又は全部の複数の前記所定画像は、各々、異なるタイミングで表示が開始されるとともに特定期間において並行して表示され、各々、異なるタイミングにおいて表示が終了され、
前記所定表示演出は、状況に応じて、実行確率及び/又は前記期待度が異なり、
前記表示手段において、複数の前記所定画像の移動する速度は同一又は略同一であり、
前記ゲームが実行されていない状態において、前記所定表示演出の実行が制限され得ることを特徴とする遊技機。
発明の詳細な説明
【技術分野】
【0001】
本発明は、遊技機に関する。
続きを表示(約 1,500 文字)
【背景技術】
【0002】
従来、遊技に関する演出を実行可能な遊技機が存在している(例えば、特許文献1)。
【先行技術文献】
【特許文献】
【0003】
特開2015-221239号公報
【発明の概要】
【発明が解決しようとする課題】
【0004】
しかしながら、従来の遊技機において、遊技の興趣を向上させる余地があった。
【0005】
そこで、本発明は、遊技の興趣を向上させることを目的とする。
【課題を解決するための手段】
【0006】
本発明の代表的な一形態では、図柄を変動させて行うゲームに関連して演出を実行可能な遊技機において、前記演出を表示可能な表示手段と、前記表示手段を制御可能な演出制御手段と、を備え、前記演出には、互いに関連する複数の所定画像を表示する所定表示演出があり、前記所定表示演出は、前記ゲームが当り結果となる期待度を示唆または報知可能であり、前記演出制御手段は、1回の前記ゲームにおいて前記所定表示演出を1回又は複数回実行するよう前記表示手段を制御可能であり、前記所定表示演出において表示される一部又は全部の複数の前記所定画像は、各々、異なるタイミングで表示が開始されるとともに特定期間において並行して表示され、各々、異なるタイミングにおいて表示が終了され、前記所定表示演出は、状況に応じて、実行確率及び/又は前記期待度が異なり、前記表示手段において、複数の前記所定画像の移動する速度は同一又は略同一であり、前記ゲームが実行されていない状態において、前記所定表示演出の実行が制限され得る。
【発明の効果】
【0007】
本発明の一形態によれば、遊技の興趣を向上できる。
【図面の簡単な説明】
【0008】
遊技機を前面側から見た図である。
遊技盤の正面図である。
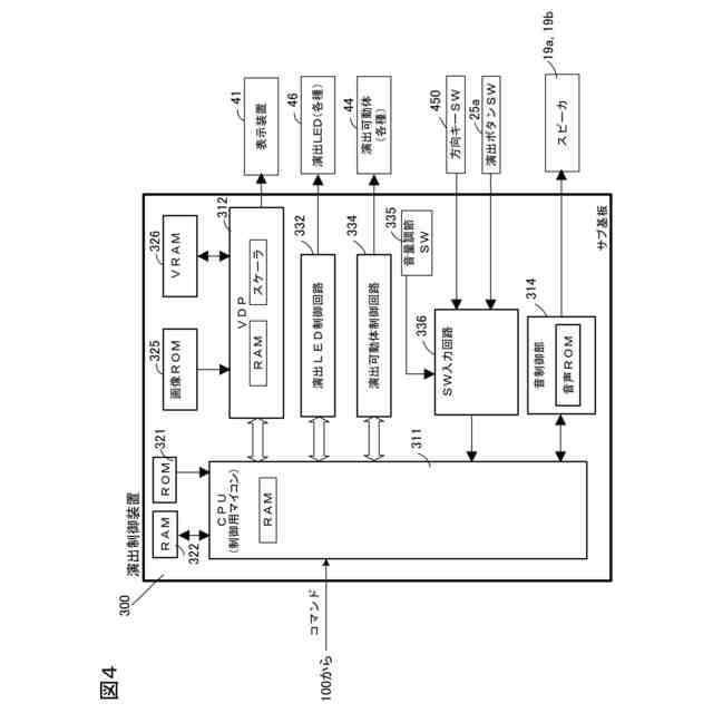
遊技機の遊技制御系の構成例を示すブロック図である。
遊技機の演出制御系の構成例を示すブロック図である。
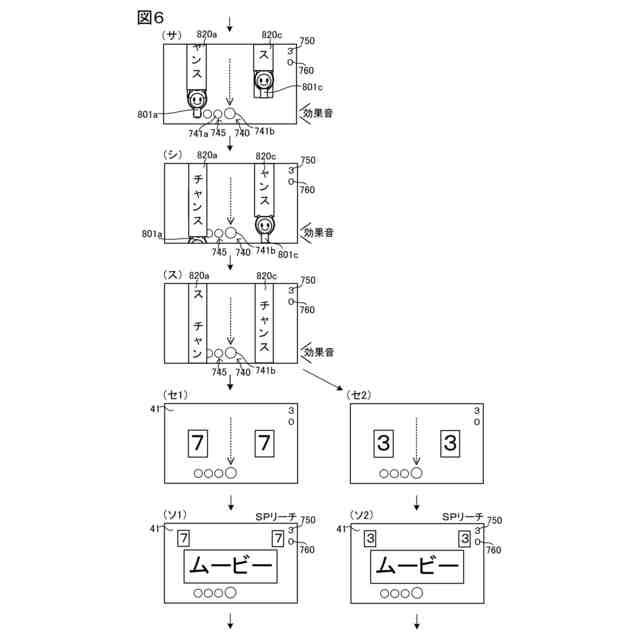
表示装置の表示画面を時系列で示した画面遷移図(その1)である。
表示装置の表示画面を時系列で示した画面遷移図(その2)である。
チャンス演出の抽選における振り分けテーブルである。
変形例1に関して、表示装置の表示画面を時系列で示した画面遷移図である。
変形例2に関して、表示装置の表示画面を時系列で示した画面遷移図(その1)である。
変形例2に関して、表示装置の表示画面を時系列で示した画面遷移図(その2)である。
変形例3に関して、表示装置の表示画面を時系列で示した画面遷移図である。
変形例4に関して、表示装置の表示画面を時系列で示した画面遷移図である。
【発明を実施するための形態】
【0009】
[実施形態]
以下、本発明の好適な実施の形態を図面に基づいて説明する。なお、遊技機の説明における前(表)、後(裏)、左、右とは、遊技中の遊技者から見た方向を基準とする。
【0010】
〔遊技機全体図〕
図1は、パチンコ機としての遊技機10を説明する図である。本実施形態の遊技機10は、封入式の遊技機(スマートパチンコ機)であり、遊技媒体としての遊技球は遊技機内部を循環して、上皿などの皿に遊技価値として付与されることはない。遊技価値は、遊技媒体(遊技球)に代えて、数値データとして付与される。なお、以下の実施形態の構成は、封入式でない遊技機にも適用可能である。
(【0011】以降は省略されています)
この特許をJ-PlatPat(特許庁公式サイト)で参照する
関連特許
株式会社ニューギン
遊技機
1か月前
株式会社ニューギン
遊技機
1か月前
株式会社ニューギン
遊技機
1か月前
株式会社ニューギン
遊技機
1か月前
株式会社ニューギン
遊技機
1か月前
株式会社ニューギン
遊技機
1か月前
株式会社ニューギン
遊技機
1か月前
株式会社ニューギン
遊技機
1か月前
株式会社ニューギン
遊技機
1か月前
株式会社ニューギン
遊技機
1か月前
株式会社ニューギン
遊技機
1か月前
株式会社ニューギン
遊技機
1か月前
株式会社ニューギン
遊技機
1か月前
株式会社ニューギン
遊技機
1か月前
株式会社ニューギン
島設備
1か月前
株式会社ニューギン
遊技機
1か月前
株式会社ニューギン
遊技機
1か月前
株式会社ニューギン
遊技機
1か月前
株式会社ニューギン
遊技機
1か月前
株式会社ニューギン
遊技機
1か月前
株式会社ニューギン
遊技機
10日前
株式会社ニューギン
遊技機
1か月前
株式会社ニューギン
遊技機
1か月前
株式会社ニューギン
遊技機
1か月前
株式会社ニューギン
遊技機
1か月前
株式会社ニューギン
遊技機
1か月前
株式会社ニューギン
遊技機
25日前
株式会社ニューギン
遊技機
17日前
株式会社ニューギン
遊技機
17日前
株式会社ニューギン
遊技機
4日前
個人
玩具
5か月前
個人
玩具
2か月前
個人
自走玩具
2か月前
個人
運動補助具
4か月前
個人
小型卓球台
27日前
個人
盤上遊戯具
10か月前
続きを見る
他の特許を見る