TOP
|
特許
|
意匠
|
商標
特許ウォッチ
Twitter
他の特許を見る
公開番号
2025148602
公報種別
公開特許公報(A)
公開日
2025-10-07
出願番号
2025125499,2023083695
出願日
2025-07-28,2023-05-22
発明の名称
遊技機
出願人
株式会社平和
代理人
個人
,
個人
主分類
A63F
7/02 20060101AFI20250930BHJP(スポーツ;ゲーム;娯楽)
要約
【課題】 操作部の操作性を向上する。
【解決手段】 パチンコ機1は、前扉ユニット4に設けられた下部装飾ユニット40と、下部装飾ユニット40の上面に設けられた計数操作ユニット41及び設定ボタンユニット42と、計数操作ユニット41の上面に設けられた計数ボタン41bと、設定ボタンユニット42に含まれる光量調整ボタン42aと、を備えている。そして、計数操作ユニット41の上面が、正面側に向かって傾斜しており、下部装飾ユニット40における計数ボタン41bの正面側において、上方に向かって立ち上がる壁部44が設けられている。また、計数ボタン41bと光量調整ボタン42aとで、操作面の高さが異なっており、前扉ユニット4の開閉軸に対する距離が、光量調整ボタン42aよりも計数ボタン41bの方が遠くなっている。
【選択図】 図4
特許請求の範囲
【請求項1】
前扉ユニットに設けられた膨出部と、
前記膨出部の上面に設けられた第1操作ユニット及び第2操作ユニットと、
前記第1操作ユニットの上面に設けられた第1操作部と、
前記第1操作部の操作時間に応じて、遊技媒体の計数に関する処理として、第1の処理と、第2の処理と、を実行可能な処理手段と、を備え、
前記第1操作ユニットの上面は、正面側に向かって傾斜しており、
前記第2操作ユニットは、互いに異なる項目の設定を行うことが可能な複数の操作部を含んでなり、
前記複数の操作部には、第2操作部が含まれ、
前記第1操作部と前記第2操作部とで、操作面の高さが異なっており、
前記前扉ユニットの開閉軸に対する距離は、前記第2操作ユニットよりも前記第1操作ユニットの方が遠いことを特徴とする遊技機。
発明の詳細な説明
【技術分野】
【0001】
本発明は、遊技者による操作が可能な操作部を備える遊技機に関する。
続きを表示(約 2,200 文字)
【背景技術】
【0002】
従来、遊技者による操作が可能な操作部を備える遊技機が知られている(特許文献1参照)。この遊技機では、管理遊技機の操作ユニットの上部左側において、計数スイッチ(操作部)が配置されている。
【先行技術文献】
【特許文献】
【0003】
特開2021-108920号公報
【発明の概要】
【発明が解決しようとする課題】
【0004】
しかしながら、従来の遊技機では、操作部の操作性が低下する恐れがある。
本発明の課題は、操作部の操作性を向上することにある。
【課題を解決するための手段】
【0005】
上記目的を達成するために、第一の発明に係る遊技機は、前扉ユニットに設けられた膨出部と、前記膨出部の上面に設けられた第1操作ユニット及び第2操作ユニットと、前記第1操作ユニットの上面に設けられた第1操作部と、前記第1操作部の操作時間に応じて、遊技媒体の計数に関する処理として、第1の処理と、第2の処理と、を実行可能な処理手段と、を備え、前記第1操作ユニットの上面は、正面側に向かって傾斜しており、前記第2操作ユニットは、互いに異なる項目の設定を行うことが可能な複数の操作部を含んでなり、前記複数の操作部には、第2操作部が含まれ、前記第1操作部と前記第2操作部とで、操作面の高さが異なっており、前記前扉ユニットの開閉軸に対する距離は、前記第2操作ユニットよりも前記第1操作ユニットの方が遠いことを特徴とする。
第一の発明に係る遊技機では、操作部の操作性を向上することが可能となる。
【発明の効果】
【0006】
本発明によれば、操作部の操作性を向上することが可能となる。
【図面の簡単な説明】
【0007】
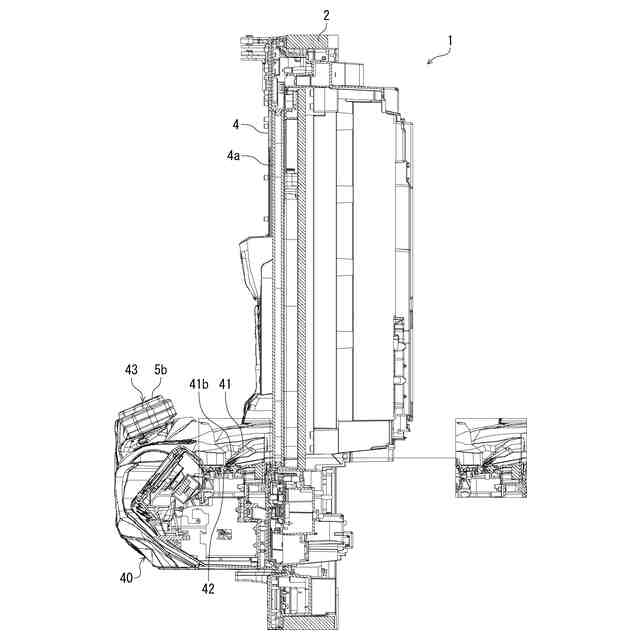
パチンコ機1の斜視図である。
パチンコ機1の平面図である。
図2に示すA-A線に沿う断面図である。
前扉ユニット4の斜視図である。
遊技盤の正面を示し、特に説明に必要な部分を模式的に示した図である。
循環ユニット500の正面図である。
図6に示す循環ユニット500から一部の部品を取り外した状態を示す図である。
パチンコ機の制御系の構成を示すブロック図である。
【発明を実施するための形態】
【0008】
以下、本発明の実施形態について図面を参照しながら説明する。
本実施形態では、本発明に係る遊技機を、パチンコ機1に適用している。
パチンコ機1は、当該遊技機内で循環される所定個数(本形態では、45[球])の遊技球を遊技に使用することで、遊技球の貸し出しや賞球の払い出しを遊技者に対して直接行うことなく(すなわち、遊技者が遊技球に直接触れることなく)遊技を進行することが可能な遊技機(所謂、「管理遊技機」)となっている。パチンコ機1では、遊技者が所有する遊技球の数(以下、「持ち球数」とする)が、数値データとして管理される。
【0009】
(専用ユニットUN)
パチンコ機1には、外部装置として、専用ユニットUN(図8参照)が接続されている。
専用ユニットUNは、紙幣挿入口、カード挿入口、表示装置、貸出ボタン等を含んで構成されている。
紙幣挿入口には、紙幣を挿入することが可能となっている。カード挿入口には、遊技球の数に対応する価値情報が記憶される記憶媒体(カード)を挿入することが可能となっている。表示装置には、挿入されている記憶媒体に記憶されている価値情報等を表示することが可能となっている。
専用ユニットUNは、紙幣又はカードが挿入された上で、貸出ボタンが押下操作されるごとに、パチンコ機1に対して、所定の貸し球数(本実施形態では、125[球])の遊技球の貸し出しを指定する貸し出しコマンドを送信する。そして、パチンコ機1は、専用ユニットUNから貸し出しコマンドを受信するごとに、管理されている持ち球数に、所定の貸し球数を加算する。これによって、遊技者は、パチンコ機1において、管理されている持ち球数分の遊技球を発射することが可能となる。
また、パチンコ機1は、管理されている持ち球数が1[球]以上のときに、後述する計数操作が実行されると、持ち球数を価値情報に変換して記憶媒体に記憶させるため、専用ユニットUNに対して、後述する計数コマンドを送信する。
【0010】
(パチンコ機1の全体構成)
まず、パチンコ機1の全体構成を説明する。
図1は、パチンコ機1の斜視図である。図2は、パチンコ機1の平面図である。図3は、図2に示すA-A線に沿う断面図である。図4は、前扉ユニット4の斜視図である。なお、図1は、前扉ユニット4を開放している状態を示している。また、図1から図4では、前扉ユニット4に含まれる上部装飾ユニットの表示を省略している。
図1及び図2に示すように、パチンコ機1は、外枠ユニット2と、内枠ユニット3と、前扉ユニット4と、遊技盤ユニット10(図5参照)と、循環ユニット500(図6参照)と、を含んで構成されている。
(【0011】以降は省略されています)
この特許をJ-PlatPat(特許庁公式サイト)で参照する
関連特許
株式会社平和
遊技機
1日前
株式会社平和
遊技機
2か月前
株式会社平和
遊技機
1か月前
株式会社平和
遊技機
1か月前
株式会社平和
遊技機
1か月前
株式会社平和
遊技機
1か月前
株式会社平和
遊技機
1か月前
株式会社平和
遊技機
1か月前
株式会社平和
遊技機
2か月前
株式会社平和
遊技機
2か月前
株式会社平和
遊技機
2か月前
株式会社平和
遊技機
1か月前
株式会社平和
遊技機
2か月前
株式会社平和
遊技機
2か月前
株式会社平和
遊技機
2か月前
株式会社平和
遊技機
2か月前
株式会社平和
遊技機
2か月前
株式会社平和
遊技機
2か月前
株式会社平和
遊技機
2か月前
株式会社平和
遊技機
2か月前
株式会社平和
遊技機
2か月前
株式会社平和
遊技機
1か月前
株式会社平和
遊技機
1か月前
株式会社平和
遊技機
2か月前
株式会社平和
遊技機
1か月前
株式会社平和
遊技機
3日前
株式会社平和
遊技機
3日前
株式会社平和
遊技機
7日前
株式会社平和
遊技機
7日前
株式会社平和
遊技機
7日前
株式会社平和
遊技機
8日前
株式会社平和
遊技機
8日前
株式会社平和
遊技機
21日前
株式会社平和
遊技機
21日前
株式会社平和
遊技機
21日前
株式会社平和
遊技機
21日前
続きを見る
他の特許を見る