TOP
|
特許
|
意匠
|
商標
特許ウォッチ
Twitter
他の特許を見る
10個以上の画像は省略されています。
公開番号
2025145795
公報種別
公開特許公報(A)
公開日
2025-10-03
出願番号
2024046219
出願日
2024-03-22
発明の名称
脱臭装置
出願人
日本軽金属株式会社
,
日本電極株式会社
代理人
個人
,
個人
,
個人
主分類
F23G
7/06 20060101AFI20250926BHJP(燃焼装置;燃焼方法)
要約
【課題】送風機等の排ガスを上昇させる機器を要することなく排ガスの脱臭が可能な脱臭装置を提供する。
【解決手段】工業炉から排出される、臭気ガスを含む排ガスを希釈用ガスで希釈しながら通過させる希釈煙道と、内部を加熱するバーナを備え、排ガスを前記バーナで加熱しながら通過させるガス処理煙道と、ガス処理煙道内においてバーナで加熱された排ガスを通過させて外部に排気する排気煙道と、を備え、工業炉から排出される排ガスが、希釈煙道と、ガス処理煙道と、排気煙道とを上方に向けて順次通過するように、希釈煙道と、ガス処理煙道と、排気煙道とが連結している脱臭装置である。
【選択図】図1
特許請求の範囲
【請求項1】
工業炉から排出される、臭気ガスを含む排ガスを希釈用ガスで希釈しながら通過させる希釈煙道と、
内部を加熱するバーナを備え、前記排ガスを前記バーナで加熱しながら通過させるガス処理煙道と、
前記ガス処理煙道内において前記バーナで加熱された排ガスを通過させて外部に排気する排気煙道と、を備え、
前記工業炉から排出される前記排ガスが、前記希釈煙道と、前記ガス処理煙道と、前記排気煙道とを上方に向けて順次通過するように、希釈煙道と、ガス処理煙道と、排気煙道とが連結している、脱臭装置。
続きを表示(約 1,000 文字)
【請求項2】
前記ガス処理煙道は、前記希釈煙道との連結部及び前記排気煙道との連結部が水平方向において同じ位置にあるか、又は前記希釈煙道との連結部よりも前記排気煙道との連結部の方が上方に位置するように少なくとも一部が傾斜している、請求項1に記載の脱臭装置。
【請求項3】
前記ガス処理煙道の傾斜部分の傾斜角が、水平方向に対して0~90°である、請求項2に記載の脱臭装置。
【請求項4】
前記ガス処理煙道の内壁に耐火材が敷設されている、請求項1又は2に記載の脱臭装置。
【請求項5】
前記ガス処理煙道における前記希釈煙道との連結部は、前記ガス処理煙道の下端部と、前記ガス処理煙道及び前記排気煙道の連結部との間に位置し、前記バーナは、前記ガス処理煙道の下端部に設けられている、請求項2又は3に記載の脱臭装置。
【請求項6】
前記ガス処理煙道及び前記排気煙道の連結部は、前記ガス処理煙道の上端部より下方に位置する、請求項2又は3に記載の脱臭装置。
【請求項7】
前記排気煙道に、排ガスの温度を低下させる排熱部を備える、請求項1又は2に記載の脱臭装置。
【請求項8】
前記希釈煙道の下方部に、外部からの希釈用ガスを取り入れるダンパを有する、請求項1又は2に記載の脱臭装置。
【請求項9】
複数の工業炉から排出される、臭気ガスを含む排ガスを希釈用ガスで希釈しながら通過させる、前記複数の工業炉のそれぞれに対応する複数の希釈煙道と、
内部を加熱するバーナと、前記複数の希釈煙道から流出する排ガスを合流させる合流部とを備え、前記合流部において合流した排ガスを前記バーナで加熱しながら通過させるガス処理煙道と、
前記ガス処理煙道内において前記バーナで加熱された排ガスを通過させて外部に排気する排気煙道と、を備え、
前記複数の工業炉から排出される前記排ガスが、前記希釈煙道と、前記ガス処理煙道と、前記排気煙道とを上方に向けて順次通過するように、前記複数の希釈煙道と、前記ガス処理煙道と、前記排気煙道とが連結している、脱臭装置。
【請求項10】
前記ガス処理煙道は、前記合流部おいて前記複数の希釈煙道と連結されており、前記希釈煙道と前記ガス処理煙道との連結部よりも前記ガス処理煙道と前記排気煙道との連結部の方が上方に位置するように垂直方向に設置されている、請求項9に記載の脱臭装置。
(【請求項11】以降は省略されています)
発明の詳細な説明
【技術分野】
【0001】
本発明は、脱臭装置に関する。
続きを表示(約 2,200 文字)
【背景技術】
【0002】
従来、工業炉等から排出される排ガスを脱臭する脱臭装置においては、脱臭する成分により様々なタイプの脱臭炉又は脱臭装置が考案されてきた。例えば特許文献1においては、脱臭炉と、該脱臭炉の上端に立設した煙突と、空気予熱器と、送風機とを備えているアスファルトプラントの脱臭装置が開示されている。当該脱臭装置においては、工業炉等から排出される排ガスを内部に誘引し、通風させるために外部に送風機(ファン)が設けられている。
【先行技術文献】
【特許文献】
【0003】
特開2003-302029号公報
【発明の概要】
【発明が解決しようとする課題】
【0004】
しかしながら、特許文献1に記載の脱臭装置は、送風機や排風機等の排ガスを通風させる機器は耐熱温度に限界があり、高温の排ガスを処理することが困難な場合がある。実際に、例えば600℃以上の排ガスには送風機や排風機等を適用できず、そのような高温の排ガスに対しては、ガスクーラ等で処理可能温度まで冷却する必要があった。また、送風機や排風機等は、稼働するためのエネルギが必要であり、排ガスは腐食性ガスを含むケースが多いことから、送風機や排風機が腐食しやすいといった問題もある。さらに、特許文献1に記載の脱臭装置は、上記の通り、外部に送風機が設けられることから、脱臭装置が占める面積に加えて、送風機を設置するための敷地が必要となる。
【0005】
本発明は、このような従来技術が有する課題に鑑みてなされたものである。そして、本発明の目的は、送風機や排風機等の排ガスを通風させる機器を要することなく排ガスの脱臭が可能な脱臭装置を提供することにある。
【課題を解決するための手段】
【0006】
本発明の第1の態様に係る脱臭装置は、工業炉から排出される、臭気ガスを含む排ガスを希釈用ガスで希釈しながら通過させる希釈煙道と、内部を加熱するバーナを備え、排ガスをバーナで加熱しながら通過させるガス処理煙道と、ガス処理煙道内においてバーナで加熱された排ガスを通過させて外部に排気する排気煙道と、を備え、工業炉から排出される排ガスが、希釈煙道と、ガス処理煙道と、排気煙道とを上方に向けて順次通過するように、希釈煙道と、ガス処理煙道と、排気煙道とが連結している。
【0007】
本発明の第2の態様に係る脱臭装置は、複数の工業炉から排出される、臭気ガスを含む排ガスを希釈用ガスで希釈しながら通過させる、複数の工業炉のそれぞれに対応する複数の希釈煙道と、内部を加熱するバーナと、複数の希釈煙道から流出する排ガスを合流させる合流部とを備え、合流部において合流した排ガスを前記バーナで加熱しながら通過させるガス処理煙道と、ガス処理煙道内においてバーナで加熱された排ガスを通過させて外部に排気する排気煙道と、を備え、複数の工業炉から排出される排ガスが、希釈煙道と、ガス処理煙道と、排気煙道とを上方に向けて順次通過するように、複数の希釈煙道と、ガス処理煙道と、排気煙道とが連結している。
【発明の効果】
【0008】
本発明によれば、送風機等の排ガスを通風させる機器を要することなく排ガスの脱臭が可能な脱臭装置を提供することができる。
【図面の簡単な説明】
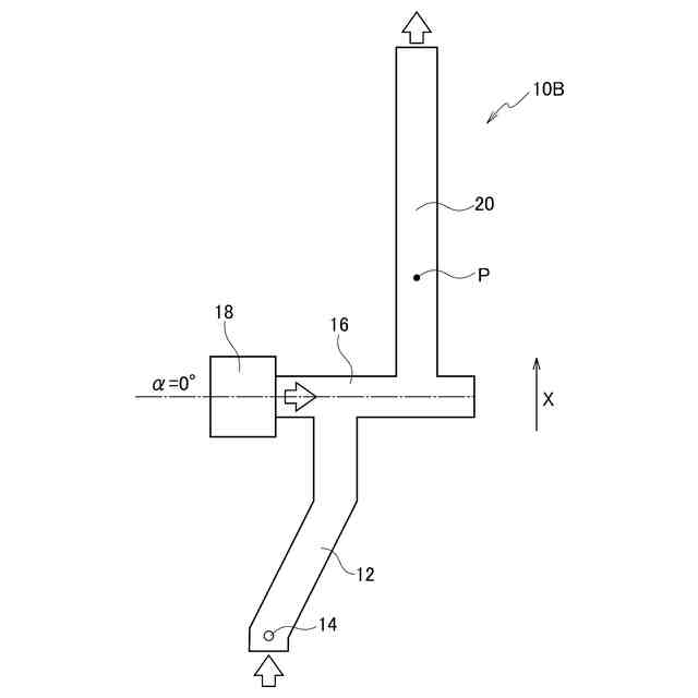
【0009】
第1実施形態の脱臭装置の一例を模式的に示す側面図である。
図1に示す脱臭装置の変形例を模式的に示す側面図である。
図1に示す脱臭装置の稼働時において、高さに対する温度変化及び流量変化を示すグラフである。
図2に示す脱臭装置の稼働時において、高さに対する温度変化及び流量変化を示すグラフである。
第1実施形態の脱臭装置において、排気煙道に熱交換器を有する形態を模式的に示す側面図である。
図5に示す脱臭装置の変形例を模式的に示す側面図である。
図5に示す脱臭装置の稼働時において、高さに対する温度変化及び流量変化を示すグラフである。
図6に示す脱臭装置の稼働時において、高さに対する温度変化及び流量変化を示すグラフである。
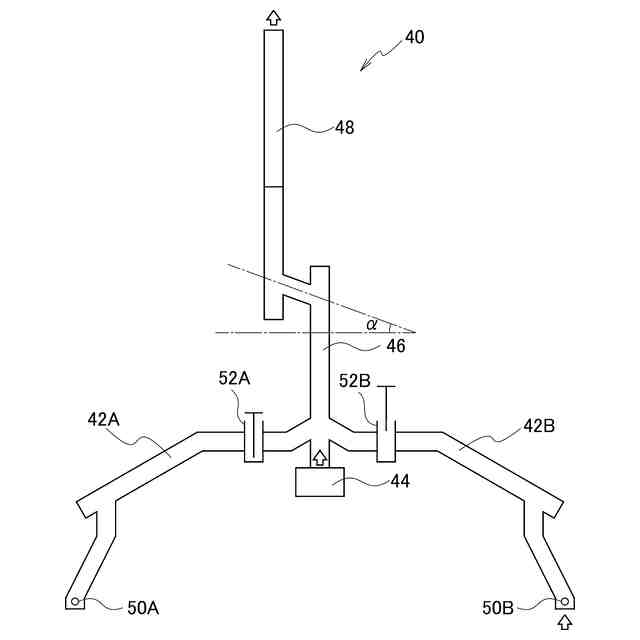
第2実施形態の脱臭装置の一例を模式的に示す側面図である。
第2実施形態の脱臭装置の変形例を模式的に示す側面図である。
第2実施形態の脱臭装置の変形例を模式的に示す側面図である。
第2実施形態の脱臭装置の変形例を模式的に示す側面図である。
第2実施形態の脱臭装置の変形例を模式的に示す側面図である。
第2実施形態の脱臭装置の変形例を模式的に示す側面図である。
4つの工業炉に連結可能とした脱臭装置の斜視図である。
【発明を実施するための形態】
【0010】
以下、図面を用いて本実施形態に係る脱臭装置について詳細に説明する。本実施形態は以下の説明のみに限定されるものではない。また、本実施形態における構成要素は、一部又は全部を適宜組み合わせることができる。なお、図面の寸法比率は説明の都合上誇張されており、実際の比率とは異なる場合がある。
(【0011】以降は省略されています)
この特許をJ-PlatPat(特許庁公式サイト)で参照する
関連特許
日本軽金属株式会社
遮音壁
9日前
日本軽金属株式会社
接合方法
8日前
日本軽金属株式会社
脱臭装置
15日前
日本軽金属株式会社
外観ムラ抑制部材
8日前
日本軽金属株式会社
外観ムラ抑制部材
8日前
日本軽金属株式会社
蓋体及びその製造方法
8日前
日本軽金属株式会社
撥液部材及びその製造方法
8日前
日本軽金属株式会社
撥液部材及びその製造方法
8日前
日本軽金属株式会社
めっき部材及びその製造方法
3日前
日本軽金属株式会社
脱臭制御システム及び脱臭制御方法
15日前
日本軽金属株式会社
アルミニウム部材及びその製造方法
19日前
日本軽金属株式会社
アルミニウム部材及びその製造方法
19日前
日本軽金属株式会社
ヒートパイプ及び、ヒートパイプの製造方法
8日前
日本軽金属株式会社
板状アルミナ粉末及びその製造方法、並びに塗料又は化粧品
8日前
日本軽金属株式会社
分析用担体、イムノクロマトグラフィー用テストストリップ及び分析用担体の製造方法
8日前
日本軽金属株式会社
分析用担体、イムノクロマトグラフィー用テストストリップ及び分析用担体の製造方法
8日前
個人
煙突煤払い掃除機
2か月前
個人
燃焼炉の操業方法
1か月前
個人
ウッドガスストーブ
17日前
コーキ株式会社
煙突
1か月前
個人
形見の製造方法
23日前
株式会社トヨトミ
石油燃焼器
11日前
株式会社パロマ
燃焼装置
3か月前
株式会社豊田自動織機
耐熱部材
1か月前
株式会社トヨトミ
固体燃料燃焼器
4か月前
株式会社オメガ
熱風発生装置
5か月前
株式会社サイトウ工研
焚き火台
8日前
三浦工業株式会社
ボイラ
4か月前
株式会社フクハラ
充填物処理方法
3か月前
個人
回転キルンを利用した燻炭製造方法
4か月前
東京パイプ株式会社
着火器具
2か月前
株式会社タクマ
付着物除去システム
3か月前
リンナイ株式会社
燃焼装置
4か月前
大陽日酸株式会社
バーナ
5か月前
三浦工業株式会社
燃焼システム
8日前
大陽日酸株式会社
バーナ
5か月前
続きを見る
他の特許を見る