TOP
|
特許
|
意匠
|
商標
特許ウォッチ
Twitter
他の特許を見る
10個以上の画像は省略されています。
公開番号
2025144743
公報種別
公開特許公報(A)
公開日
2025-10-03
出願番号
2024044577
出願日
2024-03-21
発明の名称
壁構造体
出願人
河西工業株式会社
代理人
個人
,
個人
主分類
E04B
2/74 20060101AFI20250926BHJP(建築物)
要約
【課題】断熱性能及び遮音性能の向上を図ることが可能な壁構造体を提供する。
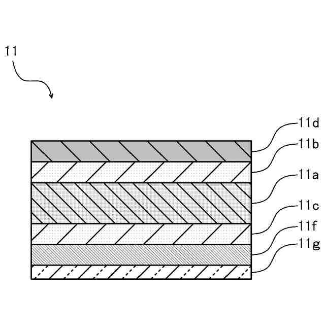
【解決手段】壁構造体は、多孔質体によって形成された多孔質体層と、多孔質体層を補強する繊維層と、表面を形成する表皮層との少なくとも3層を備えた2枚の板材11と、2枚の板材11の間に介在され2枚の板材11を所定間隔を有した状態で一体化させる細長形状の複数個のジョイント部材12と、を有した二重壁材10を複数個組み付けて構成されている。
【選択図】図2
特許請求の範囲
【請求項1】
多孔質体によって形成された多孔質体層と、前記多孔質体層を補強する繊維層と、表面を形成する表皮層との少なくとも3層を備えた2枚の板材と、前記2枚の板材の間に介在され前記2枚の板材を所定間隔を有した状態で一体化させる間隔方向に細長形状の複数個のジョイント部材と、を有した二重壁材を複数個組み付けて構成されている
ことを特徴とする壁構造体。
続きを表示(約 1,000 文字)
【請求項2】
前記二重壁材は、前記2枚の板材が矩形状であって、前記ジョイント部材が矩形の各辺に少なくとも1つ設けられている
ことを特徴とする請求項1に記載の壁構造体。
【請求項3】
前記二重壁材は、複数個組み付けて構成された場合に、前記ジョイント部材が隣接する前記二重壁材のジョイント部材と接触又は近接状態となり、双方のジョイント部材同士が連結されている
ことを特徴とする請求項2に記載の壁構造体。
【請求項4】
前記ジョイント部材は、前記2枚の板材のうち矩形の角部に介在され、間隔方向に長尺となる第1板部及び第2板部の側部が連結されて断面L字形状とされたL字板部と、前記L字板部の間隔方向の両端部に形成された第1端壁及び第2端壁とを有し、
前記第1板部、及び前記第2板部は、それぞれが開孔を含む板開孔部を有し、
前記第1端壁、及び前記第2端壁は、それぞれが開孔を含む壁開孔部を有し、
前記第1端壁は、前記2枚の板材のうち一方の板材を貫通する第1挿入部材が壁開孔部に挿入されることで前記一方の板材と一体化され、
前記第2端壁は、前記2枚の板材のうち他方の板材を貫通する第2挿入部材が壁開孔部に挿入されることで前記他方の板材と一体化され、
連結される双方のジョイント部材同士は、それぞれの板開孔部同士が連通状態とされたうえで第3挿入部材が挿入されて連結されている
ことを特徴とする請求項3に記載の壁構造体。
【請求項5】
前記第1端壁及び前記第2端壁に形成された壁開孔部は、間隔方向に沿って同軸上に、それぞれ1つずつ形成されている
ことを特徴とする請求項4に記載の壁構造体。
【請求項6】
組み付けられた場合にコーナー部を構成する2つの前記二重壁材は、一方の二重壁材の一方の板材を第4挿入部材が貫通すると共に、他方の前記ジョイント部材のうち前記第1板部又は前記第2板部の板開孔部に当該第4挿入部材が挿入されることで、組み付けられている
ことを特徴とする請求項4に記載の壁構造体。
【請求項7】
前記2枚の板材は、前記第1挿入部材、前記第2挿入部材及び前記第4挿入部材を貫通挿入させるための貫通孔が形成されると共に、前記第4挿入部材を貫通挿入させるための貫通孔には、前記2枚の板材と同じ層構造の部材が埋められた状態となっている
ことを特徴とする請求項6に記載の壁構造体。
発明の詳細な説明
【技術分野】
【0001】
本開示は、壁構造体に関する。
続きを表示(約 1,500 文字)
【背景技術】
【0002】
従来、市販の防災テントやパーテーションには、ビニール、布及び段ボール等が用いられている(例えば特許文献1,2参照)。
【先行技術文献】
【特許文献】
【0003】
特開昭58-69503号公報
特開2016-89396号公報
【発明の概要】
【発明が解決しようとする課題】
【0004】
しかし、特許文献1,2に記載の製品は断熱性能や遮音性能が高いものではない。このため、テントのように外部で用いられる場合、避難所において暖房利用等が制限される場合、職場等の仕切りとして用いる場合等のように、比較的高い断熱性能や遮音性能の少なくとも1つが求められる環境において、より高性能のものが求められている。
【0005】
本開示はこのような従来の課題を解決するためになされたものであり、その目的は、断熱性能及び遮音性能の向上を図ることが可能な壁構造体を提供することにある。
【課題を解決するための手段】
【0006】
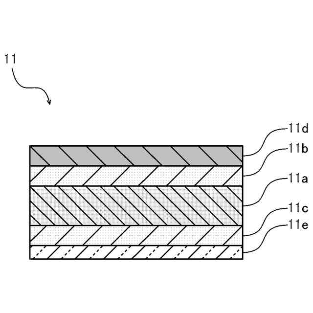
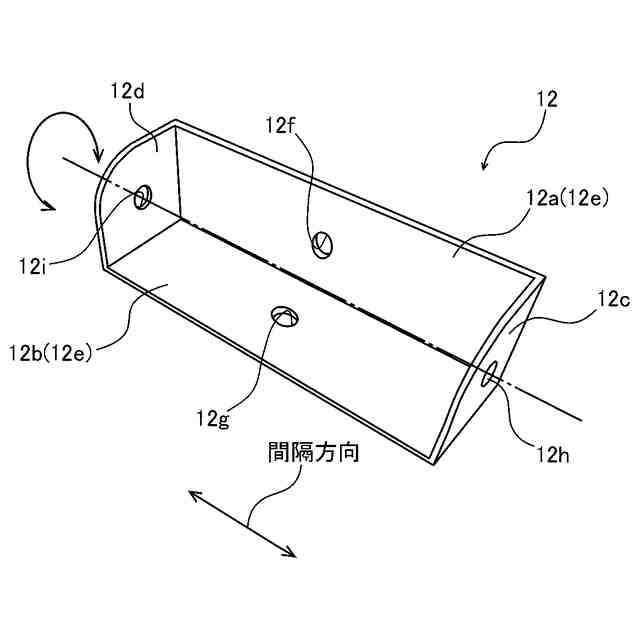
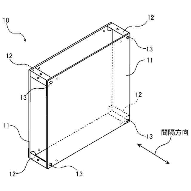
係る課題を解決するために、本開示に係る壁構造体は、多孔質体によって形成された多孔質体層と、前記多孔質体層を補強する繊維層と、表面を形成する表皮層との少なくとも3層を備えた2枚の板材と、前記2枚の板材の間に介在され前記2枚の板材を所定間隔を有した状態で一体化させる間隔方向に細長形状の複数個のジョイント部材と、を有した二重壁材を複数個組み付けて構成されている。
【発明の効果】
【0007】
本開示によれば、断熱性能及び遮音性能の向上を図ることが可能な壁構造体を提供することができる。
【図面の簡単な説明】
【0008】
図1は、本実施形態に係る壁構造体を示す斜視図である。
図2は、図1に示した二重壁材の詳細を示す斜視図である。
図3は、図2に示した2枚の板材それぞれの断面図である。
図4は、図2に示した2枚の板材それぞれの他の例を示す断面図である。
図5は、図2に示した2枚の板材それぞれの平面図である。
図6は、図2に示したジョイント部材の詳細を示す斜視図である。
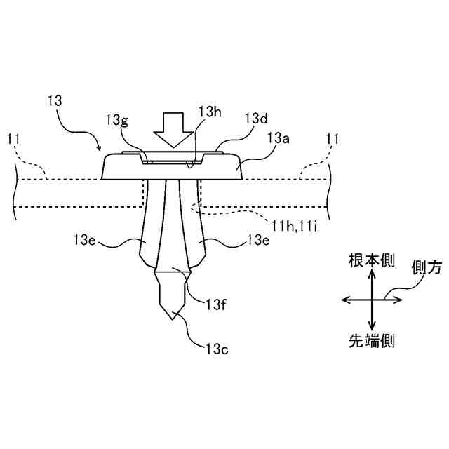
図7は、図2に示したクリップの詳細を示す構成図であり、斜視図を示している。
図8は、図2に示したクリップの詳細を示す構成図であり、クリップの挿入状態を示す側面図を示している。
図9は、図2に示したクリップの詳細を示す構成図であり、上面図を示している。
図10は、図2に示した二重壁材同士の組付状態を示す第1の斜視図である。
図11は、図2に示した二重壁材同士の組付状態を示す第2の斜視図である。
【発明を実施するための形態】
【0009】
以下、本開示を好適な実施形態に沿って説明する。なお、本開示は以下に示す実施形態に限られるものではなく、本開示の趣旨を逸脱しない範囲において適宜変更可能である。また、以下に示す実施形態においては、一部構成の図示や説明を省略している箇所があるが、省略された技術の詳細については、以下に説明する内容と矛盾が発生しない範囲内において、適宜公知又は周知の技術が適用されていることはいうまでもない。
【0010】
図1は、本実施形態に係る壁構造体を示す斜視図である。図1に示す壁構造体1は、断熱性能及び遮音性能の向上が図られたものであって、二重壁材10が複数個組み付けられて形成されている。このような壁構造体1は、複数個の二重壁材10と、隠し板20とを備えて構成されている。
(【0011】以降は省略されています)
この特許をJ-PlatPat(特許庁公式サイト)で参照する
関連特許
河西工業株式会社
壁構造体
1か月前
個人
接合構造
1か月前
個人
屋台
2か月前
個人
タッチミー
1か月前
個人
野良猫ハウス
2か月前
個人
安心補助てすり
26日前
個人
転落防止用手摺
2か月前
個人
フェンス
3か月前
ニチハ株式会社
建築板
2か月前
個人
ベンリナアングル
1か月前
積水樹脂株式会社
柵体
2か月前
個人
居住車両用駐車場
2か月前
個人
筋交自動設定装置
1か月前
個人
熱抵抗多層断熱建材
2か月前
個人
柵
3か月前
個人
補強部材
2か月前
鹿島建設株式会社
壁体
2か月前
個人
身体用シェルター
1か月前
成友建設株式会社
建物
2か月前
個人
防災建築物
1か月前
株式会社シンケン
住宅
27日前
個人
身体用シェルター
1か月前
三協立山株式会社
構造体
1か月前
三協立山株式会社
構造体
27日前
株式会社熊谷組
床構成材
1か月前
三協立山株式会社
構造体
1か月前
三協立山株式会社
構造体
11日前
三協立山株式会社
構造体
1か月前
三協立山株式会社
構造体
1か月前
三協立山株式会社
構造体
1か月前
三協立山株式会社
構造体
1か月前
個人
可搬型供養墓
1か月前
株式会社熊谷組
吊り治具
1か月前
インターマン株式会社
天井構造
3か月前
株式会社熊谷組
木質材料
2か月前
三洋工業株式会社
床構造
27日前
続きを見る
他の特許を見る