TOP
|
特許
|
意匠
|
商標
特許ウォッチ
Twitter
他の特許を見る
公開番号
2025143677
公報種別
公開特許公報(A)
公開日
2025-10-02
出願番号
2024043027
出願日
2024-03-19
発明の名称
圧電セラミック積層体
出願人
日本特殊陶業株式会社
代理人
弁理士法人暁合同特許事務所
主分類
H10N
30/853 20230101AFI20250925BHJP()
要約
【課題】高温、高電界下における絶縁性に優れ、かつ機械的強度に優れる圧電セラミック積層体の提供。
【解決手段】本発明の圧電セラミック積層体は、ニオブ酸アルカリ系ペロブスカイト型酸化物を主成分とする複数のセラミック層と、複数の内部電極とが、一方向に交互に積層された圧電セラミック積層体であって、前記セラミック層は、隣り合った前記内部電極の間で挟まれた部分からなり、Mn
2
TiO
4
を含む活性層と、前記一方向の両端の前記内部電極より端側に配され、Mn
4
Nb
2
O
9
を含む不活性層と、を有する。
【選択図】図1
特許請求の範囲
【請求項1】
ニオブ酸アルカリ系ペロブスカイト型酸化物を主成分とする複数のセラミック層と、複数の内部電極とが、一方向に交互に積層された圧電セラミック積層体であって、
前記セラミック層は、隣り合った前記内部電極の間で挟まれた部分からなり、Mn
2
TiO
4
を含む活性層と、
前記一方向の両端の前記内部電極より端側に配され、Mn
4
Nb
2
O
9
を含む不活性層と、を有する圧電セラミック積層体。
続きを表示(約 55 文字)
【請求項2】
複数の前記内部電極は、Niを主成分とする請求項1に記載の圧電セラミック積層体。
発明の詳細な説明
【技術分野】
【0001】
本発明は、圧電セラミック積層体に関する。
続きを表示(約 1,200 文字)
【背景技術】
【0002】
近年、小型かつ低電圧でも高変位で駆動可能な積層型の圧電セラミック積層体が注目されている。一般的な、圧電セラミック積層体は、環境に悪影響を及ぼす鉛を含んだPZT系(チタン酸ジルコン酸鉛系)のセラミック層と、高価なPtやPdを含んだ内部電極とを備えている。そのため、環境にやさしく低コストの圧電セラミック積層体が求められている。そこで、従来、安価な卑金属であるNiを主成分とした内部電極と、ニオブ酸アルカリ系ペロブスカイト型酸化物を主成分とする無鉛型のセラミック層とを備えた圧電セラミック積層体が提案されている(特許文献1,2参照)。
【先行技術文献】
【特許文献】
【0003】
特許第5862983号公報
特許第6094682号公報
【発明の概要】
【発明が解決しようとする課題】
【0004】
圧電セラミック積層体には、高温かつ高電界下(例えば、100℃、3kV/mm)での使用が求められるため、そのような過酷な条件下でも高い絶縁性を示すことが求められる。更に、圧電セラミック積層体には、駆動中に機械的な負荷が加わるため、高い機械的強度も求められる。
【0005】
特許文献1,2には、上述した従来の圧電セラミック積層体は開示されているものの、高温、高電界下における絶縁性や、機械的強度については検討されていない。
【0006】
本発明の目的は、高温、高電界下における絶縁性に優れ、かつ機械的強度に優れる圧電セラミック積層体を提供することである。
【課題を解決するための手段】
【0007】
前記課題を解決するための手段は、以下の通りである。即ち、
<1> ニオブ酸アルカリ系ペロブスカイト型酸化物を主成分とする複数のセラミック層と、複数の内部電極とが、一方向に交互に積層された圧電セラミック積層体であって、前記セラミック層は、隣り合った前記内部電極の間で挟まれた部分からなり、Mn
2
TiO
4
を含む活性層と、前記一方向の両端の前記内部電極より端側に配され、Mn
4
Nb
2
O
9
を含む不活性層と、を有する圧電セラミック積層体。
【0008】
<2> 複数の前記内部電極は、Niを主成分とする前記<1>に記載の圧電セラミック積層体。
【発明の効果】
【0009】
本発明によれば、高温、高電界下における絶縁性に優れ、かつ機械的強度に優れる圧電セラミック積層体を提供することができる。
【図面の簡単な説明】
【0010】
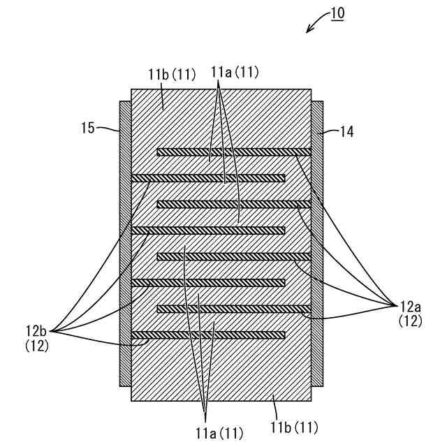
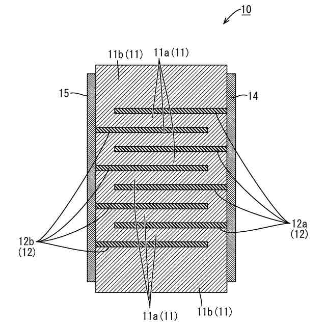
圧電セラミック積層体の断面図
【発明を実施するための形態】
(【0011】以降は省略されています)
この特許をJ-PlatPat(特許庁公式サイト)で参照する
関連特許
日本特殊陶業株式会社
電極
9日前
日本特殊陶業株式会社
電極
9日前
日本特殊陶業株式会社
電極
9日前
日本特殊陶業株式会社
電極
9日前
日本特殊陶業株式会社
センサ
2日前
日本特殊陶業株式会社
センサ
2日前
日本特殊陶業株式会社
センサ
2日前
日本特殊陶業株式会社
センサ
2日前
日本特殊陶業株式会社
センサ
2日前
日本特殊陶業株式会社
保持装置
13日前
日本特殊陶業株式会社
保持装置
11日前
日本特殊陶業株式会社
保持装置
9日前
日本特殊陶業株式会社
保持装置
9日前
日本特殊陶業株式会社
圧電発音体
2日前
日本特殊陶業株式会社
超音波発生装置
13日前
日本特殊陶業株式会社
超音波発生装置
13日前
日本特殊陶業株式会社
セラミック部品
3日前
日本特殊陶業株式会社
セラミックヒータ
10日前
日本特殊陶業株式会社
マイクロリアクタ
13日前
日本特殊陶業株式会社
セラミックヒータ
10日前
日本特殊陶業株式会社
ホットモジュール
3日前
日本特殊陶業株式会社
ホットモジュール
3日前
日本特殊陶業株式会社
セラミックヒータ
13日前
日本特殊陶業株式会社
圧電セラミック積層体
10日前
日本特殊陶業株式会社
ガスセンサの製造方法
4日前
日本特殊陶業株式会社
圧電セラミック積層体
2日前
日本特殊陶業株式会社
圧電素子およびその利用
13日前
日本特殊陶業株式会社
圧電素子およびその利用
13日前
日本特殊陶業株式会社
金属有機構造体、および賦形体
5日前
日本特殊陶業株式会社
積層圧電セラミック素子及び装置
13日前
日本特殊陶業株式会社
積層圧電セラミック素子及び装置
13日前
日本特殊陶業株式会社
積層圧電セラミック素子及び装置
13日前
日本特殊陶業株式会社
配線基板および導電層の製造方法
9日前
日本特殊陶業株式会社
配線基板および導電層の製造方法
9日前
日本特殊陶業株式会社
海洋無脊椎動物の陸上養殖システム
9日前
日本特殊陶業株式会社
セラミックヒータ及び液体加熱装置
10日前
続きを見る
他の特許を見る