TOP
|
特許
|
意匠
|
商標
特許ウォッチ
Twitter
他の特許を見る
10個以上の画像は省略されています。
公開番号
2025143425
公報種別
公開特許公報(A)
公開日
2025-10-01
出願番号
2025113497,2024003773
出願日
2025-07-04,2020-03-18
発明の名称
建築物副構造と駐車装置
出願人
IHI運搬機械株式会社
代理人
個人
主分類
E04H
6/44 20060101AFI20250924BHJP(建築物)
要約
【課題】 荷物を一時保管するためにドローンが出入りするための建築物の副構造を提供しようとする。
【解決手段】
従来の荷物を搭載し飛行可能な飛行体が出入りするための建築物副構造を、飛行体を第一飛行経路に沿って飛行して出入りさせる出入り構造と、荷受人が運送された荷物を受け取るための窓口である荷物受け/預け窓口と、飛行体との間で荷物を受け渡す場所である荷物受け渡し場所と、を備え、飛行体が前記移動空間の少なくとも一部を飛行して外部と前記荷物受け渡し場所との間を移動できる様になる経路である第二飛行経路を確保すし、、飛行体が前記第一飛行経路と前記第二飛行経路とに沿って飛行し外部と荷物受け渡し場所との間を移動する様に誘導し、前記荷物受け渡し場所と前記荷物受け/預け窓口との間で荷物を移動させるものとした。
【選択図】 図2
特許請求の範囲
【請求項1】
車両を駐車させる装置であって荷物を搭載し飛行して予め設定される飛行経路に沿って移動できる飛行体が出入りできる駐車装置であって、
車両を搭載可能な構造体である複数のパレットと、
複数のパレットを各々に置く複数の駐車空間と複数の駐車空間に沿って配置され前記パレットを移動させることのできる空間である移動空間とを区画する駐車装置主構造と、
該パレットを前記移動空間で移動させ前記駐車空間との間で移載できるパレット移動機構と、
駐車装置副構造と、
を備え、
前記駐車装置副構造が、
飛行体を外部と内部空間との間で飛行して予め設定された経路である第一飛行経路に沿って移動して出入りさせる出入り構造と、
荷受人が運送された荷物を受け取るためまたは荷送人が運送される荷物を預けるための窓口である荷物受け/預け窓口と、
飛行体との間で荷物を受け渡す場所である荷物受け渡し場所と、
を有し、
前記第一飛行経路に繋がり飛行体が前記移動空間の少なくとも一部を飛行して外部と前記荷物受け渡し場所との間で移動できる様になる経路である第二飛行経路を確保する第二飛行経路確保工程と、
飛行体が前記第一飛行経路と前記第二飛行経路確保工程を実行して確保された経路である前記第二飛行経路に沿って飛行し外部と荷物受け渡し場所との間を移動するのを待つ飛行体待ち工程と、
前記荷物受け渡し場所と前記荷物受け/預け窓口との間で荷物を移動させる荷物移動工程と、
を実行できる、
ことを特徴とする駐車装置。
続きを表示(約 1,800 文字)
【請求項2】
荷物を一時的に保管できる荷物一時保管場所と、
を備え、
前記荷物移動工程が、前記荷物受け渡し場所と前記荷物一時保管場所との間で荷物を移動させる荷物一時保管工程と、荷受人または荷送人からの要求に従い前記荷物一時保管場所と前記荷物受け/預け窓口との間で荷物を移動させる荷物受け/預け工程とを持つ、
ことを特徴とする請求項1に記載の駐車装置。
【請求項3】
前記パレット移動機構が前記パレットを搭載できる構造であるリフタと該リフタを前記移動空間で移動できる様に駆動する駆動機構とを有し、
前記第二飛行経路確保工程において前記駆動機構が前記リフタを移動空間の端部に位置させて前記第二飛行空間を確保する、
ことを特徴とする請求項2に記載の駐車装置。
【請求項4】
前記パレット移動機構が前記パレットを搭載できる構造であるリフタと該リフタを前記移動空間で移動できる様に駆動する駆動機構とを有し、
前記駐車装置副構造が、
前記荷物受け/預け窓口と、
前記荷物一時保管場所と、
第一飛行経路と第二飛行経路の途中に位置し飛行体が一時的に待機できる一時待機場所と、
前記出入り構造と、
前記荷物受け渡し場所と、
を有し、
前記飛行体移動工程と、
前記荷物移動工程と、
前記パレット移動機構が前記パレットを前記移動空間のなかで移動させるときに飛行体が前記一時待機箇所で待機するのを待つ一時待機工程と、
を実行できる、
ことを特徴とする請求項3に記載の駐車装置。
【請求項5】
前記荷物受け渡し場所が車両を入出庫させる空間である入出庫空間に一致または隣接する、
ことを特徴とする請求項4に記載の駐車装置。
【請求項6】
前記一時保管場所が駐車空間に位置するパレットの上に位置する、
ことを特徴とする請求項4に記載の駐車装置
【請求項7】
前記パレット移動機構が前記パレットを搭載できる構造であるリフタと該リフタを前記移動空間で移動できる様に駆動する駆動機構とを有し、
前記第二飛行経路確保工程が前記駆動機構により前記リフタを移動空間のうちの前記パレットが位置しない駐車空間である空駐車空間の隣に位置させて前記第二飛行経路を確保する、
ことを特徴とする請求項1に記載の駐車装置。
【請求項8】
前記パレット移動機構が前記パレットを搭載できる構造であるリフタと該リフタを前記移動空間で移動できる様に駆動する駆動機構とを有し、
前記第二飛行経路確保工程が前記駆動機構により前記リフタを移動空間のうちの前記パレットが位置しない駐車空間である空駐車空間の近郷に位置させ、飛行体が移動空間と前記空駐車空間との間で飛行して移動するときに前記駆動機構が飛行体に接触しない様に前記リフタを前記移動空間の中で移動させる様にして前記第二飛行経路を確保する、
ことを特徴とする請求項1に記載の駐車装置。
【請求項9】
前記パレット移動機構が前記パレットを搭載できる構造であるリフタと該リフタを前記移動空間で移動できる様に駆動する駆動機構とを有し、
前記第二飛行経路確保工程において前記駆動機構が前記リフタを移動空間の端部に位置させて前記第二飛行空間を確保する、
ことを特徴とする請求項1に記載の駐車装置。
【請求項10】
前記パレット移動機構が前記パレットを搭載できる構造であるリフタと該リフタを前記移動空間で移動できる様に駆動する駆動機構とを有し、
前記駐車装置副構造が、
前記荷物受け/預け窓口と、
第一飛行経路と第二飛行経路の途中に位置し飛行体が一時的に待機できる一時待機場所と、
前記出入り構造と、
前記荷物受け渡し場所と、
を有し、
前記飛行体移動工程と、
前記荷物移動工程と、
前記パレット移動機構が前記パレットを前記移動空間のなかで移動させるときに飛行体が前記一時待機箇所で待機するのを待つ一時待機工程と、
を実行できる、
ことを特徴とする請求項1に記載の駐車装置。
(【請求項11】以降は省略されています)
発明の詳細な説明
【技術分野】
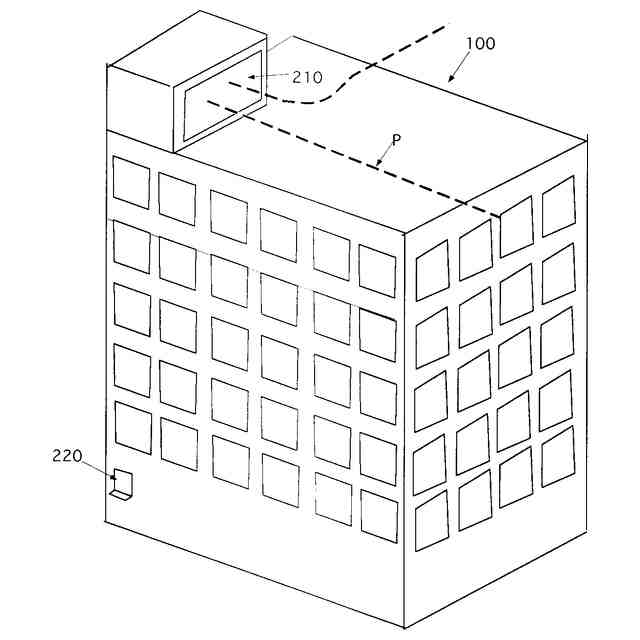
【0001】
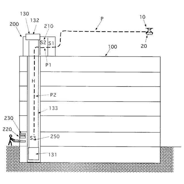
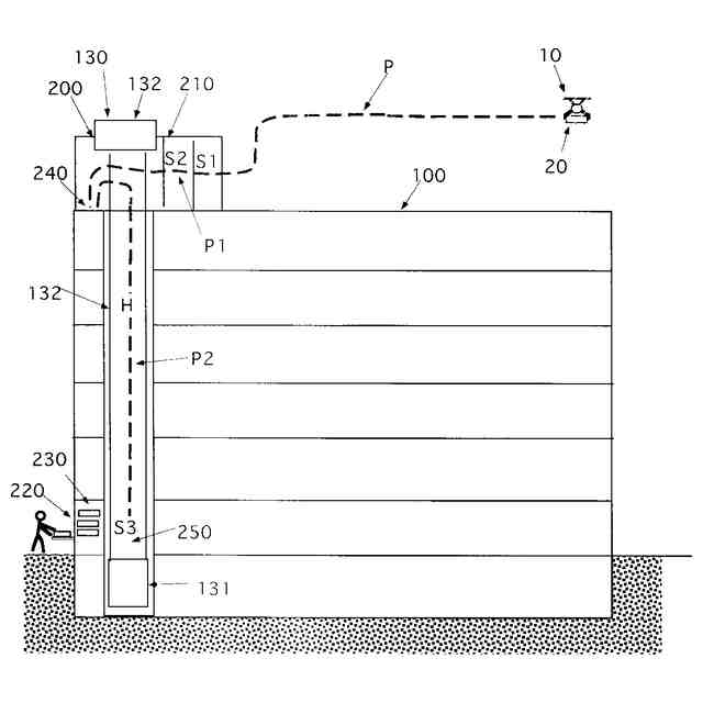
本発明は、荷物を搭載し飛行する飛行体が出入りするための建築物の副構造である建築物副構造と飛行体が出入りできる駐車装置とに係る。特に、荷物を搭載し飛行しホバリング可能なドローンが出入りするための建築物の副構造である建築物副構造とドローンが出入りできる駐車装置に関する。
続きを表示(約 2,100 文字)
【背景技術】
【0002】
近年、飛行体による物流が検討されている。
自律的に飛行できる飛行体は、ドローンと呼称される。
【0003】
ドローンは、荷物を搭載できる。
ドローンが、所定の飛行経路に沿って飛行して所定の場所で荷物を受け取る。
ドローンが、予め設定される飛行経路に沿って飛行して所定の場所で荷物を受け取る。
荷物を搭載したドローンが所定の飛行経路に沿って飛行して所定の出発位置から到着位置まで移動する。
荷物を搭載したドローンが予め設定される飛行経路に沿って飛行して所定の出発位置から到着位置まで移動する。
ドローンが荷物を下ろす。
空荷になったドローンが所定の飛行経路に沿って飛行して移動する。
【0004】
ドローンを運用する際は、地上の建築物を避けた飛行経路を予め設定する。
ドローンは、予め設定された飛行経路に沿って飛行する。
【0005】
飛行経路に沿って存在する建築物を物流の拠点として利用することが考えられる。
ドローンは建築物に一時保管した荷物を受け取り運搬する。
例えば、ドローンがタワー型の駐車装置に一時保管された荷物を受け取り運搬する。
ドローンが荷物を運搬し、ドローンで運搬する荷物を建築物に一時保管する。
たとえば、ドローンで運搬する荷物をタワー型の駐車装置に一時保管する。
一時保管された荷物は、別の手段で移動されてもよい。
【0006】
発明者は、飛行経路に沿って存在する建築物に荷物を一時保管するために、建築物または駐車装置にドローンが出入りするための副構造を考案した。
【発明の概要】
【発明が解決しようとする課題】
【0007】
本発明は以上に述べた問題点に鑑み案出されたもので、荷物を一時保管するためにドローンが出入りするための建築物の副構造と荷物を一時保管するため飛行体が出入りできる駐車装置とを提供しようとする。
【課題を解決するための手段】
【0008】
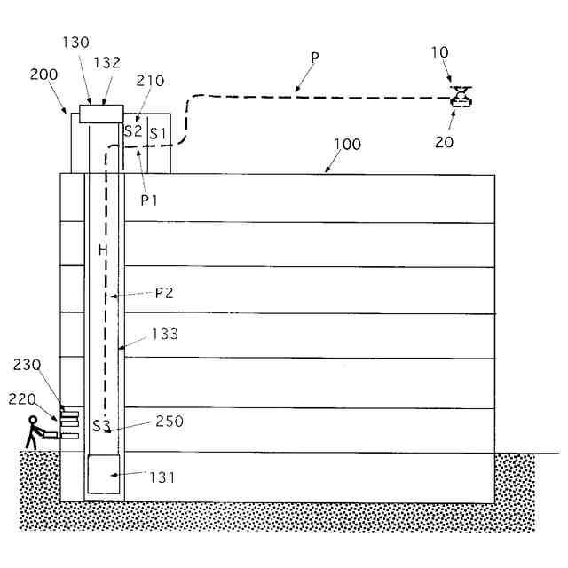
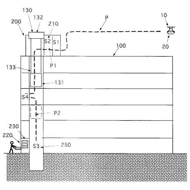
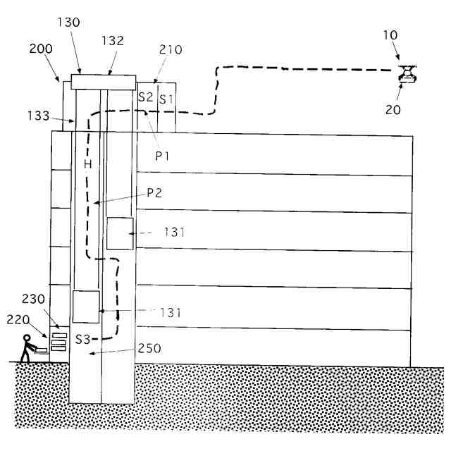
上記目的を達成するため、本発明に係る荷物を搭載し飛行して予め設定される飛行経路に沿って移動できる飛行体が出入りでき内部に飛行体が飛行可能な寸法をもつ空間である移動空間を区画される建築物の副構造である建築物副構造を、飛行体を外部と内部空間との間で予め設定された経路である第一飛行経路に沿って飛行して出入りさせる出入り構造と、荷受人が運送された荷物を受け取るためまたは荷送人が運送される荷物を預けるための窓口である荷物受け/預け窓口と、飛行体との間で荷物を受け渡す場所である荷物受け渡し場所と、を備え、前記第一飛行経路に繋がり飛行体が前記移動空間の少なくとも一部を飛行して外部と前記荷物受け渡し場所との間を移動できる様になる経路である第二飛行経路を確保する第二飛行経路確保工程と、飛行体が前記第一飛行経路と前記第二飛行経路確保工程を実行して確保された経路である前記第二飛行経路とに沿って飛行し外部と荷物受け渡し場所との間を移動するのを待つ飛行体待ち工程と、前記荷物受け渡し場所と前記荷物受け/預け窓口との間で荷物を移動させる荷物移動工程と、を実行できる、ものとした。
【0009】
上記本発明の構成により、建築物は、荷物を搭載し飛行して予め設定される飛行経路に沿って移動できる飛行体が出入りでき内部に飛行体が飛行可能な寸法をもつ空間である移動空間を区画される。出入り構造は、飛行体を外部と内部空間との間で予め設定された経路である第一飛行経路に沿って飛行して出入りさせる構造である。荷物受け/預け窓口は、荷受人が運送された荷物を受け取るためまたは荷送人が運送される荷物を預けるための窓口である。荷物受け渡し場所は、飛行体との間で荷物を受け渡す場所である。第二飛行経路確保工程は、前記第一飛行経路に繋がり飛行体が前記移動空間の少なくとも一部を飛行して外部と前記荷物受け渡し場所との間を移動できる様になる経路である第二飛行経路を確保する。飛行体待ち工程は、飛行体が前記第一飛行経路と前記第二飛行経路確保工程を実行して確保された経路である前記第二飛行経路とに沿って飛行し外部と荷物受け渡し場所との間を移動するのを待つ。荷物移動工程は、前記荷物受け渡し場所と前記荷物受け/預け窓口との間で荷物を移動させる。
その結果、窓口で渡した荷物を飛行体に搭載して第一飛行経路と第二飛行経路とに沿って移動空間を飛行して外部へ移動させ、または荷物を外部から飛行体に搭載して第一飛行経路と第二飛行経路とに沿って移動空間を飛行して移動させ窓口で受け取ることができる。
【0010】
以下に、本発明の実施形態に係る建築物副構造を説明する。本発明は、以下に記載した実施形態のいずれか、またはそれらの中の二つ以上が組み合わされた態様を含む。
(【0011】以降は省略されています)
この特許をJ-PlatPat(特許庁公式サイト)で参照する
関連特許
個人
接合構造
5日前
個人
屋台
22日前
個人
タッチミー
4日前
個人
野良猫ハウス
1か月前
個人
フェンス
1か月前
個人
転落防止用手摺
1か月前
個人
地下型マンション
3か月前
積水樹脂株式会社
柵体
1か月前
個人
ベンリナアングル
4日前
ニチハ株式会社
建築板
1か月前
個人
筋交自動設定装置
12日前
個人
居住車両用駐車場
1か月前
個人
熱抵抗多層断熱建材
1か月前
個人
鋼管結合資材
3か月前
株式会社タナクロ
テント
3か月前
個人
補強部材
1か月前
個人
柵
2か月前
個人
身体用シェルター
12日前
個人
身体用シェルター
12日前
鹿島建設株式会社
壁体
1か月前
成友建設株式会社
建物
1か月前
個人
循環流水式屋根融雪装置
3か月前
インターマン株式会社
天井構造
1か月前
イワブチ株式会社
組立柱
1か月前
株式会社熊谷組
床構成材
2日前
株式会社熊谷組
木質材料
22日前
株式会社熊谷組
吊り治具
9日前
三協立山株式会社
構造体
12日前
三協立山株式会社
構造体
12日前
個人
可搬型供養墓
10日前
三協立山株式会社
構造体
12日前
三協立山株式会社
構造体
12日前
三協立山株式会社
構造体
12日前
三協立山株式会社
構造体
12日前
三協立山株式会社
簡易建物
1か月前
三協立山株式会社
簡易建物
1か月前
続きを見る
他の特許を見る