TOP
|
特許
|
意匠
|
商標
特許ウォッチ
Twitter
他の特許を見る
10個以上の画像は省略されています。
公開番号
2025142028
公報種別
公開特許公報(A)
公開日
2025-09-29
出願番号
2025118973,2022046523
出願日
2025-07-15,2022-03-23
発明の名称
情報処理装置、情報処理方法、およびプログラム
出願人
国立研究開発法人農業・食品産業技術総合研究機構
代理人
個人
,
個人
,
個人
,
個人
,
個人
主分類
G06V
10/762 20220101AFI20250919BHJP(計算;計数)
要約
【課題】地上における調査対象とする代表地点を、より適切に選定すること。
【解決手段】それぞれが地面を上空から撮像することで得られる複数種類の画像を取得する画像取得部と、画像における画素または画素群について、画像の種類に応じた次数のベクトル情報を設定し、ベクトル情報に基づいて画像における画素または画素群に対する教師無し分類処理を行う分類処理部と、教師無し分類処理の結果である分類結果画像に対して近隣画素内における分類結果のバラつきを小さくするスムージング処理を行うスムージング処理部と、スムージング処理の結果であるスムージング画像に基づいて、分類結果が同じ領域内から一以上の代表点を選定する代表点選定部と、を備え、分類結果画像における画素または画素群に対して近隣する画素または画素群の最頻値で塗り替える処理を行い、最頻値の頻度が第1閾値以下であった画素または画素群にエラーラベルを付与する情報処理装置。
【選択図】図1
特許請求の範囲
【請求項1】
それぞれが地面を上空から撮像することで得られる複数種類の画像を取得する画像取得部と、
前記画像における画素または画素群について、前記画像の種類に応じた次数のベクトル情報を設定し、前記ベクトル情報に基づいて、前記画像における画素または画素群に対する教師無し分類処理を行う分類処理部と、
前記教師無し分類処理の結果である分類結果画像に対して、近隣画素内における分類結果のバラつきを小さくするスムージング処理を行うスムージング処理部と、
前記スムージング処理の結果であるスムージング画像に基づいて、分類結果が同じ領域内から一以上の代表点を選定する代表点選定部と、を備え、
前記スムージング処理部は、前記分類結果画像における画素または画素群に対して、近隣する画素または画素群の最頻値で塗り替える処理を行い、前記最頻値の頻度が第1閾値以下であった画素または画素群にエラーラベルを付与する、
情報処理装置。
続きを表示(約 1,200 文字)
【請求項2】
前記代表点選定部は、土壌調査を行う調査対象となる地点を前記代表点として選定する、
請求項1記載の情報処理装置。
【請求項3】
前記分類処理部は、分類数を指定して前記教師無し分類処理を行う、
請求項1または2記載の情報処理装置。
【請求項4】
前記画像取得部は、熱画像またはDSM画像を少なくとも含む複数種類の画像を取得する、
請求項1から3のうちいずれか1項に記載の情報処理装置。
【請求項5】
画像の種類と分類数を変えながら、前記分類処理部、および前記スムージング処理部が繰り返し処理を行った結果である前記スムージング画像を評価する評価部を更に備え、
前記評価部は、前記エラーラベルが付与された画素または画素群の割合が第2閾値以上である場合、前記スムージング画像を「無効」と評価する、
請求項1から4のうちいずれか1項に記載の情報処理装置。
【請求項6】
情報処理装置が、
それぞれが地面を上空から撮像することで得られる複数種類の画像を取得し、
前記画像における画素または画素群について、前記画像の種類に応じた次数のベクトル情報を設定し、
前記ベクトル情報に基づいて、前記画像における画素または画素群に対する教師無し分類処理を行い、
前記教師無し分類処理の結果である分類結果画像に対して、近隣画素内における分類結果のバラつきを小さくするスムージング処理を行い、
前記スムージング処理の結果であるスムージング画像に基づいて、分類結果が同じ領域内から一以上の代表点を選定し、
前記分類結果画像における画素または画素群に対して、近隣する画素または画素群の最頻値で塗り替える処理を行い、
前記最頻値の頻度が第1閾値以下であった画素または画素群にエラーラベルを付与する、
情報処理方法。
【請求項7】
情報処理装置に、
それぞれが地面を上空から撮像することで得られる複数種類の画像を取得させ、
前記画像における画素または画素群について、前記画像の種類に応じた次数のベクトル情報を設定させ、
前記ベクトル情報に基づいて、前記画像における画素または画素群に対する教師無し分類処理を行わせ、
前記教師無し分類処理の結果である分類結果画像に対して、近隣画素内における分類結果のバラつきを小さくするスムージング処理を行わせ、
前記スムージング処理の結果であるスムージング画像に基づいて、分類結果が同じ領域内から一以上の代表点を選定させ、
前記分類結果画像における画素または画素群に対して、近隣する画素または画素群の最頻値で塗り替える処理を行わせ、
前記最頻値の頻度が第1閾値以下であった画素または画素群にエラーラベルを付与させる、
プログラム。
発明の詳細な説明
【技術分野】
【0001】
本発明は、情報処理装置、情報処理方法、およびプログラムに関する。
続きを表示(約 2,000 文字)
【背景技術】
【0002】
農業において、圃場管理や適正施肥等の観点から、圃場の土壌特性を把握することの必要性が高い。農林水産省が掲げる食料・農業・農村基本計画においても「データに基づく土づくり」が推進されている。農業現場では、圃場内数点の土壌を採取して混合したものを代表的な土壌試料として理化学性の分析を行う「土壌診断」が広く行われており、多数の事業者が土壌診断サービスを提供している。
【0003】
これに関連し、空撮用ヘリコプタで、圃場の雨直後と乾燥時の可視画像を撮影し、圃場内の数地点で土壌を採取し、体積水分率と気相率を分析し、画像における土壌採取地点の赤,緑,青の色分解値データを光量補正して得た光量補正済色分解値データの差を算出し、圃場の雨直後と乾燥時の画像間の差分データと、体積水分率や気相率とのマップを作成して回帰式を得ることで、圃場全体についての乾湿マップを得る技術が開示されている(特許文献1)。
【0004】
また、土壌から放出されるγ線量を測定して対象地域のγ線量分布図を作成することにより、基盤岩石に由来する土壌構成基本型の分布を把握し、土壌構成基本型の分布を指標として、必要かつ無駄のない土壌サンプルの採取地点及びサンプル数を決定し、決定に基づいて採取した土壌サンプルの分析によって各土壌構成基本型における土壌構成の実際の内容又は特性を分析し、その分析結果をγ線量分布図にあてはめることにより、実際の土壌構成分布を把握しあるいはその分布図を作成する技術が開示されている(特許文献2)。
【0005】
また、圃場の空撮画像である高解像度カラー赤外線(CIR)画像を用いて、教師無し学習により圃場環境の分類を行う方法が開示されている(非特許文献1)。
【先行技術文献】
【特許文献】
【0006】
特開2012-150068号公報
特開2004-12160号公報
【非特許文献】
【0007】
”In-field variability detection and spatial yield modeling for corn using digital aerial imaging”, Gopalapillai and Tian (1999), Transaction of ASAS 42: 1911-1920
【発明の概要】
【発明が解決しようとする課題】
【0008】
土壌診断技術において、圃場全体をくまなく調査するのは現実的で無いため、調査地点を選定することが望まれる。例えば、対角線法やランダム法といった方法が知られている。しかしながら、従来の技術では、何らかの土壌特性に起因した根拠に基づいて調査地点を選定している訳では無いため、調査対象とする代表地点の選定根拠が乏しく、診断結果が圃場の環境を的確に捉えられないことが懸念される。非特許文献1に記載の技術は、圃場環境の分類を行うものであるが、一種類の画像を用いて分類を行っているため、精度が十分でないことが懸念される。また、代表地点を選定しようとするものでは無い。また、特許文献2に記載の技術は、岩盤岩石に由来するガンマ線量に基づいて処理を行うものであり、広域な地域が対象となる。このため、圃場レベルの広さの土壌の分析には適していない。
【0009】
本発明は、このような事情を考慮してなされたものであり、地上における調査対象とする代表地点を、より適切に選定することができる情報処理装置、情報処理方法、およびプログラムを提供することを目的の一つとする。
【課題を解決するための手段】
【0010】
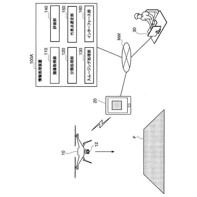
本発明の態様である情報処理装置は、それぞれが地面を上空から撮像することで得られる複数種類の画像を取得する画像取得部と、前記画像における画素または画素群について、前記画像の種類に応じた次数のベクトル情報を設定し、前記ベクトル情報に基づいて、前記画像における画素または画素群に対する教師無し分類処理を行う分類処理部と、前記教師無し分類処理の結果である分類結果画像に対して、近隣画素内における分類結果のバラつきを小さくするスムージング処理を行うスムージング処理部と、前記スムージング処理の結果であるスムージング画像に基づいて、分類結果が同じ領域内から一以上の代表点を選定する代表点選定部と、を備え、前記スムージング処理部は、前記分類結果画像における画素または画素群に対して、近隣する画素または画素群の最頻値で塗り替える処理を行い、前記最頻値の頻度が第1閾値以下であった画素または画素群にエラーラベルを付与するものである。
(【0011】以降は省略されています)
この特許をJ-PlatPat(特許庁公式サイト)で参照する
関連特許
個人
裁判のAI化
2か月前
個人
工程設計支援装置
1か月前
個人
地球保全システム
2日前
個人
情報処理システム
2か月前
個人
フラワーコートA
1か月前
個人
検査システム
2か月前
個人
冷凍食品輸出支援構造
29日前
個人
介護情報提供システム
2か月前
個人
為替ポイント伊達夢貯
29日前
個人
携帯情報端末装置
1か月前
個人
設計支援システム
2か月前
個人
表変換編集支援システム
22日前
個人
設計支援システム
2か月前
キヤノン電子株式会社
携帯装置
2か月前
株式会社サタケ
籾摺・調製設備
2か月前
個人
知財出願支援AIシステム
29日前
個人
結婚相手紹介支援システム
1か月前
個人
行動時間管理システム
24日前
個人
パスワード管理支援システム
22日前
個人
AIによる情報の売買の仲介
1か月前
株式会社カクシン
支援装置
2か月前
個人
パスポートレス入出国システム
1か月前
株式会社キーエンス
受発注システム
1日前
個人
海外支援型農作物活用システム
14日前
個人
システム及びプログラム
15日前
日本精機株式会社
施工管理システム
1か月前
個人
備蓄品の管理方法
2か月前
株式会社キーエンス
受発注システム
1日前
株式会社キーエンス
受発注システム
1日前
個人
食品レシピ生成システム
1日前
株式会社アジラ
進入判定装置
1か月前
個人
アンケート支援システム
1か月前
個人
AIキャラクター制御システム
22日前
個人
ジェスチャーパッドのガイド部材
2か月前
サクサ株式会社
中継装置
2か月前
サクサ株式会社
中継装置
22日前
続きを見る
他の特許を見る