TOP
|
特許
|
意匠
|
商標
特許ウォッチ
Twitter
他の特許を見る
10個以上の画像は省略されています。
公開番号
2025142017
公報種別
公開特許公報(A)
公開日
2025-09-29
出願番号
2025118247,2021543687
出願日
2025-07-14,2020-08-20
発明の名称
情報処理装置、及び情報処理方法
出願人
サターン ライセンシング エルエルシー
,
Saturn Licensing LLC
代理人
個人
,
個人
主分類
G06F
3/0484 20220101AFI20250919BHJP(計算;計数)
要約
【課題】簡便かつ確実に画面共有を行うことができるようにする。
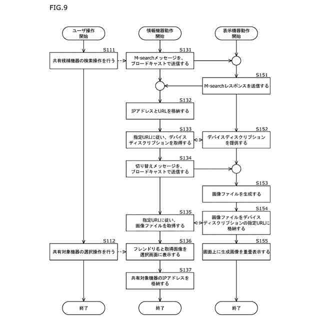
【解決手段】画面共有を行う共有元機器から送信されてくるメッセージに基づいて、画面共有の候補となる共有候補機器としての自機を識別する識別情報を生成し、自機に関する機器情報を共有元機器に提供して、機器情報に基づいて、共有元機器の選択画面に、自機の名称とともに、共有対象となるコンテンツと、自機に表示する画像とが表示されるようにし、生成した識別情報を出力する処理部を備える情報処理装置が提供される。本技術は、画面共有を行う機器に適用することができる。
【選択図】図9
特許請求の範囲
【請求項1】
画面共有を行う共有元機器から送信されてくるメッセージに基づいて、画面共有の候補となる共有候補機器としての自機を識別する識別情報を生成し、
前記自機に関する機器情報を前記共有元機器に提供して、前記機器情報に基づいて、前記共有元機器の選択画面に、前記自機の名称とともに、共有対象となるコンテンツと、前記自機に表示する画像とが表示されるようにし、
生成した前記識別情報を出力する
処理部を備える
情報処理装置。
続きを表示(約 900 文字)
【請求項2】
前記機器情報は、前記識別情報に関する情報を含む
請求項1に記載の情報処理装置。
【請求項3】
前記処理部は、
生成した前記識別情報の表示を制御し、
前記機器情報に基づいて、生成した前記識別情報を前記共有元機器に提供する
請求項2に記載の情報処理装置。
【請求項4】
前記識別情報は、画像、テキスト、又はコードを含む
請求項3に記載の情報処理装置。
【請求項5】
前記識別情報は、前記共有元機器のディスプレイに表示された画像と対応する
請求項4に記載の情報処理装置。
【請求項6】
表示部をさらに備え、
前記処理部は、前記表示部への前記識別情報の表示を制御し、
前記識別情報は、前記共有元機器のディスプレイに表示される
請求項4に記載の情報処理装置。
【請求項7】
前記処理部は、
前記自機を識別する2次元コードを生成し、
生成した前記2次元コードの表示を制御し、
前記2次元コードに関する情報を含む前記機器情報を前記共有元機器に提供する
請求項2に記載の情報処理装置。
【請求項8】
前記処理部は、
前記自機を識別する音又は光に関する情報を生成し、
前記音又は前記光の出力を制御し、
前記音又は前記光に関する情報を含む前記機器情報を前記共有元機器に提供する
請求項2に記載の情報処理装置。
【請求項9】
前記処理部は、
前記自機を識別する音又は画像に関する情報を生成し、
前記音の出力又は前記画像の表示を制御し、
前記音又は前記画像に関する情報を含む前記機器情報を前記共有元機器に提供する
請求項2に記載の情報処理装置。
【請求項10】
前記機器情報は、複数の方式に対応した前記識別情報に関する情報を含む
請求項2に記載の情報処理装置。
(【請求項11】以降は省略されています)
発明の詳細な説明
【技術分野】
【0001】
本技術は、情報処理装置、及び情報処理方法に関し、特に、簡便かつ確実に画面共有を行うことができるようにした情報処理装置、及び情報処理方法に関する。
続きを表示(約 1,300 文字)
【背景技術】
【0002】
近年、コンテンツを視聴可能な機器が多様化しており、ユーザがコンテンツを視聴する方法は様々である。
【0003】
例えば、機器の間で画面を共有してコンテンツを視聴する方法がある。この種の画面共有に関する技術としては、特許文献1に開示されている技術などが知られている。
【先行技術文献】
【特許文献】
【0004】
特開2016-71637号公報
【発明の概要】
【発明が解決しようとする課題】
【0005】
ところで、機器の間で画面共有を行うに際しては、簡便かつ確実に画面共有を行うことが求められる。
【0006】
本技術はこのような状況に鑑みてなされたものであり、簡便かつ確実に画面共有を行うことができるようにするものである。
【課題を解決するための手段】
【0007】
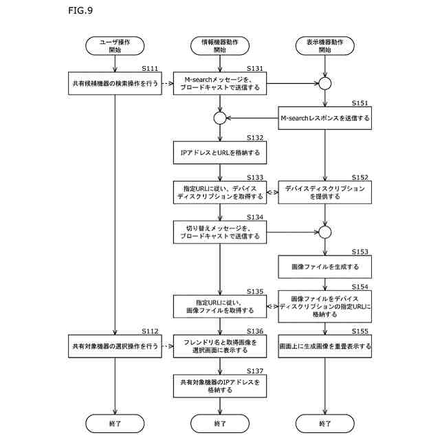
本技術の一側面の情報処理装置は、画面共有を行う共有元機器から送信されてくるメッセージに基づいて、画面共有の候補となる共有候補機器としての自機を識別する識別情報を生成し、前記自機に関する機器情報を前記共有元機器に提供して、前記機器情報に基づいて、前記共有元機器の選択画面に、前記自機の名称とともに、共有対象となるコンテンツと、前記自機に表示する画像とが表示されるようにし、生成した前記識別情報を出力する処理部を備える情報処理装置である。
【0008】
本技術の一側面の情報処理方法は、情報処理装置が、画面共有を行う共有元機器から送信されてくるメッセージに基づいて、画面共有の候補となる共有候補機器としての自機を識別する識別情報を生成し、前記自機に関する機器情報を前記共有元機器に提供して、前記機器情報に基づいて、前記共有元機器の選択画面に、前記自機の名称とともに、共有対象となるコンテンツと、前記自機に表示する画像とが表示されるようにし、生成した前記識別情報を出力する情報処理方法である。
【0009】
本技術の一側面の情報処理装置、及び情報処理方法においては、画面共有を行う共有元機器から送信されてくるメッセージに基づいて、画面共有の候補となる共有候補機器としての自機を識別する識別情報が生成され、前記自機に関する機器情報を前記共有元機器に提供して、前記機器情報に基づいて、前記共有元機器の選択画面に、前記自機の名称とともに、共有対象となるコンテンツと、前記自機に表示する画像とが表示されるようにされ、生成された前記識別情報が出力される。
【0010】
本技術の一側面の情報処理装置は、画面共有の候補となる共有候補機器を探索するためのメッセージを送信し、前記共有候補機器から前記共有候補機器に関する機器情報を取得し、取得した前記機器情報に基づいて、選択画面に、前記共有候補機器の名称とともに、共有対象となるコンテンツと、前記共有候補機器に表示される画像とを表示する処理部を備える情報処理装置である。
(【0011】以降は省略されています)
この特許をJ-PlatPat(特許庁公式サイト)で参照する
関連特許
個人
裁判のAI化
2か月前
個人
情報処理システム
2か月前
個人
地球保全システム
3日前
個人
フラワーコートA
1か月前
個人
工程設計支援装置
1か月前
個人
検査システム
2か月前
個人
為替ポイント伊達夢貯
1か月前
個人
介護情報提供システム
2か月前
個人
冷凍食品輸出支援構造
1か月前
個人
表変換編集支援システム
23日前
個人
設計支援システム
2か月前
個人
設計支援システム
2か月前
個人
携帯情報端末装置
1か月前
キヤノン電子株式会社
携帯装置
2か月前
株式会社サタケ
籾摺・調製設備
2か月前
個人
結婚相手紹介支援システム
1か月前
個人
知財出願支援AIシステム
1か月前
個人
パスワード管理支援システム
23日前
個人
AIによる情報の売買の仲介
1か月前
株式会社カクシン
支援装置
2か月前
個人
行動時間管理システム
25日前
日本精機株式会社
施工管理システム
1か月前
株式会社キーエンス
受発注システム
2日前
個人
アンケート支援システム
2か月前
個人
パスポートレス入出国システム
1か月前
個人
食品レシピ生成システム
2日前
株式会社アジラ
進入判定装置
1か月前
個人
備蓄品の管理方法
2か月前
株式会社キーエンス
受発注システム
2日前
個人
海外支援型農作物活用システム
15日前
個人
AIキャラクター制御システム
23日前
個人
システム及びプログラム
16日前
株式会社キーエンス
受発注システム
2日前
キヤノン株式会社
情報処理装置
2か月前
個人
冷凍加工連携型農場運用システム
1か月前
サクサ株式会社
中継装置
23日前
続きを見る
他の特許を見る