TOP
|
特許
|
意匠
|
商標
特許ウォッチ
Twitter
他の特許を見る
公開番号
2025140573
公報種別
公開特許公報(A)
公開日
2025-09-29
出願番号
2024040057
出願日
2024-03-14
発明の名称
トランシーバ及び制御システム
出願人
株式会社デンソー
代理人
名古屋国際弁理士法人
主分類
H04L
12/28 20060101AFI20250919BHJP(電気通信技術)
要約
【課題】動作を部分的に停止するモードへの遷移過程における処理が意図せず妨げられることを抑制する。
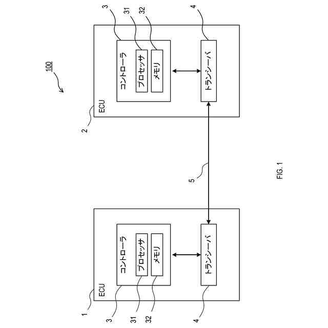
【解決手段】電子制御システムにおいて、車両用の電子制御装置(ECU)は、他のECUとの通信を行うトランシーバ4を備える。トランシーバは、検出部423と、設定部421と、を備える。検出部は、通信によって他のトランシーバから送信される他のECUの状態遷移を制御するために少なくとも用いられる制御データを検出する。設定部は、トランシーバのスリープ機能及びウェイクアップ機能の有効化及び無効化を行い、検出部によって制御データが検出されたか否かに基づいて、スリープ機能及びウェイクアップ機能の有効化及び無効化を行う。
【選択図】図2
特許請求の範囲
【請求項1】
車両用の電子制御装置(1,2)に搭載され、通信機器との通信を行うように構成されるトランシーバ(4)であって、
前記通信によって前記通信機器から送信される、前記電子制御装置の状態遷移を制御するために少なくとも用いられる制御データを検出するように構成される検出部(423)と、
前記トランシーバのスリープ機能及びウェイクアップ機能の有効化及び無効化を行うように構成される設定部(421)と、
を備え、
前記状態遷移は、第1状態(425,A101)、第2状態(425,A102)、及び第3状態(425,A103)を少なくとも含む複数の状態間の遷移であり、
前記電子制御装置は、
前記複数の状態間を遷移し、前記複数の状態のうちのいずれか一つの状態で動作し、
前記第1状態に遷移した後、前記通信が行われない状態が継続する場合には、前記通信が行われない状態の継続時間に応じて、前記第2状態及び前記第3状態に順に遷移し、
前記第3状態では、前記第1状態で動作する機能の一部を停止するための処理を実行し、
前記第2状態では、前記トランシーバの前記スリープ機能又は前記ウェイクアップ機能によって前記トランシーバと前記通信機器との間で通信が発生した場合、前記第1状態に遷移するように構成され、
前記設定部は、前記検出部によって前記制御データが検出されたか否かに基づいて、前記スリープ機能及び前記ウェイクアップ機能の有効化及び無効化を行うように構成される、
トランシーバ。
続きを表示(約 820 文字)
【請求項2】
請求項1に記載のトランシーバであって、
前記設定部は、前記検出部が前記制御データを検出したことを条件に、前記スリープ機能及び前記ウェイクアップ機能の無効化を行うように構成される、
トランシーバ。
【請求項3】
請求項2に記載のトランシーバであって、
前記電子制御装置は、前記第1状態に遷移した後、前記通信が行われない状態が所定時間継続したとき、前記第3状態に遷移するように構成されており、
前記設定部は、前記検出部が前記制御データを前記所定時間検出していないことを条件に、前記スリープ機能及び前記ウェイクアップ機能の有効化を行うように構成される、
トランシーバ。
【請求項4】
請求項3に記載のトランシーバであって、
前記設定部は、前記検出部が前記制御データを前記所定時間検出していないことを条件に、前記スリープ機能によって前記トランシーバの機能を部分的に停止することを通知するスリープ信号を前記通信機器に送信するように構成される、
トランシーバ。
【請求項5】
請求項4に記載のトランシーバであって、
前記スリープ信号に対する応答を前記通信機器から受信した後、前記スリープ機能によって前記トランシーバの機能を部分的に停止するように構成される、
トランシーバ。
【請求項6】
請求項1から請求項5までのいずれか一項に記載のトランシーバを少なくとも1つ備える前記電子制御装置を複数備え、前記複数の電子制御装置が車載ネットワークを構成するノードとして機能するように構成される制御システムであって、
前記複数の電子制御装置のそれぞれは、前記通信機器として、前記複数の電子制御装置のうちの、前記車載ネットワークにおいて隣接する前記電子制御装置と通信するように構成される、制御システム。
発明の詳細な説明
【技術分野】
【0001】
本開示はトランシーバに関する。
続きを表示(約 1,700 文字)
【背景技術】
【0002】
車両には車載機器を制御するために多数の電子制御装置、いわゆるECU(Electronic Control Unit)が搭載される。これらのECUが通信バスに接続されることによって、ECUをノードとするネットワークシステムが構築される。このようなネットワークシステムにおいて、ネットワーク上に流れるパケットが一定時間ない状態が継続すると、ECUの動作モードが通常モードから省電力モードに遷移する技術が知られている。通常モードでは、各種機能が動作する。省電力モードでは、通常モードで動作する一部の機能が停止する。一部の機能の停止によって消費電力が低減される。
【0003】
例えば、特許文献1には、ISO11898-6に規定されたCAN(登録商標、Controller Area Network)プロトコル規格の通信制御に基づく給電制御手法であるパーシャルネットワークを形成し、ネットワークを形成するノードを必要に応じて個別に起動又は休眠させることで低消費電力を実現するネットワークシステムが開示されている。
【先行技術文献】
【特許文献】
【0004】
特開2022-069980号公報
【発明の概要】
【発明が解決しようとする課題】
【0005】
各ECUは、他のECUと通信を行うための通信インタフェースとしてトランシーバを備えている。トランシーバは、ネットワーク上の他のECUに接続するリンクが途絶しているリンクダウン状態である場合、当該他のECUが省電力モードに遷移しているとみなし、当該他のECUに通常モードへ遷移するよう要求するウェイクアップ要求を送信することがある。
【0006】
トランシーバは、例えばネットワークの通信状態が悪くなる等により、あるリンクがリンクダウン状態であると誤認識した場合、通常モードから省電力モードに遷移しようとするECUに対しても、ウェイクアップ要求を送信することがある。
【0007】
このため、ECUは、省電力モードに遷移する過程において、ECUの通常モードの動作を部分的に停止する処理が実行される前にウェイクアップ要求を受信すると、当該処理の実行が意図せず妨げられてしまう課題が見出された。
【0008】
本開示の一局面は、例えば省電力モード等の、機能の一部を停止するモードを有する電子制御装置において、当該電子制御装置の当該モードへの遷移が、当該電子制御装置に搭載されたトランシーバによって意図せず妨げられることを抑制することにある。
【課題を解決するための手段】
【0009】
本開示の一態様は、車両用の電子制御装置(1,2)に搭載され、通信機器との通信を行うように構成されるトランシーバ(4)であって、検出部(423)と、設定部(421)と、を備える。検出部は、通信によって通信機器から送信される、電子制御装置の状態遷移を制御するために少なくとも用いられる制御データを検出するように構成される。設定部は、トランシーバのスリープ機能及びウェイクアップ機能の有効化及び無効化を行うように構成される。
【0010】
状態遷移は、第1状態(425,A101)、第2状態(425,A102)、及び第3状態(425,A103)を少なくとも含む複数の状態間の遷移である。
電子制御装置は、複数の状態間を遷移し、複数の状態のうちのいずれか一つの状態で動作する。電子制御装置は、第1状態に遷移した後、通信が行われない状態が継続する場合には、通信が行われない状態の継続時間に応じて、第2状態及び第3状態に順に遷移する。電子制御装置は、第3状態では、第1状態で動作する機能の一部を停止するための処理を実行し、第2状態では、トランシーバのスリープ機能又はウェイクアップ機能によってトランシーバと通信機器との間で通信が発生した場合、第1状態に遷移するように構成される。
(【0011】以降は省略されています)
この特許をJ-PlatPat(特許庁公式サイト)で参照する
関連特許
株式会社デンソー
接合体
13日前
株式会社デンソー
電子装置
3日前
株式会社デンソー
書込装置
1か月前
株式会社デンソー
ステータ
14日前
株式会社デンソー
駆動装置
29日前
株式会社デンソー
電子装置
1か月前
株式会社デンソー
ステータ
1か月前
株式会社デンソー
通信装置
29日前
株式会社デンソー
ステータ
1か月前
株式会社デンソーエレクトロニクス
発音装置
3日前
株式会社デンソー
電子装置
1か月前
株式会社デンソー
送電装置
1か月前
株式会社デンソー
ステータ
14日前
株式会社デンソー
電子装置
1か月前
株式会社デンソー
太陽電池
15日前
株式会社デンソー
測距装置
1か月前
株式会社デンソー
光学部材
24日前
株式会社デンソーエレクトロニクス
発音装置
21日前
株式会社デンソー
平滑回路
23日前
株式会社デンソー
電子装置
1か月前
株式会社デンソー
点火プラグ
1か月前
株式会社デンソー
半導体装置
1か月前
株式会社デンソー
レーダ装置
3日前
株式会社デンソー
ガスセンサ
1か月前
株式会社デンソー
レーダ装置
1か月前
株式会社デンソー
センサ素子
29日前
株式会社デンソー
回転体装置
27日前
株式会社デンソー
熱音響装置
1か月前
株式会社デンソーエアクール
換気空調装置
今日
株式会社デンソーウェーブ
情報読取端末
1か月前
株式会社デンソー
電力変換装置
1か月前
株式会社デンソー
小型電動車両
1か月前
株式会社デンソー
制御システム
6日前
株式会社デンソー
通信システム
22日前
株式会社デンソー
フィルタ回路
7日前
株式会社デンソー
ステータコア
6日前
続きを見る
他の特許を見る