TOP
|
特許
|
意匠
|
商標
特許ウォッチ
Twitter
他の特許を見る
10個以上の画像は省略されています。
公開番号
2025140092
公報種別
公開特許公報(A)
公開日
2025-09-29
出願番号
2024039266
出願日
2024-03-13
発明の名称
遊技機
出願人
株式会社ニューギン
代理人
個人
,
個人
主分類
A63F
7/02 20060101AFI20250919BHJP(スポーツ;ゲーム;娯楽)
要約
【課題】先読み演出の実行有無等に係る抽選が正常に実行され易くなる遊技機を提供する。
【解決手段】保留されている図柄変動における特典の付与期待度を示唆する先読み演出を実行可能に構成され、先読み演出には、第一先読み演出と、第一先読み演出よりも特典の付与期待度が高い第二先読み演出と、があり、所定遊技状態において、抽選に係る乱数が第一乱数範囲にある場合には、抽選に係る乱数が第二乱数範囲にある場合よりも高い割合で、当該乱数に対応する図柄変動に対して第二先読み演出が実行される、または、抽選に係る乱数が第一乱数範囲にある場合には、当該乱数に対応する図柄変動に対して第二先読み演出が実行され得、抽選に係る乱数が第二乱数範囲にある場合には、当該乱数に対応する図柄変動に対して第二先読み演出が実行されない。
【選択図】図13
特許請求の範囲
【請求項1】
遊技球が所定領域を通過したことに基づいて乱数を取得し、取得した乱数を用いた抽選に基づいて図柄変動の終了後に特典を付与可能であり、変動開始条件が充足されるまで図柄変動の開始を保留可能な遊技機であって、
保留されている図柄変動における特典の付与期待度を示唆する先読み演出を実行可能に構成され、
前記先読み演出には、第一先読み演出と、前記第一先読み演出よりも特典の付与期待度が高い第二先読み演出と、があり、
所定遊技状態において、
前記抽選に係る乱数が第一乱数範囲にある場合には、前記抽選に係る乱数が第二乱数範囲にある場合よりも高い割合で、当該乱数に対応する図柄変動に対して前記第二先読み演出が実行され、
または、前記抽選に係る乱数が第一乱数範囲にある場合には、当該乱数に対応する図柄変動に対して前記第二先読み演出が実行され得、前記抽選に係る乱数が第二乱数範囲にある場合には、当該乱数に対応する図柄変動に対して前記第二先読み演出が実行されず、
前記第二乱数範囲に含まれる乱数の個数と、前記第一乱数範囲に含まれる乱数の個数と、が異なる、
ことを特徴とする遊技機。
発明の詳細な説明
【技術分野】
【0001】
本発明は、パチンコ機等の遊技機に関する。
続きを表示(約 3,100 文字)
【背景技術】
【0002】
パチンコ機等に代表される遊技機には、先読み演出を実行するものがある。
【先行技術文献】
【特許文献】
【0003】
特開2023-9877号公報
【発明の概要】
【発明が解決しようとする課題】
【0004】
このような従来の先読み演出は、メイン基板(例えば、後述する主制御基板)から送信された事前判定の結果を用いてサブ基板(例えば、後述する第1副制御基板)が実行有無等に係る抽選を行い、その抽選結果に基づいて実行される。
しかし、このような従来の先読み演出の実行に係る制御は、メイン基板に負担を強いることなく先読み演出の実行に係る制御を行うことができる反面、メイン基板よりも相対的に電波等の外部環境の影響を受け易いサブ基板の乱数回路がラッチする等の異常が生じた場合に、先読み演出の実行有無等に係る抽選が正常に行われないという問題点がある。
【0005】
よって、本発明は、上記の課題に鑑みてなされたものであり、先読み演出の実行有無等に係る抽選が正常に実行され易くなる遊技機を提供するものである。
【課題を解決するための手段】
【0006】
本発明によれば、遊技球が所定領域を通過したことに基づいて乱数を取得し、取得した乱数を用いた抽選に基づいて図柄変動の終了後に特典を付与可能であり、変動開始条件が充足されるまで図柄変動の開始を保留可能な遊技機であって、保留されている図柄変動における特典の付与期待度を示唆する先読み演出を実行可能に構成され、前記先読み演出には、第一先読み演出と、前記第一先読み演出よりも特典の付与期待度が高い第二先読み演出と、があり、所定遊技状態において、前記抽選に係る乱数が第一乱数範囲にある場合には、前記抽選に係る乱数が第二乱数範囲にある場合よりも高い割合で、当該乱数に対応する図柄変動に対して前記第二先読み演出が実行され、または、前記抽選に係る乱数が第一乱数範囲にある場合には、当該乱数に対応する図柄変動に対して前記第二先読み演出が実行され得、前記抽選に係る乱数が第二乱数範囲にある場合には、当該乱数に対応する図柄変動に対して前記第二先読み演出が実行されず、前記第二乱数範囲に含まれる乱数の個数と、前記第一乱数範囲に含まれる乱数の個数と、が異なる、ことを特徴とする遊技機が提供される。
【発明の効果】
【0007】
本発明によれば、先読み演出の実行有無等に係る抽選が正常に実行され易くなる遊技機が提供される。
【図面の簡単な説明】
【0008】
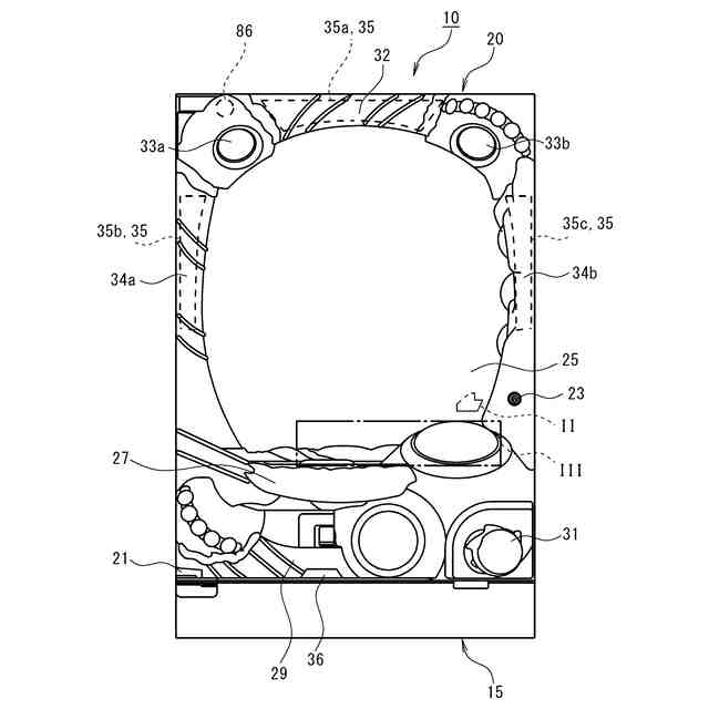
図1は、遊技機の正面図である。
図2は、図1に示す領域IIに配設される図柄表示装置を示す図である。
図3は、図1に示す領域IIIに配設される操作ボタン群およびその周辺を示す鳥瞰図である。
図4は、遊技機内に設置される遊技盤を示す図である。
図5は、遊技機の背面図である。
図6は、遊技機が備える制御構成を示すブロック図である。
図7は、遊技機が備える機能構成を示すブロック図である。
図8(a)は、特図当否判定用の抽選テーブルを模式的に示す図であり、図8(b)は、特図1に係る特図当否判定において大当りが導出された場合に用いられる停止図柄抽選用の抽選テーブルを模式的に示す図であり、図8(c)は、特図2に係る特図当否判定において小当りが導出された場合に用いられる停止図柄抽選用の抽選テーブルを模式的に示す図であり、図8(d)は、特図2に係る特図当否判定において大当りが導出された場合に用いられる停止図柄抽選用の抽選テーブルを模式的に示す図である。
図9(a)は、特図変動パターン導出状態PA時の特図1に係る図柄変動で用いられる特図変動パターン抽選テーブルを模式的に示す図であり、図9(b)は、特図変動パターン導出状態PA時の特図1に係る図柄変動において特図変動パターンHNPが決定された場合に用いられる特図変動パターン抽選テーブルを模式的に示す図である。
図10(a)は、特図変動パターン導出状態PB時の特図2に係る図柄変動で用いられる特図変動パターン抽選テーブルを模式的に示す図であり、図10(b)は、特図変動パターン導出状態PB時の特図2に係る図柄変動において特図変動パターンHNPが決定された場合に用いられる特図変動パターン抽選テーブルを模式的に示す図である。
図11(a)は、特図変動パターン導出状態PC時の特図2に係る図柄変動で用いられる特図変動パターン抽選テーブルを模式的に示す図であり、図11(b)は、特図変動パターン導出状態PC時の特図2に係る図柄変動において特図変動パターンHNPが決定された場合に用いられる特図変動パターン抽選テーブルを模式的に示す図である。
図12(a)は、特図変動パターン導出状態の遷移を示す状態遷移図であり、図12(b)は、特図変動パターン導出状態ごとの平均変動時間の関係を示す図である。
図13(a)は、特図変動パターン導出状態PB装飾体先読み演出制御処理のフローであり、図13(b)は、特図変動パターン導出状態PB装飾体先読み演出制御処理における装飾体先読み演出の実行抽選に用いられる抽選テーブルを模式的に示す図である。
図14(a)は、特図変動パターン導出状態PC装飾体先読み演出制御処理のフローであり、図14(b)は、特図変動パターン導出状態PC装飾体先読み演出制御処理における装飾体先読み演出の実行抽選に用いられる抽選テーブルを模式的に示す図である。
図15(a)~図15(c)は、図柄先読み演出の具体例を示す図である。
図16(a)は、図柄先読み演出制御処理のフローであり、図16(b)は、図柄先読み演出制御処理における図柄先読み演出の実行抽選に用いられる抽選テーブルを模式的に示す図である。
図17(a)は、装飾体先読み演出によって規制対象となった保留が実行(消化)される流れを示すタイミングチャートであり、図17(b)は、図柄先読み演出によって規制対象となった保留が実行される流れを示すタイミングチャートである。
【発明を実施するための形態】
【0009】
以下、本発明の実施形態について、図面を用いて説明する。なお、すべての図面において、同様の構成要素には同一の符号を付し、適宜に説明を省略する。また、以下の説明では、「前」「後」「左」「右」「上」「下」とは、特に断りのない限り、図1に示すように遊技機10を正面側(遊技者側)から見た状態で指称するものとする。
なお、以降の説明における「有利(有利度)」とは、遊技者に対して有利であることを指し、さらに、特に断りがない限り、いわゆるプレミア画像等の演出面を除き、賞球(遊技媒体)の獲得量(遊技球の払い出しに限らず、メダルの払い出しを含む)に関して有利であることを指す。
【0010】
<本発明の特徴について>
本実施形態における遊技機10の詳細を説明する前に、本実施形態に記載されている発明(本発明)の特徴を説明する。
なお、当該特徴を説明するにあたり、括弧内の構成は、直前の構成に対応する本実施形態の構成を例示したものであり、当該説明以降の遊技機10の説明においても同様の用途で括弧内に構成を記載する場合がある。
(【0011】以降は省略されています)
この特許をJ-PlatPat(特許庁公式サイト)で参照する
関連特許
株式会社ニューギン
遊技機
1か月前
株式会社ニューギン
島設備
1か月前
株式会社ニューギン
遊技機
1か月前
株式会社ニューギン
遊技機
1か月前
株式会社ニューギン
遊技機
1か月前
株式会社ニューギン
遊技機
1か月前
株式会社ニューギン
遊技機
1か月前
株式会社ニューギン
遊技機
1か月前
株式会社ニューギン
遊技機
1か月前
株式会社ニューギン
遊技機
1か月前
株式会社ニューギン
遊技機
1か月前
株式会社ニューギン
遊技機
1か月前
株式会社ニューギン
遊技機
1か月前
株式会社ニューギン
遊技機
1か月前
株式会社ニューギン
遊技機
1か月前
株式会社ニューギン
遊技機
4日前
株式会社ニューギン
遊技機
1か月前
株式会社ニューギン
遊技機
1か月前
株式会社ニューギン
遊技機
10日前
株式会社ニューギン
遊技機
1か月前
株式会社ニューギン
遊技機
1か月前
株式会社ニューギン
遊技機
25日前
株式会社ニューギン
遊技機
17日前
株式会社ニューギン
遊技機
17日前
株式会社ニューギン
遊技機
1か月前
個人
玩具
2か月前
個人
玩具
5か月前
個人
自走玩具
2か月前
個人
ゲーム玩具
6か月前
個人
運動補助具
4か月前
個人
小型卓球台
27日前
個人
打撃練習用具
1か月前
個人
パズル
28日前
株式会社三共
遊技機
1か月前
株式会社三共
遊技機
8か月前
株式会社三共
遊技機
8か月前
続きを見る
他の特許を見る