TOP
|
特許
|
意匠
|
商標
特許ウォッチ
Twitter
他の特許を見る
公開番号
2025139238
公報種別
公開特許公報(A)
公開日
2025-09-26
出願番号
2024038058
出願日
2024-03-12
発明の名称
取付構造及び車両
出願人
いすゞ自動車株式会社
代理人
弁理士法人鈴榮特許綜合事務所
主分類
B60Q
1/04 20060101AFI20250918BHJP(車両一般)
要約
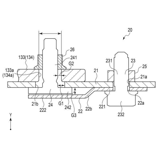
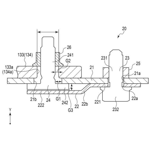
【課題】組付け性を向上できる取付構造及び車両の提供。
【解決手段】実施形態にかかる取付構造は、第1の部材に設けられ、第1孔及び第2孔を有する第1ブラケットと、前記第1ブラケットの前記第1孔に重なる第3孔を有する、第2ブラケットと、前記第1孔及び前記第3孔に挿通される軸部を有し、前記第1ブラケットと前記第2ブラケットとを締結する第1軸部材と、前記第2孔に挿通される軸部を有し、第2の部材と前記第1ブラケットとを締結する第2軸部材と、を備え、前記第2孔の内面と前記第2軸部材の前記軸部の外面との間に、隙間が形成される。
【選択図】図6
特許請求の範囲
【請求項1】
第1の部材に設けられ、第1孔及び第2孔を有する第1ブラケットと、
前記第1ブラケットの前記第1孔に重なる第3孔を有する、第2ブラケットと、
前記第1孔及び前記第3孔に挿通される軸部を有し、前記第1ブラケットと前記第2ブラケットとを締結する第1軸部材と、
前記第2孔に挿通される軸部を有し、第2の部材と前記第1ブラケットとを締結する第2軸部材と、
を備え、
前記第2孔の内面と前記第2軸部材の前記軸部の外面との間に、隙間が形成される、取付構造。
続きを表示(約 570 文字)
【請求項2】
前記第2軸部材は、前記第1ブラケットの前記第2孔に係止される頭部を、有するボルトであり、
前記第2ブラケットは、前記第3孔が形成される締結プレート部と、前記第2軸部材の頭部に対向配置される押さえプレート部と、を有し、前記締結プレート部と前記押さえプレート部との間に段差を有する、請求項1に記載の取付構造。
【請求項3】
前記第1の部材及び前記第2の部材は、車両のボディを構成するボディパネル部材またその一部である、請求項1に記載の取付構造。
【請求項4】
前記第2ブラケットは、前記押さえプレート部の側部に立設する板状のサポート部材を有し、前記第1ブラケットと前記押さえプレート部の間には隙間がある、請求項2に記載の取付構造。
【請求項5】
請求項1乃至4のいずれかに記載の取付構造と、
前記第1の部材と、
前記第2の部材と、
ヘッドランプと、
を備え、
前記第1の部材はフロントパネルであり、
前記第2の部材はボディサイドパネルであり、
前記ヘッドランプは、車幅方向中央側において、前記取付構造によって、前記フロントパネルに締結され、車幅方向外側において前記ボディサイドパネルに締結される、車両。
発明の詳細な説明
【技術分野】
【0001】
本発明は、取付構造及び車両に関する。
続きを表示(約 1,200 文字)
【背景技術】
【0002】
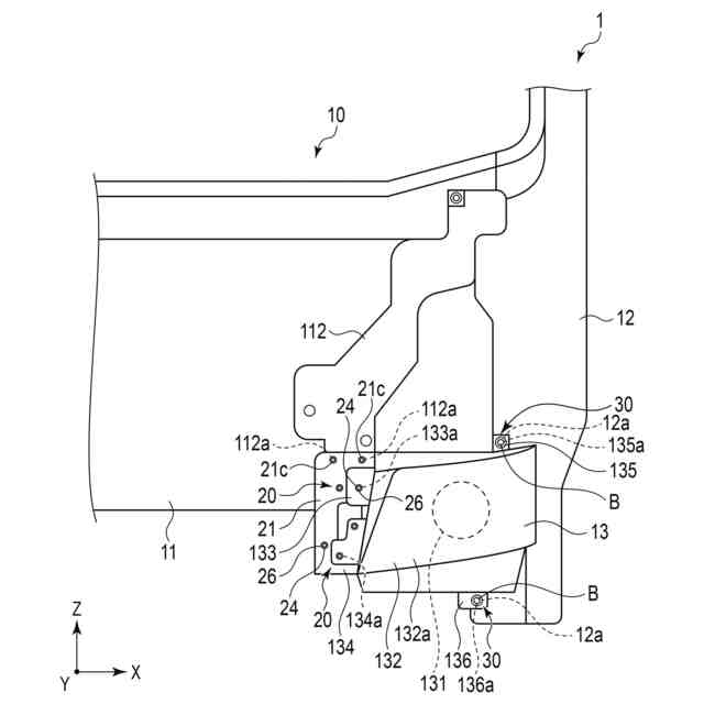
トラック等の車両において、車体フレームや、車両の外郭を構成するボディパネルに、各種部品が取付けられる。例えばヘッドランプなどの部品は、ブラケットを介してボディパネルを構成するパネル部材に締結される。
【先行技術文献】
【特許文献】
【0003】
特表2015-536860号公報
【発明の概要】
【発明が解決しようとする課題】
【0004】
このような車両において、部品が複数の異なる部材に組付けられることがあり、例えばボディパネルを構成するフロントパネル及びサイドパネルに、ヘッドランプが複数の締結部によって取付けられる。例えばヘッドランプの外周に配置される複数の締結部のうち、一部はサイドパネルに締結され、他の一部がフロントパネルに取付けられる。
【0005】
このような取付構造では、複数の締結部の位置のばらつきが大きくなるため、ばらつきを吸収して組付け性を向上できる取付構造が求められる。
【0006】
本発明は、上記の課題に鑑みてなされたものであり、組付け性を向上できる取付構造及び車両の提供を目的とする。
【課題を解決するための手段】
【0007】
実施形態にかかる取付構造は、第1の部材に設けられ、第1孔及び第2孔を有する第1ブラケットと、前記第1ブラケットの前記第1孔に重なる第3孔を有する、第2ブラケットと、前記第1孔及び前記第3孔に挿通される軸部を有し、前記第1ブラケットと前記第2ブラケットとを締結する第1軸部材と、前記第2孔に挿通される軸部を有し、第2の部材と前記第1ブラケットとを締結する第2軸部材と、を備え、前記第2孔の内面と前記第2軸部材の前記軸部の外面との間に、隙間が形成される。
【発明の効果】
【0008】
本発明によれば、組付け性を向上できる取付構造及び車両の提供が可能となる。
【図面の簡単な説明】
【0009】
本発明の一実施形態に係る車両の一部の構成を示す斜視図である。
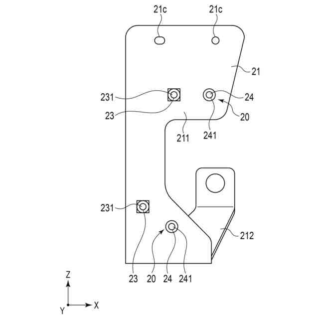
同実施形態にかかるブラケットの正面図である。
同実施形態にかかるブラケットの背面図である。
同実施形態にかかる取付部の正面図である。
同実施形態にかかる取付部の斜視図である。
同実施形態にかかる取付部の断面図である。
【発明を実施するための形態】
【0010】
以下、一実施形態に係る取付構造及び車両について、図1乃至図6を参照して説明する。図1は一実施形態に係る車両の一部の構成を示す斜視図である。図2及び図3はブラケットをそれぞれ正面側及び背面側から見た図である。図4乃至図6はそれぞれ取付部の正面図、斜視図、及び断面図である。
(【0011】以降は省略されています)
この特許をJ-PlatPat(特許庁公式サイト)で参照する
関連特許
いすゞ自動車株式会社
システム
8日前
いすゞ自動車株式会社
変形検知装置
19日前
いすゞ自動車株式会社
監視システム
5日前
いすゞ自動車株式会社
ガス処理装置
8日前
いすゞ自動車株式会社
制御システム
6日前
いすゞ自動車株式会社
ガス処理装置
8日前
いすゞ自動車株式会社
バッテリケース
4日前
いすゞ自動車株式会社
バッテリケース
4日前
いすゞ自動車株式会社
取付構造及び車両
11日前
いすゞ自動車株式会社
接続構造及び車両
8日前
いすゞ自動車株式会社
EGRシステム及び車両
8日前
いすゞ自動車株式会社
内燃機関ユニット及び車両
8日前
いすゞ自動車株式会社
歯車、減速機、及び、車両
8日前
いすゞ自動車株式会社
ヘッドカバー、内燃機関、及び、車両
12日前
いすゞ自動車株式会社
オイル供給機構、内燃機関ユニット及び車両
8日前
いすゞ自動車株式会社
エアコンプレッサ、内燃機関アセンブリ、及び、車両
8日前
いすゞ自動車株式会社
負荷装置アセンブリ、内燃機関アセンブリ、及び、車両
8日前
いすゞ自動車株式会社
バッテリーセルホルダ、バッテリーモジュール、およびバッテリーパック
5日前
いすゞ自動車株式会社
車両、並びに、車両上での水素ガスの取得及び炭素を含む固形物の回収方法
8日前
個人
カーテント
4か月前
個人
タイヤレバー
2か月前
個人
前輪キャスター
1か月前
個人
車窓用防虫網戸
4か月前
個人
上部一体型自動車
4日前
個人
車輪清掃装置
4か月前
個人
ホイルのボルト締結
3か月前
個人
タイヤ脱落防止構造
1か月前
個人
ルーフ付きトライク
2か月前
日本精機株式会社
表示装置
2か月前
日本精機株式会社
表示装置
2か月前
個人
車両通過構造物
2か月前
井関農機株式会社
作業車両
4か月前
井関農機株式会社
作業車両
3か月前
個人
キャンピングトライク
3か月前
日本精機株式会社
表示装置
2か月前
日本精機株式会社
表示装置
1か月前
続きを見る
他の特許を見る