TOP
|
特許
|
意匠
|
商標
特許ウォッチ
Twitter
他の特許を見る
公開番号
2025138502
公報種別
公開特許公報(A)
公開日
2025-09-25
出願番号
2024037637
出願日
2024-03-11
発明の名称
情報通信装置及び情報通信プログラム
出願人
国立大学法人佐賀大学
代理人
個人
主分類
G06Q
20/38 20120101AFI20250917BHJP(計算;計数)
要約
【課題】電子メールの送信に必要な送信コストを適正に調整することで、正当な電子メールのみを確実に送受信することができる情報通信装置を提供する。
【解決手段】一のアカウントから他のアカウントに電子メールを送信するメール送信部23と、電子メールを送信する場合に一のアカウントから他のアカウントに仮想通貨を送金する送金トランザクションを生成し、ブロックチェーン12にブロードキャストする送金制御部27と、他のアカウントから一のアカウントに送信された電子メールを受信するメール受信部28と、電子メールを受信する場合に、他のアカウントから一のアカウントへの仮想通貨の入金状態をブロックチェーン12にアクセスして確認し、確認された入金額が所定の閾値以上の金額である場合に電子メールを正当な電子メールとして受信する受信制御部29と、正当な電子メールを受信した場合に、仮想通貨を返金する返金制御部31と、受信した電子メールの種別に応じて閾値を調整する閾値制御部32とを備える。
【選択図】図4
特許請求の範囲
【請求項1】
一のアカウントから他のアカウントに電子メールを送信するメール送信手段と、
前記メール送信手段が前記電子メールを送信する場合に前記一のアカウントから前記他のアカウントに前記仮想通貨を送金する送金トランザクションを生成し、ブロックチェーンにブロードキャストする送金制御手段と、
他のアカウントから一のアカウントに送信された電子メールを受信するメール受信手段と、
前記メール受信手段が前記電子メールを受信する場合に、前記他のアカウントから前記一のアカウントへの前記仮想通貨の入金状態を前記ブロックチェーンにアクセスして確認し、確認された入金額が所定の閾値以上の金額である場合に前記電子メールを正当な電子メールとして受信する受信制御手段と、
前記受信制御手段が前記正当な電子メールを受信した場合に、当該電子メールが送信されたときに生成された前記仮想通貨の送金トランザクションに応じて当該送金トランザクションと同額の前記仮想通貨を前記一のアカウントから前記他のアカウントに送金する送金トランザクションを生成し、前記ブロックチェーンにブロードキャストする返金制御手段と、
受信した前記電子メールの種別に応じて前記閾値を調整する閾値制御手段とを備えることを特徴とする情報通信装置。
続きを表示(約 1,300 文字)
【請求項2】
請求項1に記載の情報通信装置において、
前記閾値制御手段が、受信した前記電子メールの種別が正当な電子メールである場合に、前記閾値が小さくなるように調整し、前記電子メールの種別が不当な電子メールである場合に、前記閾値が大きくなるように調整することを特徴とする情報通信装置。
【請求項3】
請求項1又は2に記載の情報通信装置において、
前記閾値制御手段が、前記電子メールの種別を当該電子メールを受信した受信者の操作種別に応じて特定することを特徴とする情報通信装置。
【請求項4】
請求項3に記載の情報通信装置において、
前記閾値制御手段が、前記受信者の操作種別が、前記電子メールの参照、保存及び/又は返信を含む一の操作種別である場合に、前記所定の閾値が小さくなるように調整し、前記受信者の操作種別が、前記電子メールの破棄又は迷惑メールに認定する操作を含む他の操作種別である場合に、前記所定の閾値が大きくなるように調整を行うことを特徴とする情報通信装置。
【請求項5】
請求項2に記載の情報通信装置において、
前記閾値制御手段が、前記電子メールの種別が前記正当な電子メールである場合に、前記閾値を減算して当該閾値が小さくなるように調整し、前記電子メールの種別が前記不当な電子メールである場合に、前記閾値を乗算して当該閾値が大きくなるように調整することを特徴とする情報通信装置。
【請求項6】
請求項1又は2に記載の情報通信装置において、
前記閾値が利用者のアカウント又はアカウントの種別ごとに設定されることを特徴とする情報通信装置。
【請求項7】
一のアカウントから他のアカウントに電子メールを送信するメール送信手段、
前記メール送信手段が前記電子メールを送信する場合に前記一のアカウントから前記他のアカウントに前記仮想通貨を送金する送金トランザクションを生成し、ブロックチェーンにブロードキャストする送金制御手段、
他のアカウントから一のアカウントに送信された電子メールを受信するメール受信手段、
前記メール受信手段が前記電子メールを受信する場合に、前記他のアカウントから前記一のアカウントへの前記仮想通貨の入金状態を前記ブロックチェーンにアクセスして確認し、確認された入金額が所定の閾値以上の金額である場合に前記電子メールを正当な電子メールとして受信する受信制御手段、
前記受信制御手段が前記正当な電子メールを受信した場合に、当該電子メールが送信されたときに生成された前記仮想通貨の送金トランザクションに応じて当該送金トランザクションと同額の前記仮想通貨を前記一のアカウントから前記他のアカウントに送金する送金トランザクションを生成し、前記ブロックチェーンにブロードキャストする返金制御手段、
受信した前記電子メールの種別に応じて前記閾値を調整する閾値制御手段としてコンピュータを機能させることを特徴とする情報通信プログラム。
発明の詳細な説明
【技術分野】
【0001】
本発明は、電子メールにおけるSPAM攻撃を防止する情報通信装置等に関する。
続きを表示(約 3,000 文字)
【背景技術】
【0002】
不特定多数の電子メールアドレスに大量に送信される電子メール(以下、SPAMメールという)は、電子メールのユーザにとって迷惑な存在である。SPAMメールを大量に送信するユーザ(以下、SPAMerという)は、広告やコンピュータウイルスの配布、詐欺などの様々な目的で、不特定多数の電子メールアドレスに大量のSPAMメールを送信する。この結果、FBI(Federal Bureau of Investigation)の調査によると、2022年の1年間におけるSPAMメールによる詐欺被害額が27億ドルに上っている(例えば、Internet Crime Complaint Center, 2020 Internet Crime Report, pp. 3, 2021. を参照)。
【0003】
上記の背景を踏まえて、SPAMメールの対策に関する技術として、特許文献1及び非特許文献1が開示されている。特許文献1及び非特許文献1に示す技術は、電子データを他のコンピュータに送信するメール送信部と、デジタル通貨のブロックチェーンにアクセスするための送金トランザクションを生成してブロックチェーンにブロードキャストする送金制御部を備え、メール送信部が電子データを送信するのに伴って、送金制御部が電子データに関するデジタル通貨の送金トランザクションを生成し、ブロックチェーンにブロードキャストするものである。
【先行技術文献】
【特許文献】
【0004】
特許第6583841号公報
【非特許文献】
【0005】
K. Nakayama, Yutaka Moriyama, C. Oshima, An Algorithm that Prevents SPAM Attacks using Blockchain, 2018.
【発明の概要】
【発明が解決しようとする課題】
【0006】
特許文献1に示す技術では、電子データの送信時にデジタル通貨の支払いを行うが、このとき、電子データを受信する側が、当該電子データの受信に必要な送信者側の送信コストを適正に設定しないと、正当な電子データが受信できなかったり、スパムメールや迷惑メールのような不当な電子データが届いてしまうといった問題が発生してしまう。
【0007】
本発明は、上記課題を解決するためになされたものであり、電子メールの送信に必要な送信コストを適正に調整することで、正当な電子メールのみを確実に送受信することができる情報通信装置を提供することを目的とする。
【課題を解決するための手段】
【0008】
本発明に係る情報通信装置は、一のアカウントから他のアカウントに電子メールを送信するメール送信手段と、前記メール送信手段が前記電子メールを送信する場合に前記一のアカウントから前記他のアカウントに前記仮想通貨を送金する送金トランザクションを生成し、ブロックチェーンにブロードキャストする送金制御手段と、他のアカウントから一のアカウントに送信された電子メールを受信するメール受信手段と、前記メール受信手段が前記電子メールを受信する場合に、前記他のアカウントから前記一のアカウントへの前記仮想通貨の入金状態を前記ブロックチェーンにアクセスして確認し、確認された入金額が所定の閾値以上の金額である場合に前記電子メールを正当な電子メールとして受信する受信制御手段と、前記受信制御手段が前記正当な電子メールを受信した場合に、当該電子メールが送信されたときに生成された前記仮想通貨の送金トランザクションに応じて当該送金トランザクションと同額の前記仮想通貨を前記一のアカウントから前記他のアカウントに送金する送金トランザクションを生成し、前記ブロックチェーンにブロードキャストする返金制御手段と、受信した前記電子メールの種別に応じて前記閾値を調整する閾値制御手段とを備えるものである。
【0009】
このように、本発明に係る情報通信装置においては、一のアカウントから他のアカウントに電子メールを送信し、前記電子メールを送信する場合に前記一のアカウントから前記他のアカウントに前記仮想通貨を送金する送金トランザクションを生成してブロックチェーンにブロードキャストし、他のアカウントから一のアカウントに送信された電子メールを受信し、前記電子メールを受信する場合に、前記他のアカウントから前記一のアカウントへの前記仮想通貨の入金状態を前記ブロックチェーンにアクセスして確認し、確認された入金額が所定の閾値以上の金額である場合に前記電子メールを正当な電子メールとして受信し、前記正当な電子メールを受信した場合に、当該電子メールが送信されたときに生成された前記仮想通貨の送金トランザクションに応じて当該送金トランザクションと同額の前記仮想通貨を前記一のアカウントから前記他のアカウントに送金する送金トランザクションを生成して前記ブロックチェーンにブロードキャストし、受信した前記電子メールの種別に応じて前記閾値を調整するため、正当な電子メールの送受信を妨げることなく不当な電子メールの受信を排除することができるという効果を奏する。
【図面の簡単な説明】
【0010】
本発明の第1の実施形態に係る情報通信装置を用いたSAGA
BC
システムのシステム概要図である。
SAGA
BC
システムにおけるメーラの処理手順の一例を示すシーケンス図である。
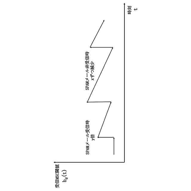
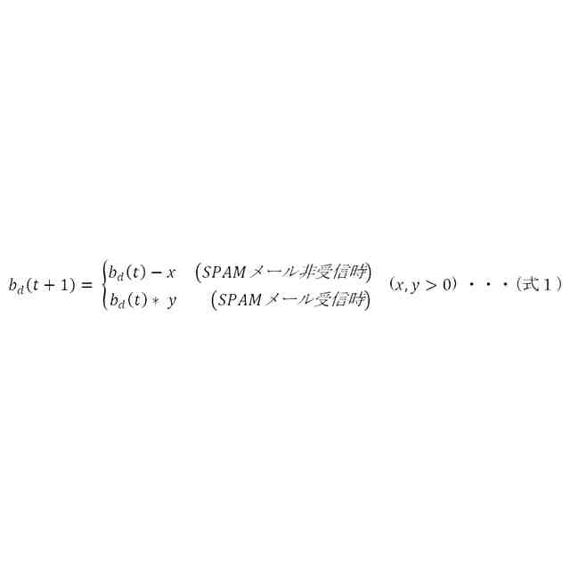
本発明の第1の実施形態に係る情報通信装置において閾値を調整する場合に期待される挙動を示す図である。
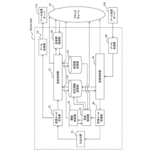
本発明の第1の実施形態に係る情報通信装置の構成を示す機能ブロック図である。
対応情報記憶部に記憶される情報の一例を示す図である。
受信制御部の処理を示す図である。
本発明の第1の実施形態に係る情報通信装置における電子メールの送信時(MSC送金時)の処理を示すフローチャートである。
本発明の第1の実施形態に係る情報通信装置における電子メールの受信時の処理を示すフローチャートである。
本発明の第1の実施形態に係る情報通信装置における返金処理を示すフローチャートである。
本発明に係る情報通信装置の実験モデルを示すNSチャートである。
従来のSAGA
BC
システムにおいて、SAGA
BC
システムの利用率が50%の場合におけるSAGA
BC
システムの一般利用者が受信するSPAMメールの数を示す図である。
実施例に係る情報通信装置において、閾値の減少幅と増加倍率を変化させてSAGA
BC
システムの一般利用者におけるSPAMメール受信数を比較した結果を示す図である。
実施例に係る情報通信装置において、一般利用者が所有する仮想通貨の平均量と閾値とを示す図である。
実施例に係る情報通信装置において、(SPAMメール受信数)÷(同時に送れる電子メール数)を計算し比較した結果を示す図である。
【発明を実施するための形態】
(【0011】以降は省略されています)
この特許をJ-PlatPat(特許庁公式サイト)で参照する
関連特許
国立大学法人佐賀大学
リベット塗膜剥離方法
8か月前
国立大学法人佐賀大学
便意検出装置、便意検出方法
1か月前
国立大学法人佐賀大学
HO-1発現亢進剤及び抗炎症剤
3か月前
国立大学法人佐賀大学
情報通信システム及び情報通信装置
5日前
国立大学法人佐賀大学
情報通信装置及び情報通信プログラム
13日前
国立大学法人佐賀大学
縦型電子デバイス用基板およびその製造方法、縦型ショットキーバリアダイオード、縦型電界効果トランジスタ、および絶縁型ゲートバイポーラトランジスタ
1か月前
個人
工程設計支援装置
1か月前
個人
地球保全システム
7日前
個人
フラワーコートA
2か月前
個人
冷凍食品輸出支援構造
1か月前
個人
為替ポイント伊達夢貯
1か月前
個人
介護情報提供システム
2か月前
個人
残土処理システム
今日
個人
携帯情報端末装置
1か月前
個人
表変換編集支援システム
27日前
個人
結婚相手紹介支援システム
1か月前
個人
知財出願支援AIシステム
1か月前
個人
知的財産出願支援システム
1日前
個人
行動時間管理システム
29日前
個人
パスワード管理支援システム
27日前
個人
AIによる情報の売買の仲介
1か月前
個人
海外支援型農作物活用システム
19日前
株式会社キーエンス
受発注システム
6日前
個人
パスポートレス入出国システム
1か月前
個人
AIキャラクター制御システム
27日前
株式会社アジラ
進入判定装置
1か月前
個人
食品レシピ生成システム
6日前
株式会社キーエンス
受発注システム
6日前
株式会社キーエンス
受発注システム
6日前
日本精機株式会社
施工管理システム
1か月前
個人
アンケート支援システム
2か月前
個人
システム及びプログラム
20日前
個人
SaaS型勤務調整支援システム
27日前
個人
音声対話型帳票生成支援システム
27日前
サクサ株式会社
中継装置
2か月前
個人
人格進化型対話応答制御システム
27日前
続きを見る
他の特許を見る