TOP
|
特許
|
意匠
|
商標
特許ウォッチ
Twitter
他の特許を見る
10個以上の画像は省略されています。
公開番号
2025137876
公報種別
公開特許公報(A)
公開日
2025-09-22
出願番号
2024036423
出願日
2024-03-09
発明の名称
トンネル内作業方法およびトンネル空調システム
出願人
東急建設株式会社
代理人
個人
主分類
E21F
1/00 20060101AFI20250912BHJP(地中もしくは岩石の削孔;採鉱)
要約
【課題】作業員の安全衛生を確実に保ちつつも工期を短縮できるトンネル内作業方法を提供する。
【解決手段】トンネル内において、有害物を発する有害作業と、有害物を発しない一般作業と、を行うにあたって、トンネル内の気流を、第一坑口から第二坑口に向かう第一方向気流とした状態で、有害作業を実行している有害区域の第一側において一般作業を並行して実行する第一側安全作業と、トンネル内の気流を、第二坑口から第一坑口に向かう第二方向気流とした状態で、有害作業を実行している有害区域の第二側において一般作業を並行して実行する第二側安全作業と、があり、第一側安全作業と第二側安全作業とを時間ごとに切り替えながらトンネル内作業を進行する。
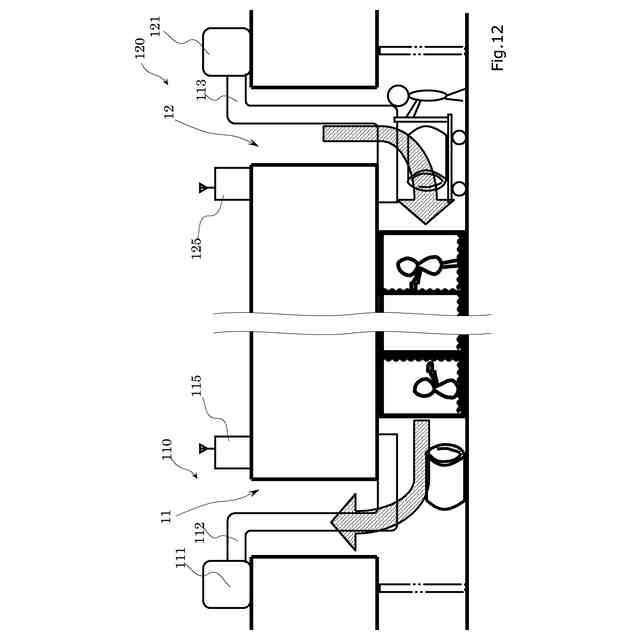
【選択図】図12
特許請求の範囲
【請求項1】
第一側の坑口である第一坑口と第二側の坑口である第二坑口とを有するトンネル内において作業を行うトンネル内作業方法であって、
当該トンネル内において、有害物を発する有害作業と、有害物を発しない一般作業と、を行うにあたって、
当該トンネル内の気流を、前記第一坑口から前記第二坑口に向かう第一方向気流とした状態で、前記有害作業を実行している有害区域の第一側において前記一般作業を並行して実行する第一側安全作業と、
当該トンネル内の気流を、前記第二坑口から前記第一坑口に向かう第二方向気流とした状態で、前記有害作業を実行している有害区域の第二側において前記一般作業を並行して実行する第二側安全作業と、があり、
前記第一側安全作業と前記第二側安全作業とを時間ごとに切り替えながらトンネル内作業を進行する
ことを特徴とするトンネル内作業方法。
続きを表示(約 2,700 文字)
【請求項2】
請求項1に記載のトンネル内作業方法において、
当該トンネル内の気流を、前記第一坑口から前記第二坑口に向かう第一方向気流と、前記第二坑口から前記第一坑口に向かう第二方向気流と、で切り替える空調システムを当該トンネルに設置し、
前記空調システムによって当該トンネル内の気流を前記第一方向気流と前記第二方向気流とで切り替え、
前記第一側安全作業と前記第二側安全作業とを時間ごとに切り替えながらトンネル内作業を進行する
ことを特徴とするトンネル内作業方法。
【請求項3】
請求項1に記載のトンネル内作業方法において、
当該トンネル内において前記第一坑口と前記第二坑口との中央または中央に近い領域から作業を開始し、その後、前記第一坑口と前記第二坑口との両方に向けて並行して作業を進行する
ことを特徴とするトンネル内作業方法。
【請求項4】
請求項1に記載のトンネル内作業方法において、
前記一般作業は、当該トンネル内に新管を引き込む作業であり、
前記有害作業は、引き込んだ前記新管を固定する作業である
ことを特徴とするトンネル内作業方法。
【請求項5】
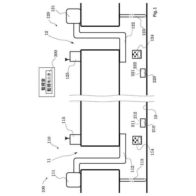
第一側の坑口である第一坑口と第二側の坑口である第二坑口とを有するトンネルに設置され、当該トンネル内の気流を、前記第一坑口から前記第二坑口に向かう第一方向気流と、前記第二坑口から前記第一坑口に向かう第二方向気流と、で切り替えるトンネル空調システムであって、
前記第一坑口側に設置され、外気を前記第一坑口から当該トンネル内に送り込む送気と、当該トンネル内空気を前記第一坑口から外気に排出する排気と、を切り替えて実行する第一換気装置と、
前記第二坑口側に設置され、外気を前記第二坑口から当該トンネル内に送り込む送気と、当該トンネル内空気を前記第二坑口から外気に排出する排気と、を切り替えて実行する第二換気装置と、を備える
ことを特徴とするトンネル空調システム。
【請求項6】
請求項5に記載のトンネル空調システムにおいて、
前記第一換気装置と前記第二換気装置とは無線通信で通信接続されており、
前記第一換気装置と前記第二換気装置とは、それぞれが、運転モード選択手段として、送気運転を選択する送気運転選択入力部と、排気運転を選択する排気運転選択入力部と、を有し、
前記第一換気装置と前記第二換気装置とのうちでユーザから運転モード選択操作を受けた一方を自装置とし、他方を他装置とし、
前記自装置は、当該自装置自身の運転状態がオフでかつ前記他装置も運転状態がオフであることを確認できた場合、当該自装置は、ユーザから受けた運転モード選択操作にしたがって送気運転モードおよび排気運転モードのうちの一方の運転モードに自装置の運転モードを設定するとともに、前記他装置に向けて、送気運転モードおよび排気運転モードの他方の運転モードに設定する運転モード設定指令を送信し、
前記他装置は、受信した運転モード設定指令にしたがって送気運転モードおよび排気運転モードのうちの他方の運転モードに設定する
ことを特徴とするトンネル空調システム。
【請求項7】
請求項5に記載のトンネル空調システムにおいて、
前記第一換気装置と前記第二換気装置とは無線通信で通信接続されており、
前記第一換気装置と前記第二換気装置とは、それぞれが、ファンとモータとで気流を起こす換気機器と、その換気機器の動作を制御する制御部と、を有し、
前記第一換気装置と前記第二換気装置とは、それぞれが、運転オン入力部を有し、
前記第一換気装置と前記第二換気装置とのうちでユーザから運転オン操作を受けた一方を自装置とし、他方を他装置とし、
前記自装置は、当該自装置自身の運転状態がオフでかつ前記他装置も運転状態もオフであることを確認できた場合、当該自装置は、当該自装置の運転状態をオンにするとともに、前記他装置に向けて運転開始指令を送信し、
前記運転開始指令を受信した前記他装置が前記他装置の運転状態をオンにするとともに、前記自装置に向けて受信確認を送信し、前記他装置は、当該他装置の換気機器の送気運転および排気運転の他方を開始し、
前記自装置は、前記他装置からの受信確認を受信した後、前記自装置は、当該自装置の換気機器の送気運転および排気運転の一方を開始する
ことを特徴とするトンネル空調システム。
【請求項8】
請求項7に記載のトンネル空調システムにおいて、
前記自装置は、トンネル内に設置された風速計の計測値の変化を確認した後、当該自装置の換気機器の送気運転および排気運転の一方を開始する
ことを特徴とするトンネル空調システム。
【請求項9】
請求項5に記載のトンネル空調システムにおいて、
前記第一換気装置と前記第二換気装置とは無線通信で通信接続されており、
前記第一換気装置と前記第二換気装置とは、それぞれが、ファンとモータとで気流を起こす換気機器と、その換気機器の動作を制御する制御部と、を有し、
前記第一換気装置と前記第二換気装置とは、それぞれが、運転オフ入力部を有し、
前記第一換気装置と前記第二換気装置とのうちでユーザから運転オフ操作を受けた一方を自装置とし、他方を他装置とし、
前記自装置は、当該自装置自身の運転状態がオンでかつ前記他装置も運転状態がオンであることを確認できた場合、当該自装置は、当該自装置の換気機器を停止するとともに、前記他装置に向けて運転オフ指令を送信し、
前記運転オフ指令を受信した前記他装置の制御部が前記他装置の換気機器を停止するとともに、前記自装置に向けて受信確認を送信し、その後、前記他装置の運転状態をオフにし、
前記自装置は、前記他装置からの受信確認を受信した後、前記自装置は、当該自装置の運転状態をオフにする
ことを特徴とするトンネル空調システム。
【請求項10】
請求項5に記載のトンネル空調システムにおいて、
トンネル内に設置された風速計の計測値の移動平均と、予め設定された風速の目標値と、とに基づいて、トンネル内風速が目標値で設定された範囲内になるように前記第一換気装置と前記第二換気装置とはフィードバック制御される
ことを特徴とするトンネル空調システム。
発明の詳細な説明
【技術分野】
【0001】
本発明は、トンネル内作業方法およびトンネル空調システムに関する。
続きを表示(約 2,300 文字)
【背景技術】
【0002】
貫通したトンネルに対し、修繕、改修、更生、点検や、あるいは、トンネル内事故の消火や障害物の除去といった作業が発生する。典型的な例としては、水道(上水道、下水道)管の更生工法として、老朽化した既設管の内側に新管を設置することで管路を更生させるパイプインパイプ(PIP)工法などがある。
【先行技術文献】
【特許文献】
【0003】
特許6216690
特開2016-007910
【発明の概要】
【発明が解決しようとする課題】
【0004】
管路更生工法の一つであるパイプインパイプ(PIP)工法を例に説明する。パイプインパイプ工法の一種として巻き込み管によるパイプインパイプ工法がある。巻き込み管によるパイプインパイプ工法は、既設管の径に近い径で内側に新管を設置できるので、少ない断面減少で老朽化した管路を更生できることから、管路更生としては望ましい工法である。ただし、新管を設置するにあたっては、新管を設置個所まで運搬するために、1度管の延長方向を切断してより小さい径に巻いて、設置個所で既設管の径より少し小さい径まで押し広げた上で、管軸方向および円周方向に溶接(接着)作業が必要であるから、溶接(接着)作業時、すなわち固定作業時に有害物質が生じる。このような有害物質の発生を伴う作業(有害作業)は、資格を有し、専門の訓練を受け(例えば、アーク溶接特別教育、ガス溶接議場講習、有機溶剤取扱責任者)、防護服や防塵マスクをした専門作業員が行うもので、有害作業を行っているときにはトンネル内に他の一般作業、すなわち有害物質の発生を伴わない作業を行う人員は入れない。そのため、巻き込み管によるパイプインパイプ工法は時間(日数)を要する工事であった。パイプインパイプ工法に限らず、トンネル内作業において作業員の安全衛生環境を確実に保ちながら複数の作業を並行的に行うことは難しいことである。そのため、新たにトンネルを掘るということでもないのに、既設のトンネルであってもやはりトンネル内の作業というのはどうしても工期を短縮することができない難工事であった。しかし、近年では人手が不足しているうえに改修工事を求められる管路の数は膨大である。
【0005】
貫通した長距離トンネルの換気制御は難しく、両坑口間の気温・気圧・風速等の差異により、風向すら変化する。また、これらの工事を実施するためには、風向の制御のみならず、労働安全衛生規則(寒期)の上限値1.0m/秒を超えずに、同時作業を行うために必要となる最小換気量から定まる最小風速(例えば本実施例では)0.8m/秒以上を維持しなければならない。したがって、外部要因(天候・気候)の影響を受けつつも、常に風速を一定に保つ制御システムが求められる。
【0006】
本発明の目的は、作業員の安全衛生を確実に保ちつつも工期を画期的に短縮できるトンネル内作業方法、およびそのためのトンネル空調システムを提供することにある。
【課題を解決するための手段】
【0007】
請求項1に記載のトンネル内作業方法は、
第一側の坑口である第一坑口と第二側の坑口である第二坑口とを有するトンネル内において作業を行うトンネル内作業方法であって、
当該トンネル内において、有害物を発する有害作業と、有害物を発しない一般作業と、を行うにあたって、
当該トンネル内の気流を、前記第一坑口から前記第二坑口に向かう第一方向気流とした状態で、前記有害作業を実行している有害区域の第一側において前記一般作業を並行して実行する第一側安全作業と、
当該トンネル内の気流を、前記第二坑口から前記第一坑口に向かう第二方向気流とした状態で、前記有害作業を実行している有害区域の第二側において前記一般作業を並行して実行する第二側安全作業と、があり、
前記第一側安全作業と前記第二側安全作業とを時間ごとに切り替えながらトンネル内作業を進行する
ことを特徴とする。
【0008】
請求項2に記載のトンネル内作業方法は、
請求項1に記載のトンネル内作業方法において、
当該トンネル内の気流を、前記第一坑口から前記第二坑口に向かう第一方向気流と、前記第二坑口から前記第一坑口に向かう第二方向気流と、で切り替える空調システムを当該トンネルに設置し、
前記空調システムによって当該トンネル内の気流を前記第一方向気流と前記第二方向気流とで切り替え、
前記第一側安全作業と前記第二側安全作業とを時間ごとに切り替えながらトンネル内作業を進行する
ことを特徴とする。
【0009】
請求項3に記載のトンネル内作業方法は、
請求項1に記載のトンネル内作業方法において、
当該トンネル内において前記第一坑口と前記第二坑口との中央または中央に近い領域から作業を開始し、その後、前記第一坑口と前記第二坑口との両方に向けて並行して作業を進行する
ことを特徴とする。
【0010】
請求項4に記載のトンネル内作業方法は、
請求項1に記載のトンネル内作業方法において、
前記一般作業は、当該トンネル内に新管を引き込む作業であり、
前記有害作業は、引き込んだ前記新管を固定する作業である
ことを特徴とする。
(【0011】以降は省略されています)
特許ウォッチbot のツイートを見る
この特許をJ-PlatPat(特許庁公式サイト)で参照する
関連特許
東急建設株式会社
タイル下の空隙補修方法及び充填材注入治具
27日前
東急建設株式会社
遮音壁ユニット、遮音壁構造及び遮音壁ユニットの施工方法
28日前
個人
掘削機
5か月前
日特建設株式会社
切断装置
1か月前
株式会社奥村組
地山探査方法
3か月前
株式会社奥村組
地山探査装置
3か月前
株式会社奥村組
地山探査装置
3か月前
株式会社奥村組
地山探査装置
3か月前
株式会社笠原建設
横孔形成方法
7か月前
日特建設株式会社
削孔システム
14日前
株式会社奥村組
シールド掘進機
8か月前
株式会社奥村組
シールド掘進機
2か月前
株式会社奥村組
シールド掘進機
6か月前
日特建設株式会社
ボーリング装置
7か月前
岐阜工業株式会社
トンネルセントル
2か月前
花王株式会社
岩盤の掘削方法
5か月前
個人
オープンシールド機
3か月前
株式会社奥村組
テールシール試験装置
8か月前
株式会社奥村組
泥土圧シールド掘進機
6か月前
個人
掘削機、及び、資源回収システム
7か月前
株式会社熊谷組
天井板撤去装置
7か月前
株式会社奥村組
セグメントの組立方法
2か月前
個人
オープンシールド機
3か月前
岐阜工業株式会社
コンクリート分配装置
27日前
日特建設株式会社
削孔方法及び削孔装置
8か月前
株式会社ケー・エフ・シー
剥落防止構造
8か月前
個人
箱形ルーフおよびその施工法
2か月前
大阪瓦斯株式会社
牽引装置
6か月前
株式会社金澤製作所
発進坑口のエントランス装置
6か月前
株式会社大林組
インバート更新工法
8か月前
デンカ株式会社
静的破砕方法
3か月前
個人
メタンハイドレート等海底鉱物資源の採取方法
4か月前
大成建設株式会社
トンネルの褄部構造
8か月前
大阪瓦斯株式会社
切欠開裂治具
6か月前
地中空間開発株式会社
トンネル掘削機
1か月前
株式会社ケー・エフ・シー
防水シート探傷装置
9か月前
続きを見る
他の特許を見る