TOP
|
特許
|
意匠
|
商標
特許ウォッチ
Twitter
他の特許を見る
公開番号
2025130421
公報種別
公開特許公報(A)
公開日
2025-09-08
出願番号
2024027573
出願日
2024-02-27
発明の名称
燃料電池モジュール
出願人
株式会社豊田自動織機
代理人
個人
,
個人
主分類
H01M
8/04 20160101AFI20250901BHJP(基本的電気素子)
要約
【課題】検知部の誤検知を抑制できる燃料電池モジュールを提供する。
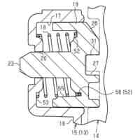
【解決手段】燃料電池モジュール10は、燃料電池スタック11と、燃料電池スタック11を収容する筐体18と、筐体18内における水素漏洩を検知する検知部20と、外部システム110が接続される第1端部21aを有する水素配管21と、外部システム110が接続される第2端部15bを有する排気排水配管15とを備えている。筐体18は、第1側壁83と、第1方向Xにおいて第1側壁83と対向する第2側壁84とを有している。水素配管21及び排気排水配管15が第1側壁83を貫通することにより、第1端部21a及び第2端部15bは筐体18外に位置している。検知部20は、筐体18の上部に設けられるとともに、第1方向Xにおいて筐体18の中央よりも第2側壁84側に配置されている。
【選択図】図4
特許請求の範囲
【請求項1】
燃料電池スタックと、
前記燃料電池スタックを収容する筐体と、
前記筐体内における水素漏洩を検知する検知部と、
を備える燃料電池モジュールであって、
外部システムが接続される第1接続部を有し、前記外部システムから前記燃料電池スタックに水素を供給する水素配管と、
前記外部システムが接続される第2接続部を有し、前記燃料電池スタックから排出された排ガス及び生成水を前記外部システムに排出する排気排水配管と、
を備え、
前記筐体は、第1側壁と、鉛直方向と交差する第1方向において前記第1側壁と対向する第2側壁とを有し、
前記水素配管及び前記排気排水配管が前記第1側壁を貫通することにより、前記第1接続部及び前記第2接続部は前記筐体外に位置しており、
前記検知部は、前記筐体の上部に設けられるとともに、前記第1方向において前記筐体の中央よりも前記第2側壁側に配置されていることを特徴とする燃料電池モジュール。
続きを表示(約 660 文字)
【請求項2】
前記排気排水配管は、鉛直方向における前記第1側壁の下部を貫通している請求項1に記載の燃料電池モジュール。
【請求項3】
前記第1側壁には、前記筐体の内外を連通させる第1通気口が設けられており、
前記第2側壁には、前記筐体の内外を連通させる第2通気口が設けられており、
前記筐体には、前記筐体外の外気が前記第2通気口から前記筐体内に吸入されるとともに前記筐体内に吸入された前記外気が前記第1通気口から前記筐体外に排出されるようにファンが取り付けられている請求項1に記載の燃料電池モジュール。
【請求項4】
前記第2通気口は、鉛直方向における前記第2側壁の上部には設けられていない請求項3に記載の燃料電池モジュール。
【請求項5】
鉛直方向における前記第1側壁の上部には、前記第1通気口としての上側通気口が設けられており、
鉛直方向における前記第1側壁の下部には、前記第1通気口としての下側通気口が設けられている請求項3に記載の燃料電池モジュール。
【請求項6】
前記ファンは、前記第1側壁の内面に設けられている請求項3に記載の燃料電池モジュール。
【請求項7】
前記筐体に対して着脱可能に取り付けられるとともに前記筐体に取り付けられた状態において前記筐体の上壁に設けられた貫通孔を閉塞するカバーを備え、
前記検知部は、前記カバーの内面に取り付けられている請求項1に記載の燃料電池モジュール。
発明の詳細な説明
【技術分野】
【0001】
本発明は、燃料電池モジュールに関する。
続きを表示(約 2,100 文字)
【背景技術】
【0002】
特許文献1に記載の燃料電池モジュールは、燃料電池スタックと、燃料電池スタックを稼動させる機能部品と、燃料電池スタック及び機能部品を収容する筐体とを備えている。燃料電池モジュールでは、例えば、万が一の場合に機能部品から水素が漏洩するなど、筐体内において水素漏洩が発生する場合がある。燃料電池モジュールは、筐体内における水素漏洩を検知する検知部を備えている。
【先行技術文献】
【特許文献】
【0003】
特開2022-3626号公報
【発明の概要】
【発明が解決しようとする課題】
【0004】
筐体内において水素漏洩が発生していないにも関わらず、検知部は、筐体内において水素漏洩が発生していると誤検知することがある。
【課題を解決するための手段】
【0005】
上記問題点を解決するための燃料電池モジュールは、燃料電池スタックと、前記燃料電池スタックを収容する筐体と、前記筐体内における水素漏洩を検知する検知部と、を備える燃料電池モジュールであって、外部システムが接続される第1接続部を有し、前記外部システムから前記燃料電池スタックに水素を供給する水素配管と、前記外部システムが接続される第2接続部を有し、前記燃料電池スタックから排出された排ガス及び生成水を前記外部システムに排出する排気排水配管と、を備え、前記筐体は、第1側壁と、鉛直方向と交差する第1方向において前記第1側壁と対向する第2側壁とを有し、前記水素配管及び前記排気排水配管が前記第1側壁を貫通することにより、前記第1接続部及び前記第2接続部は前記筐体外に位置しており、前記検知部は、前記筐体の上部に設けられるとともに、前記第1方向において前記筐体の中央よりも前記第2側壁側に配置されていることを要旨とする。
【0006】
上記構成によれば、検知部は筐体の上部に設けられているため、筐体内における水素漏洩を効率良く検知することができる。
また、検知部は、第1方向において筐体の中央よりも第2側壁側に配置されているため、第1方向において水素配管の第1接続部及び排気排水配管の第2接続部から離れた位置に配置されている。これにより、第1接続部と外部システムとの接続箇所から漏洩した水素が筐体内に侵入したとしても、当該水素は検知部まで到達しにくくなる。また、第2接続部と外部システムとの接続箇所から漏洩した水素を含む排ガスが筐体内に侵入したとしても、当該排ガスは検知部まで到達しにくくなる。したがって、第1接続部と外部システムとの接続箇所から漏洩した水素、及び第2接続部と外部システムとの接続箇所から漏洩した排ガスに含まれる水素による検知部の誤検知を抑制できる。
【0007】
外部システムは、第1接続部及び第2接続部と接続されるため、筐体の第1側壁の側方に配置されることが想定される。検知部は、第1方向において筐体の中央よりも第2側壁側に配置されているため、第1方向において外部システムから離れた位置に配置されている。これにより、外部システムから漏洩した水素や外部システムから放出された水素を含む排ガスが筐体内に侵入したとしても、当該水素及び当該排ガスは検知部まで到達しにくくなる。したがって、外部システムから漏洩した水素、及び外部システムから放出された排ガスに含まれる水素による検知部の誤検知を抑制できる。
【0008】
上記燃料電池モジュールにおいて、前記排気排水配管は、鉛直方向における前記第1側壁の下部を貫通していてもよい。
上記構成によれば、排気排水配管が鉛直方向における第1側壁の上部を貫通している場合と比較して、検知部は第2接続部からより離れた位置に配置される。このため、第2接続部と外部システムとの接続箇所から漏洩した排ガスは、検知部までより到達しにくくなる。したがって、第2接続部と外部システムとの接続箇所から漏洩した排ガスによる検知部の誤検知をより抑制できる。
【0009】
上記燃料電池モジュールにおいて、前記第1側壁には、前記筐体の内外を連通させる第1通気口が設けられており、前記第2側壁には、前記筐体の内外を連通させる第2通気口が設けられており、前記筐体には、前記筐体外の外気が前記第2通気口から前記筐体内に吸入されるとともに前記筐体内に吸入された前記外気が前記第1通気口から前記筐体外に排出されるようにファンが取り付けられていてもよい。
【0010】
上記構成によれば、筐体内において第2通気口から第1通気口に向かって流れる外気により、筐体内の部品を冷却することができる。
また、筐体内において水素が漏洩したとしても、当該水素は、外気とともに第1通気口から筐体外に排出される。したがって、ファンの作動中には、筐体内において漏洩した水素は筐体に滞留しにくくなる。
(【0011】以降は省略されています)
特許ウォッチbot のツイートを見る
この特許をJ-PlatPat(特許庁公式サイト)で参照する
関連特許
株式会社豊田自動織機
車両
22日前
株式会社豊田自動織機
冷却装置
2日前
株式会社豊田自動織機
制御装置
5日前
株式会社豊田自動織機
監視装置
2日前
株式会社豊田自動織機
流体機械
14日前
株式会社豊田自動織機
流体機械
14日前
株式会社豊田自動織機
耐熱部材
20日前
株式会社豊田自動織機
産業車両
20日前
株式会社豊田自動織機
車両用機器
2日前
株式会社豊田自動織機
燃料噴射弁
6日前
株式会社豊田自動織機
電力変換装置
13日前
株式会社豊田自動織機
インバータ装置
21日前
株式会社豊田自動織機
フォークリフト
13日前
株式会社豊田自動織機
インバータ装置
2日前
株式会社豊田自動織機
シートベルト装置
13日前
株式会社豊田自動織機
走行制御システム
14日前
株式会社豊田自動織機
パレット検知装置
今日
株式会社豊田自動織機
燃料電池システム
2日前
株式会社豊田自動織機
燃料電池システム
2日前
株式会社豊田自動織機
燃料電池システム
2日前
株式会社豊田自動織機
蓄電装置の製造方法
12日前
株式会社豊田自動織機
燃料電池モジュール
2日前
株式会社豊田自動織機
トランスモジュール
12日前
株式会社豊田自動織機
蓄電装置の製造方法
12日前
株式会社豊田自動織機
位置姿勢検知システム
14日前
株式会社豊田自動織機
支持装置及び支持部材
12日前
株式会社豊田自動織機
内燃機関の排気浄化システム
13日前
株式会社豊田自動織機
キャパシタモジュールユニット
12日前
豊田合成株式会社
車両用内装品
今日
株式会社豊田自動織機
電源装置及び電源装置の製造方法
6日前
豊田合成株式会社
車両用内装品
今日
豊田合成株式会社
コンソールボックス
今日
株式会社豊田中央研究所
燃料供給装置
2日前
株式会社豊田自動織機
燃料電池モジュール、及び発電システム
2日前
豊田合成株式会社
コンソールボックス
今日
豊田合成株式会社
コンソールボックス
今日
続きを見る
他の特許を見る