TOP
|
特許
|
意匠
|
商標
特許ウォッチ
Twitter
他の特許を見る
公開番号
2025132482
公報種別
公開特許公報(A)
公開日
2025-09-10
出願番号
2024030089
出願日
2024-02-29
発明の名称
インバータ装置
出願人
株式会社豊田自動織機
代理人
個人
,
個人
主分類
H02M
7/48 20070101AFI20250903BHJP(電力の発電,変換,配電)
要約
【課題】ホルダに対する電子部品の位置を精度良く管理すること。
【解決手段】載置面44には、接着剤61が充填される凹部60が形成されている。これによれば、電子部品31を接着剤61を介してホルダ40に固定する際に、載置面44と対向面34との間に存在する接着剤61が凹部60内に流れ込む。そして、凹部60内に充填される接着剤61を介して電子部品31がホルダ40に固定される。このとき、位置決め面59は、対向面34と接触して電子部品31のホルダ40に対する位置決めを行う。よって、載置面44と対向面34との間に接着剤61が介在されていない。したがって、例えば、載置面44と対向面34との間に接着剤が介在されており、載置面44と対向面34との間に介在される接着剤の厚みによって、ホルダ40に対する電子部品31の位置が精度良く管理することが難しくなるといった問題が回避される。
【選択図】図3
特許請求の範囲
【請求項1】
電子部品と、
前記電子部品と導線を介して接続される回路基板と、
前記電子部品を保持するとともに前記電子部品と前記回路基板との間に介在されるホルダと、を備え、
前記ホルダは、前記電子部品が載置される載置面を有し、
前記電子部品は、前記載置面に対向する対向面を有し、
前記載置面に前記対向面が対向して配置されることで、前記電子部品は、前記ホルダに載置されているインバータ装置であって、
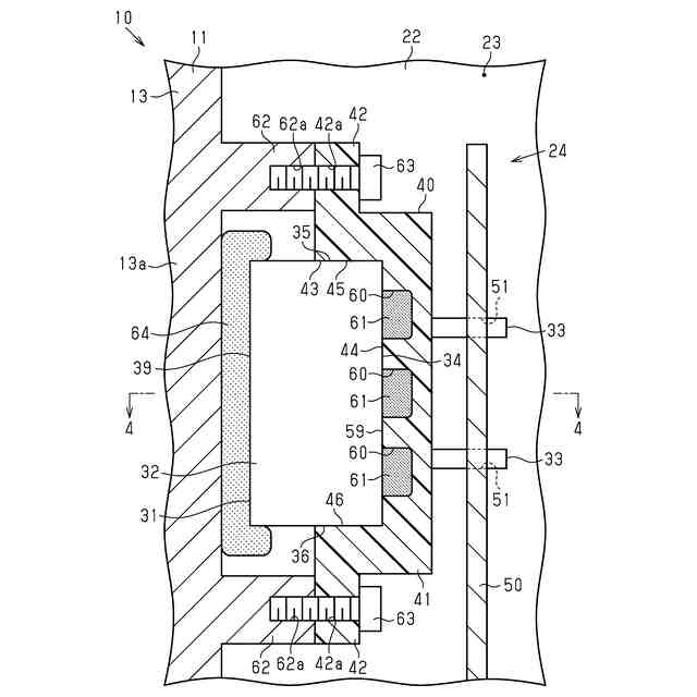
前記載置面には、前記対向面と接触して前記電子部品の前記ホルダに対する位置決めを行う位置決め面と、接着剤が充填される凹部が形成されており、
前記電子部品は、前記接着剤を介して前記ホルダに固定されていることを特徴とするインバータ装置。
続きを表示(約 160 文字)
【請求項2】
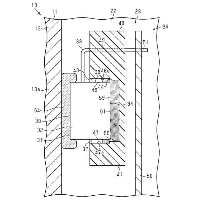
前記凹部は、前記対向面によって閉塞されることなく開放されていることを特徴とする請求項1に記載のインバータ装置。
【請求項3】
前記対向面は、平坦面状であり、
前記載置面は、前記対向面に沿って延在する平坦面状であることを特徴とする請求項1又は請求項2に記載のインバータ装置。
発明の詳細な説明
【技術分野】
【0001】
本発明は、インバータ装置に関する。
続きを表示(約 1,700 文字)
【背景技術】
【0002】
従来から、電子部品と、回路基板と、ホルダと、を備えたインバータ装置が知られている。回路基板は、電子部品と導線を介して接続されている。ホルダは、電子部品を保持するとともに電子部品と回路基板との間に介在されている。ホルダは、電子部品が載置される載置面を有している。電子部品は、載置面に対向する対向面を有している。そして、載置面に対向面が対向して配置されることで、電子部品は、ホルダに載置されている。電子部品は、例えば特許文献1のベースとコンデンサのように、載置面と対向面との間に介在される接着剤を介してホルダに固定されている。
【先行技術文献】
【特許文献】
【0003】
特開2016-983号公報
【発明の概要】
【発明が解決しようとする課題】
【0004】
ところで、このように、電子部品が、載置面と対向面との間に介在される接着剤を介してホルダに固定されている場合、載置面と対向面との間に介在される接着剤の厚みが推定し難い。このため、ホルダに対する電子部品の位置を精度良く管理することが難しいという問題があった。
【課題を解決するための手段】
【0005】
上記課題を解決するインバータ装置は、電子部品と、前記電子部品と導線を介して接続される回路基板と、前記電子部品を保持するとともに前記電子部品と前記回路基板との間に介在されるホルダと、を備え、前記ホルダは、前記電子部品が載置される載置面を有し、前記電子部品は、前記載置面に対向する対向面を有し、前記載置面に前記対向面が対向して配置されることで、前記電子部品は、前記ホルダに載置されているインバータ装置であって、前記載置面には、前記対向面と接触して前記電子部品の前記ホルダに対する位置決めを行う位置決め面と、接着剤が充填される凹部が形成されており、前記電子部品は、前記接着剤を介して前記ホルダに固定されている。
【0006】
これによれば、電子部品を接着剤を介してホルダに固定する際に、載置面と対向面との間に存在する接着剤が凹部内に流れ込む。そして、凹部内に充填される接着剤を介して電子部品がホルダに固定される。このとき、位置決め面は、対向面と接触して電子部品のホルダに対する位置決めを行う。よって、載置面と対向面との間に接着剤が介在されていない。したがって、例えば、載置面と対向面との間に接着剤が介在されており、載置面と対向面との間に介在される接着剤の厚みによって、ホルダに対する電子部品の位置が精度良く管理することが難しくなるといった問題を回避することができる。その結果、ホルダに対する電子部品の位置を精度良く管理することができる。
【0007】
上記インバータ装置において、前記凹部は、前記対向面によって閉塞されることなく開放されているとよい。
これによれば、凹部が、対向面によって閉塞されることなく開放されているため、例えば、凹部内に充填される接着剤が凹部から溢れたとしても、凹部から溢れた接着剤が載置面と対向面との間に流れてしまうことを回避し易くすることができる。
【0008】
上記インバータ装置において、前記対向面は、平坦面状であり、前記載置面は、前記対向面に沿って延在する平坦面状であるとよい。
このような構成であっても、ホルダに対する電子部品の位置を精度良く管理することができる。
【発明の効果】
【0009】
この発明によれば、ホルダに対する電子部品の位置を精度良く管理することができる。
【図面の簡単な説明】
【0010】
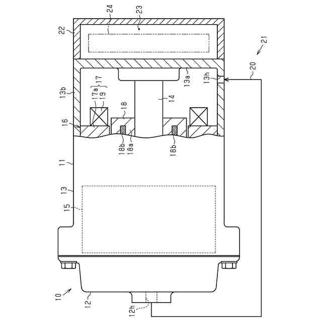
図1は、実施形態における電動圧縮機の断面図である。
図2は、インバータ装置の分解斜視図である。
図3は、インバータ装置を説明するための断面図である。
図4は、図3における4-4線断面図である。
【発明を実施するための形態】
(【0011】以降は省略されています)
この特許をJ-PlatPat(特許庁公式サイト)で参照する
関連特許
株式会社豊田自動織機
車両
22日前
株式会社豊田自動織機
耐熱部材
20日前
株式会社豊田自動織機
冷却装置
2日前
株式会社豊田自動織機
流体機械
14日前
株式会社豊田自動織機
流体機械
14日前
株式会社豊田自動織機
産業車両
20日前
株式会社豊田自動織機
希釈装置
1か月前
株式会社豊田自動織機
流体機械
26日前
株式会社豊田自動織機
制御装置
5日前
株式会社豊田自動織機
監視装置
2日前
株式会社豊田自動織機
燃料噴射弁
6日前
株式会社豊田自動織機
車両用機器
2日前
株式会社豊田自動織機
電動圧縮機
22日前
株式会社豊田自動織機
電動圧縮機
22日前
株式会社豊田自動織機
電動圧縮機
22日前
株式会社豊田自動織機
自律走行車
1か月前
株式会社豊田自動織機
電動圧縮機
1か月前
株式会社豊田自動織機
電動圧縮機
1か月前
株式会社豊田自動織機
電力変換装置
13日前
株式会社豊田自動織機
インバータ装置
2日前
株式会社豊田自動織機
インバータ装置
21日前
株式会社豊田自動織機
流体圧シリンダ
26日前
株式会社豊田自動織機
フォークリフト
13日前
株式会社豊田自動織機
燃料電池ユニット
23日前
株式会社豊田自動織機
燃料電池ユニット
23日前
株式会社豊田自動織機
燃料電池ユニット
1か月前
株式会社豊田自動織機
走行制御システム
14日前
株式会社豊田自動織機
シートベルト装置
13日前
株式会社豊田自動織機
燃料電池システム
1か月前
株式会社豊田自動織機
燃料電池システム
2日前
株式会社豊田自動織機
燃料電池システム
2日前
株式会社豊田自動織機
パレット検知装置
今日
株式会社豊田自動織機
燃料電池システム
2日前
株式会社豊田自動織機
蓄電装置の製造方法
12日前
株式会社豊田自動織機
燃料電池モジュール
2日前
株式会社豊田自動織機
燃料電池モジュール
23日前
続きを見る
他の特許を見る