TOP
|
特許
|
意匠
|
商標
特許ウォッチ
Twitter
他の特許を見る
10個以上の画像は省略されています。
公開番号
2025128646
公報種別
公開特許公報(A)
公開日
2025-09-03
出願番号
2024025435
出願日
2024-02-22
発明の名称
継手構造
出願人
株式会社NejiLaw
代理人
主分類
E04C
5/18 20060101AFI20250827BHJP(建築物)
要約
【課題】
鉄筋の径方向及び周方向へのスムーズな相対移動を許容し且つ鉄筋同士の連結性が向上し且つ引抜き強度を向上する手段を提供する。
【解決手段】
鉄筋を軸方向に沿って挿通可能な挿通孔を有し、内周を前記鉄筋の軸方向に列設されて径方向外向きに突出する節部に係合させて前記鉄筋を接続する継手構造であって、前記内周には、前記節部を嵌合可能に凹設される少なくとも一種以上の凹状部と、前記凹状部に周方向に隣接する大径面と、を有し、前記鉄筋の挿入状態において、前記大径面と前記鉄筋の最外径部との間に径方向且つ周方向に亘って設定される案内空間部が形成され、前記案内空間部により、前記鉄筋の径方向及び周方向の相対移動を許容することを特徴とする継手構造。
【選択図】図6
特許請求の範囲
【請求項1】
鉄筋を軸方向に沿って挿通可能な挿通孔を有し、内周を前記鉄筋の軸方向に列設されて径方向外向きに突出する節部に係合させて前記鉄筋を接続する継手構造であって、
前記内周には、前記節部を嵌合可能に凹設される少なくとも一種以上の凹状部と、
前記凹状部に周方向に隣接する大径面と、を有し、
前記鉄筋の挿入状態において、前記大径面と前記鉄筋の最外径部との間に径方向且つ周方向に亘って設定される案内空間部が形成され、前記案内空間部により、前記鉄筋の径方向及び周方向の相対移動を許容することを特徴とする継手構造。
続きを表示(約 1,300 文字)
【請求項2】
前記案内空間部は、前記大径面における半径長をr
d1
とし、前記鉄筋の節部の最外径部における半径をr
lmax
とした場合、r
d1
>r
lmax
の関係を満たすことを特徴とする請求項1記載の継手構造。
【請求項3】
前記鉄筋の節部の周方向端部に縮径面が接続されており、
前記鉄筋の節部の半径をr
l
とし、前記縮径面の半径をr
s
とした場合、前記節部において、r
lmax
≧r
l
の関係を満たし、且つ縮径面において、r
lmax
≧r
s
の関係を満たすことを特徴とする請求項2記載の継手構造。
【請求項4】
前記案内空間部は、前記鉄筋の周方向の相対移動として、前記鉄筋の一方向の回動を所定角度許容することを特徴とする請求項1記載の継手構造。
【請求項5】
前記案内空間部は、前記鉄筋の周方向の相対移動として、前記鉄筋の他方向の回動を所定角度許容することを特徴とする請求項4記載の継手構造
【請求項6】
前記一方向の回動を許容する所定角度は、前記他方向の回動を許容する所定角度より大きいことを特徴とする請求項5記載の継手構造。
【請求項7】
軸方向から平面視したとき、前記大径面の略中央部と軸心とを通る仮想線を基準線として、前記大径面の周方向形状は、前記基準線を境界とし前記鉄筋との係合回転方向側と反係合方向側とで、異なる形状が形成されていることを特徴とする請求項1記載の継手構造。
【請求項8】
前記大径面の周方向形状は、前記係合回転方向側において、前記大径面の半径をr
d1
とする円弧形状が形成されており、
前記半径は、r
d1
>r
lmax
の関係を満たすことを特徴とする請求項7記載の継手構造。
【請求項9】
前記大径面の周方向形状は、前記境界が位置する箇所における大径面の半径をr
d0
とし、前記反係合回転側において、回転方向に沿って、少なくとも前記大径面の半径をr
d2
とする円弧形状が形成されており、
前記半径は、r
d2
≦r
lmax
<r
d0
の関係を満たすことを特徴とする請求項7記載の継手構造。
【請求項10】
前記大径面の周方向形状は、前記反係合方向側において、前記境界から回転方向に沿って、順に少なくとも前記大径面の半径をr
d2
、r
d3
とする円弧形状が形成されており、
前記半径は、r
d3
≦r
lmax
<r
d2
の関係を満たすことを特徴とする請求項7記載の継手構造。
(【請求項11】以降は省略されています)
発明の詳細な説明
【技術分野】
【0001】
本発明は、継手構造に関するものである。
続きを表示(約 2,300 文字)
【背景技術】
【0002】
従来、鉄筋コンクリート製の構造物を構築する際には、コンクリートに埋設する棒状体の鉄筋を長尺にする必要が生じるが、鉄筋の長さは輸送上の制約等から制限があり、長尺化する為に現場で接合していた。鉄筋の接合には筒状体の継手が用いられ、継手の両端開口に鉄筋を挿入することで、鉄筋を連結している(例えば、特許文献1参照)。
また、両端部に差し込んだ二本の鉄筋にそれぞれ係合し得る凹凸を内周面に具える鉄筋継手が開示されている(例えば、特許文献2参照)。このような鉄筋継手は、両端部に鉄筋を差し込んで、鉄筋に対して所定方向に相対回転させることで、各鉄筋に対して軸方向に係合して鉄筋同士を連結することができる。
【先行技術文献】
【特許文献】
【0003】
特開2018-178365号公報
特開2021-107675号公報
【発明の概要】
【発明が解決しようとする課題】
【0004】
上述した特許文献1に記載された継手は、鉄筋を遊嵌している鉄筋収容部の内部にグラウトの充填を行う必要があるので、工事現場でのグラウト運搬や混練等の作業が発生して作業負担が大きくなってしまう。また、鉄筋収容部に鉄筋を遊嵌した状態で継手の長手方向の中央部に設けられた注入孔からグラウトの充填を行っているが、充填時に継手の長手方向の両端の開口からグラウトが漏出して満充させることが出来ないことから、継手の両端にはナットを締め付けて継手の両端開口を閉塞する必要がある。これらの事柄から所要部品数や作業の手間が増えてしまうという課題や継手に挿入される両鉄筋同士の軸心を揃えることに手間が掛かってしまうことなど、多くの課題がある。
また、上述した特許文献2に記載された鉄筋継手を用いる場合、鉄筋継手の内周面と鉄筋の大径面とが干渉しないように軸方向視における鉄筋の向き等の調整を必要とし、更に鉄筋を挿通させた後には、鉄筋継手の内周面に設けた係合凹面に鉄筋の凸部が嵌るように鉄筋の挿通深さの調整等を必要とする。
例えば、継手の挿入孔に鉄筋を挿入する際に、鉄筋の節部が継手の内周面に干渉して引っ掛かりが生じ得る。その為、継手に、スムーズに鉄筋を挿入することができない虞がある。また鉄筋を挿入孔に挿入した後も、継手を鉄筋に対して相対回転させることで固定する必要がある場合は、鉄筋に対して周方向に相対回転させる際に、鉄筋の節部が継手の内周面に干渉して引っ掛かりが生じ得る。その為、継手は、鉄筋に対してスムーズに周方向に相対回転させることができない虞がある。
また、別の課題として、鉄筋の節部は、ピッチと位相の関係を有して形成されている。これに対し長さ調整の為の鉄筋の軸方向における切断は、ピッチと位相の関係を考慮されない位置で切断される。その為、継手構造に対する軸方向の位置調整が必要となる。
【0005】
本発明は、上記問題点に鑑みて本発明者の鋭意研究により成されたものであり、簡易な構造によって、鉄筋の径方向及び周方向へのスムーズな相対移動を許容し且つ鉄筋同士の連結性が向上し且つコンクリートやモルタル、樹脂等の固化性流動体に対する埋設状態における引抜き強度を向上する手段を提供することを目的とする。
また、鉄筋が長さ調整の為に、ピッチと位相の関係を考慮されない位置で切断されたとしても、節部を所定の軸方向位置に合うように自動的に誘導することを可能とし、継手構造に対する軸方向の位置調整も不要とすることを目的とする。
【課題を解決するための手段】
【0006】
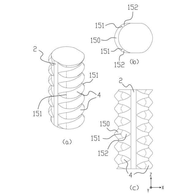
前記課題を解決するための本発明は、鉄筋を軸方向に沿って挿通可能な挿通孔を有し、内周を前記鉄筋の軸方向に列設されて径方向外向きに突出する節部に係合させて前記鉄筋を接続する継手構造であって、前記内周には、前記節部を嵌合可能に凹設される少なくとも一種以上の凹状部と、前記凹状部に周方向に隣接する大径面と、を有し、前記鉄筋の挿入状態において、前記大径面と前記鉄筋の最外径部との間に径方向且つ周方向に亘って設定される案内空間部が形成され、前記案内空間部により、前記鉄筋の径方向及び周方向の相対移動を許容することを特徴とする継手構造である。
【0007】
また、前記案内空間部は、前記大径面における半径長をr
d1
とし、前記鉄筋の節部の最外径部における半径をr
lmax
とした場合、r
d1
>r
lmax
の関係を満たすことを特徴とする。
【0008】
また、前記鉄筋の節部の周方向端部に縮径面が接続されており、前記鉄筋の節部の半径をr
l
とし、前記縮径面の半径をr
s
とした場合、前記節部においては、r
lmax
≧r
l
の関係を満たし、且つ縮径面においては、r
lmax
≧r
s
の関係を満たすことを特徴とする。
【0009】
また、前記案内空間部は、前記鉄筋の周方向の相対移動として、前記鉄筋の一方向の回動を所定角度許容することを特徴とする。
【0010】
また、前記案内空間部は、前記鉄筋の周方向の相対移動として、前記鉄筋の他方向の回動を所定角度許容することを特徴とする。
(【0011】以降は省略されています)
この特許をJ-PlatPat(特許庁公式サイト)で参照する
関連特許
個人
接合構造
7日前
個人
屋台
24日前
個人
タッチミー
6日前
個人
野良猫ハウス
1か月前
個人
フェンス
1か月前
個人
転落防止用手摺
1か月前
個人
地下型マンション
3か月前
個人
居住車両用駐車場
1か月前
ニチハ株式会社
建築板
1か月前
積水樹脂株式会社
柵体
1か月前
個人
筋交自動設定装置
14日前
個人
ベンリナアングル
6日前
個人
鋼管結合資材
3か月前
個人
熱抵抗多層断熱建材
1か月前
株式会社タナクロ
テント
3か月前
個人
柵
2か月前
個人
補強部材
1か月前
個人
身体用シェルター
14日前
個人
身体用シェルター
14日前
鹿島建設株式会社
壁体
1か月前
成友建設株式会社
建物
1か月前
個人
循環流水式屋根融雪装置
3か月前
三協立山株式会社
構造体
14日前
イワブチ株式会社
組立柱
1か月前
株式会社熊谷組
床構成材
4日前
株式会社熊谷組
吊り治具
11日前
三協立山株式会社
構造体
14日前
株式会社熊谷組
木質材料
24日前
三協立山株式会社
構造体
14日前
三協立山株式会社
構造体
14日前
三協立山株式会社
構造体
14日前
三協立山株式会社
構造体
14日前
インターマン株式会社
天井構造
2か月前
個人
可搬型供養墓
12日前
岡部株式会社
型枠緊結金具
3か月前
株式会社山水
溝形鋼
2か月前
続きを見る
他の特許を見る