TOP
|
特許
|
意匠
|
商標
特許ウォッチ
Twitter
他の特許を見る
10個以上の画像は省略されています。
公開番号
2025119057
公報種別
公開特許公報(A)
公開日
2025-08-13
出願番号
2025091071,2022516089
出願日
2025-05-30,2020-10-19
発明の名称
強化された低温性能のためのノズルアセンブリ用の流体発振器
出願人
ディエルエイチ・ボウルズ・インコーポレイテッド
,
dlhBOWLES Inc.
代理人
個人
,
個人
,
個人
主分類
F15C
1/22 20060101AFI20250805BHJP(流体圧アクチュエータ;水力学または空気力学一般)
要約
【課題】ノズルアセンブリの出口120から流体の振動スプレーを生成し、低温または高粘度を有する流体のスプレー性能を改善するように構成されたノズルアセンブリ用の流体発振器回路100が提供される。
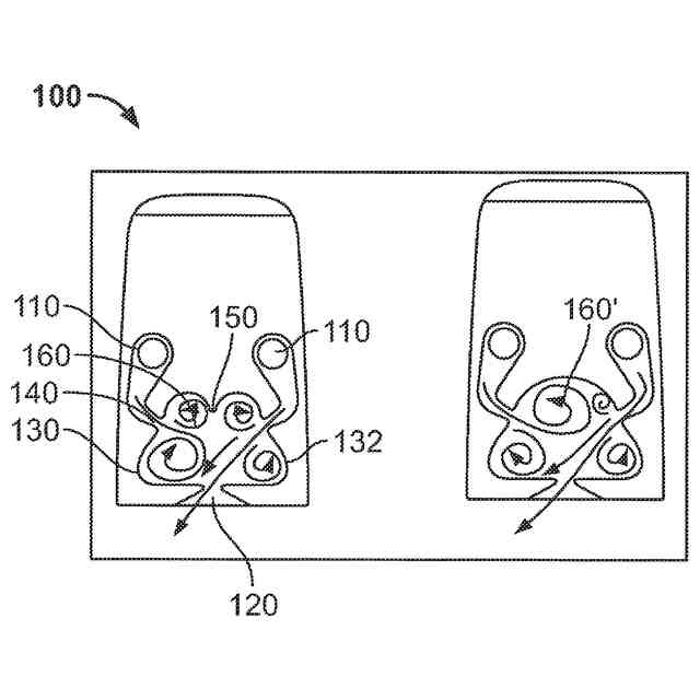
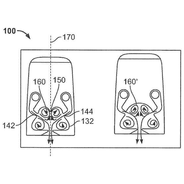
【解決手段】相互作用領域130内で渦160を生成するのを助けるように形作られた頂点突起150を含む流体発振器回路100のための相互作用領域130が提供される。あるいは、流体発振器回路の低温性能を改善するため、拡散が少ない相互作用領域での流体のジェットを生成するパワーノズルを長くする少なくとも1つの指状突起を含むパワーノズルを有する流体発振器用の相互作用領域が提供される。
【選択図】図8A-8B
特許請求の範囲
【請求項1】
ノズルアセンブリ用の流体回路であって、
平面を画定し、上流端部、下流端部、及び2つの側端部を有する回路部材と、
前記回路部材を介した流体連絡を可能にするように前記回路部材を通る少なくとも1つの入口と、
単一の出口へ供給する、妨げの無い相互作用チャンバを画定するように、前記平面上に形成された相互作用領域と、を含み、
前記相互作用領域は、前記上流端部に向き合った上流周囲壁、前記下流端部に向き合った2つの下流周囲壁部分、並びに第1の側端部に配置された第1のパワーノズル及び第2の側端部に配置された第2のパワーノズルで向き合って対向するパワーノズルによって囲まれており、
指状突起の第1及び第2の対が、前記相互作用チャンバの対向する側端部に形成され、前記指状突起の各対は、前記相互作用チャンバの中央部分に向かって内方へ延びており、それにより各パワーノズルの流路を引き延ばし、前記上流周囲壁に、及び前記2つの下流周囲壁部分のそれぞれにC字形状をもたらし、鏡像C字形状が前記単一の出口の両側で直線端部壁部分に接続され、
前記指状突起の第1の対は、前記第1のパワーノズルを画定し、前記指状突起の第2の対は、前記第2のパワーノズルを画定し、前記第1及び第2のパワーノズルのそれぞれは、前記少なくとも1つの入口に流体接続され、ジェットを前記中央部分の方へ噴出するように構成され、
前記単一の出口は、i)前記2つの下流周囲壁部分のそれぞれの対向する末端部により画定され、ii)前記下流端部に沿って配置され、
前記流体回路に供給される流体は、前記入口、前記相互作用チャンバ及び前記出口のみと接触し、それにより前記平面と一致する平面に前記単一の出口から振動ファンスプレーを分配する、流体回路。
続きを表示(約 310 文字)
【請求項2】
前記単一の出口は、非対称の構成を有し、又は前記下流端部に対してヨー角で配置されている、請求項1に記載の流体回路。
【請求項3】
前記振動ファンスプレーは、平面において少なくとも35度の幅および60度までの幅の角度を有する、請求項1に記載の流体回路。
【請求項4】
前記パワーノズルの全てが、前記入口として機能する共通のプレナムから供給される、請求項1に記載の流体回路。
【請求項5】
第1および第2の入口が設けられ、前記第1の入口が前記第1のパワーノズルのみに供給し、前記第2の入口が前記第2のパワーノズルのみに供給する、請求項4に記載の流体回路。
発明の詳細な説明
【技術分野】
【0001】
関連出願への相互参照
本出願は、2019年10月18日に出願され、「強化された低温性能のためのノズルアセンブリ用の流体発振器」と題された米国仮特許出願第62/916,869号の優先権および利益を主張し、これは参照によりその全体が組み込まれる。
続きを表示(約 3,900 文字)
【0002】
本開示は、概して、流体発振器およびノズルアセンブリ、ならびにそこから流体の振動流を生成するそれらの製造するための方法に関する。より具体的には、本開示は、通常、より高い粘度の流体に関連するより低い温度で動作することができる流体発振器に関する。
【背景技術】
【0003】
流体発振器は、液体ジェットを周期的に偏向させることによって広範囲の液体スプレーパターンを提供するそれらの能力につき、従来技術でよく知られている。ほとんどの流体発振器の動作は、機械的な可動部品を使用しない流体ジェットの周期的な偏向を特徴としている。したがって、流体発振器の利点は、それらが他のスプレー装置の信頼性および動作に悪影響を与える摩耗および引裂きの影響を受けないことである。
【0004】
流体発振器の例は、多くの特許に記載されており、例えば、米国特許第3,185,166号(HortonおよびBowles)、米国特許第3,563,462号(Bauer)、米国特許第4,052,002号(StoufferおよびBray)、米国特許第4,151,955号(Stouffer)、米国特許第4,157,161号(Bauer)、RE33,158として再発行された米国特許第4,231,519号(Stouffer)、米国特許第4,508,267号(Stouffer)、米国特許第5,035,361号(Stouffer)、米国特許第5,213,269号(Srinath)、米国特許第5,971,301号(Stouffer)、米国特許第6,186,409号(Srinath)および米国特許第6,253,782号(Raghu)が含まれる。これらの参考文献のそれぞれ、ならびに以下の本出願を通して論じられる参考文献は、それらの全体が参照により本明細書に組み込まれる。
【0005】
一部の高粘度液体(つまり、15-20センチポアズ)のスプレーの場合、図2に示されている米国特許第6,253,782号(Raghu)に開示の「マッシュルーム発振器」は、特に有用であることが見出されている。Raghuは、動作理論とその寸法特性を詳細に説明しており、長年にわたって主要な製造選択肢であり、0°Fのメタノールベースの流体で許容可能な低温性能を備えた重い端となる(heavy ended)スプレー分布を生成する。しかしながら、ノズルアセンブリが機能することが期待される温度が低下し、さらなる流体ベースが導入されているため、長年にわたって、スプレー分配と低温性能の要件が高まってきている。メタノールベースの液体は、エタノールベースまたはイソプロピルベースの液体に徐々に置き換えられている。これらの流体は、低温で、過去のメタノールベースの流体よりも大幅に高い粘度を有している。米国特許第7,267,290号および米国特許第7,472,848号に記載されているように、流体発振器回路の基本的な形状に対する小規模な改良が提案され、採用されている。どちらも、粘度の高い流体のジェットにさらなる不安定性を生じさせることを企図し、回路が強力な振動を確立するのを助ける。
【0006】
図1は、米国特許第7,267,290号の実施形態を示しており、これは、パワーノズルの供給に追加の不安定性、渦を作成するために、ドームまたはマッシュルーム構造の後ろに指状構造を組み込むことを教示している。図2は、米国特許第7,472,848号の実施形態を示しており、これはパワーノズルの出口にステップを導入し、ジェットの経路に追加の再循環または渦を導入して不安定性を生じさせる。
【0007】
これらの改善は両方とも、わずかに優れた低温性能回路を生成したが、いくつかの欠点を有している。たとえば、米国特許第7,267,290号では、回路を少し長くする必要があり、多くの場合、これは利用可能なパッケージスペース内では許容できない。また、この構成は、低流量回路の調整が難しいことがあり得る。米国特許第7,472,848号は、2つの中で最も広く採用されており、低温性能はわずかに改善されているが、分配は改善されていない。留意されるように、これらの特許は両方とも、相互作用領域の外側の回路への変更を説明している。
【0008】
しかしながら、このような液体の温度が低下し続けて粘度の上昇を引き起こすと(たとえば、25センチポアズ)、このタイプの発振器の性能は、そのスプレーが適用可能ファン角度に分散されるように本質的に十分に振動するジェットを提供しなくなるまで低下し得ることも見出されている。この状況は、そのような流体発振器を利用するフロントガラスウォッシャー用途において特に問題となる。
【0009】
従来のマッシュルーム回路の分布を改善するための相互作用領域の変更の試みは、米国特許第7,651,036号につながり、これは、図6に示す「3ジェットアイランド」回路として分類される。ここでは、さらなるジェットおよびアイランドが相互作用領域に導入され、いくつかの追加の渦と不安定性を生成する。3ジェットアイランド回路は、改善された低温性能と分布の均一性にいくらかの改善をもたらす。この回路は非常にうまく機能するが、製造上の課題がいくつか生じる。たとえば、回路の流量が低下すると、内部の小さい3番目のアイランドのサイズは非常に小さくなり、比較的壊れやすくなる。チップをスロットに押し込むことによる(図5)、流体発振器チップを組み立てるというまさにその行為が、小さなアイランド34に損傷を与えたり、それを壊したりすることがあり得る。結果として、この3ジェットアイランド回路は、追加のスクラップが意図しない結果のスプレー形状をもたらすことがあり得るため、比較的高流量のノズルにのみ確実に使用できる。さらに、第3のフローチャネルの追加は、全ての3つのフローチャネルまたはパワーノズル24を小さくして、流量を仕様に維持する必要があり、目詰まりのより高いリスクをもたらす。これは、独自の製造およびパッケージングの課題があるフィルター領域での追加の複雑さを必要とする。
流体発振器に関する多くの先行技術にもかかわらず、より低温の環境で使用するための流体発振器の設計におけるさらなる技術的改善の必要性が依然として存在する。本発明は、上記の欠点のいくつかを除外しながら、回路を改善するために実行されたさらなる研究を説明する。
【発明の概要】
【0010】
本開示は、ノズルアセンブリ用の流体発振器回路の実施形態に関する。一実施形態では、流体の流れを受け入れるように構成された少なくとも1つの入口を含む表面に画定された形状を含む流体発振器回路が提供される。相互作用領域は、少なくとも1つの入口および出口との間に配置することができ、前記相互作用領域は、周囲壁によって画定される。少なくとも1つのパワーノズルは、少なくとも1つの入口から受け入れられ、相互作用領域内を循環する流体のジェットを生成するように構成され得る。相互作用領域と連絡している出口であり得、そこから所望のスプレーパターンで流体の振動スプレーを分配するように構成され得る。頂点突起は、相互作用領域の周囲壁に沿って配置され得、周囲壁から内側に突出し得る。少なくとも1つの入口は、形状が画定されている表面の反対側との流体連絡を可能にする形状を含み得る。形状は、少なくとも1つの入口からパワーノズルまでの細長い経路をさらに含み得る。相互作用領域は、周囲壁によって画定されるドームまたはマッシュルーム形の領域を含み得る。形状は、表面に画定された第1の入口および第2の入口を含み得、第1の入口は、第1のパワーノズルと連絡し得、そして第2の入口は、第2のパワーノズルと連絡し得、第1のパワーノズルおよび第2のパワーノズルはそれぞれ、少なくとも1つの入口から受け入れられ、相互作用領域内を循環する流体のジェットを生成するように構成され、ここで頂点突起は、相互作用領域の周囲壁に沿って、第1のパワーノズルと第2のパワーノズルとの間に配置することができる。頂点突起は、第1のパワーノズルおよび第2のパワーノズルのそれぞれから等距離に配置することができる。頂点突起は、ある点で交差する相互作用領域の2つの丸みを帯びたまたは湾曲した周囲壁の交差を含むように形作られている。頂点突起は、ある点で交差する相互作用領域の2つの丸みを帯びたまたは湾曲した周囲表面の交差を含むように形作られ得、前記点は、相互作用領域に沿って配置された第1のパワーノズルおよび第2のパワーノズルから等距離である。頂点突起は、相互作用領域内の少なくとも1つのパワーノズルからの流体ジェットによって形成される複数の渦の位置を、その中の渦の幾何学的配置を制御するため方向付けまたは安定化するように構成することができ、ここで複数の渦は、低温での動作のために粘度の測定値が増加した流体によって形成された左渦および右渦を含む。第1の入口および第2の入口は、第1のパワーノズルおよび第2のパワーノズルに別々に連絡することができ、ここで第1のパワーノズルおよび第2のパワーノズルは、共通のプレナムから供給されない。出口は、非対称またはヨー角構成を含み得る。
(【0011】以降は省略されています)
この特許をJ-PlatPat(特許庁公式サイト)で参照する
関連特許
豊和工業株式会社
クランプ装置
5か月前
株式会社豊田自動織機
流体圧シリンダ
1か月前
株式会社不二越
電磁切替弁
1か月前
三和テッキ株式会社
油圧アクチュエータ
今日
株式会社コスメック
シリンダ装置
2か月前
個人
省エネ改良型油圧リバースブースター
1か月前
株式会社不二越
油圧システム
4か月前
コベルコ建機株式会社
建設機械
7か月前
日立建機株式会社
作業機械
6か月前
日立建機株式会社
作業機械
7日前
日立建機株式会社
作業機械
6日前
学校法人東海大学
流れ制御装置
5か月前
株式会社不二越
油圧駆動システム
1か月前
ナブテスコ株式会社
方向切換弁装置
4か月前
日立建機株式会社
油圧駆動装置
6か月前
住友建機株式会社
ショベルの制御方法
3か月前
学校法人 中央大学
人工筋アクチュエータ装置
2か月前
株式会社LIXIL
脈動流生成装置及び建築設備
4か月前
アズビル株式会社
パイロットリレー及びポジショナ
1か月前
ナブテスコ株式会社
ロータリーアクチュエータ
4か月前
CKD株式会社
アクチュエータの動作検出装置
4か月前
コベルコ建機株式会社
建設機械の油圧駆動装置
6か月前
カヤバ株式会社
流体圧制御装置
6か月前
カヤバ株式会社
流体圧制御装置
22日前
カヤバ株式会社
流体圧シリンダ
7か月前
日立建機株式会社
油圧システム
10日前
カヤバ株式会社
アクチュエータ
7か月前
中本パックス株式会社
気体圧装置
2か月前
株式会社クボタ
作業機及び作業機の制御方法
1日前
カヤバ株式会社
インレットハウジング
4か月前
株式会社コガネイ
圧縮空気供給装置
2か月前
カヤバ株式会社
流体圧シリンダユニット
4か月前
日立建機株式会社
分別回収システム
10日前
株式会社東和製作所
シリンダ伸縮反転用バルブユニット
1か月前
川崎重工業株式会社
液圧駆動システム、及びマルチコントロール弁
7か月前
日立建機株式会社
制御弁装置および作業機械
1か月前
続きを見る
他の特許を見る