TOP
|
特許
|
意匠
|
商標
特許ウォッチ
Twitter
他の特許を見る
公開番号
2025116522
公報種別
公開特許公報(A)
公開日
2025-08-08
出願番号
2024010995
出願日
2024-01-29
発明の名称
燃料電池システム
出願人
株式会社豊田自動織機
,
トヨタ自動車株式会社
代理人
個人
,
個人
主分類
H01M
8/04 20160101AFI20250801BHJP(基本的電気素子)
要約
【課題】レイアウトを変更することなく、排気筒におけるエアの封止性能を向上できる燃料電池システムを提供する。
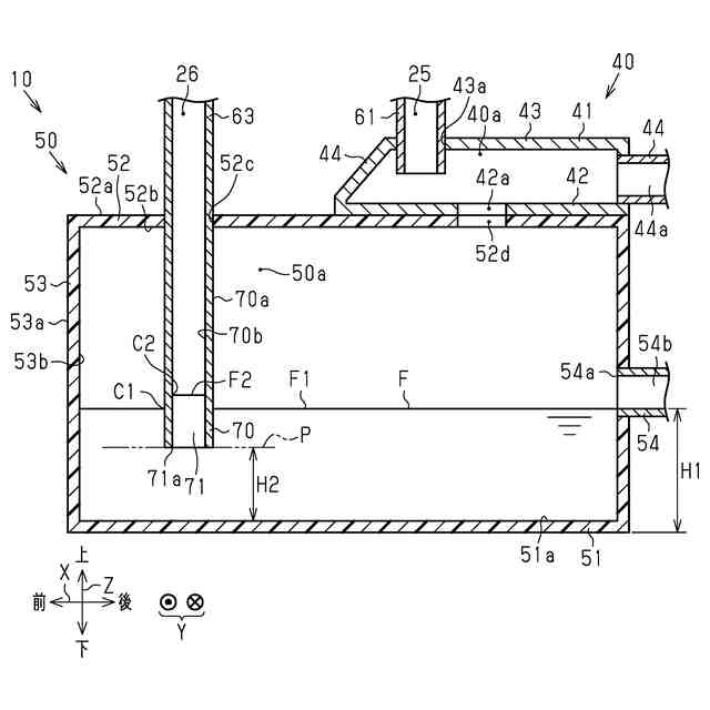
【解決手段】燃料電池システム10は、燃料電池スタックと、貯水タンク50と、カソードオフガス排気筒63と、排水口54bと、有する。貯水タンク50は、燃料電池スタックの発電に伴って生成される水を貯留する。カソードオフガス排気筒63は、排気端部70において開口する排気口71を有する。排気口71は、排水口54bよりも下方において開口している。つまり、燃料電池システム10は、貯水タンク50に貯留されている水により、排気口71を封止する。この結果、燃料電池システム10は、レイアウトの変更をすることなく、カソードオフガス排気筒63におけるエアの封止性能を向上できる。
【選択図】図3
特許請求の範囲
【請求項1】
燃料電池と、
前記燃料電池の発電に伴って生成される水を貯留する貯水タンクと、
前記燃料電池のカソードから排出されたカソードオフガスを前記貯水タンクに導入する排気筒と、を有し、
前記貯水タンクのタンク底面から上下方向に延びるタンク壁面には排水口が開口し、
前記排気筒は、
前記貯水タンクに収容される排気端部と、
前記排気端部において開口する排気口と、を有する燃料電池システムであって、
前記排気口は、前記排水口よりも下方において開口していることを特徴とする燃料電池システム。
続きを表示(約 480 文字)
【請求項2】
前記排気口の開口縁を含む仮想平面は、前記タンク底面と平行であることを特徴とする請求項1に記載の燃料電池システム。
【請求項3】
前記排気筒は、金属製であることを特徴とする請求項1又は請求項2に記載の燃料電池システム。
【請求項4】
前記燃料電池により生成される水及びアノードオフガスが流入するとともに、前記アノードオフガスを希釈する希釈器を有し、
前記貯水タンクは、前記希釈器と一体化されるとともに、前記希釈器から排水される水を貯留することを特徴とする請求項1又は請求項2に記載の燃料電池システム。
【請求項5】
前記タンク底面は、
前記上下方向において前記排気端部と並ぶ第1底面と、
前記タンク底面のうち前記第1底面と前記上下方向に異なる面である第2底面と、を有し、
前記第1底面は、前記第2底面よりも前記上下方向において下方にあり、
前記第2底面は、前記排気口よりも上方にあることを特徴とする請求項1又は請求項2に記載の燃料電池システム。
発明の詳細な説明
【技術分野】
【0001】
本発明は、燃料電池システムに関する。
続きを表示(約 2,200 文字)
【背景技術】
【0002】
従来、燃料電池システムは、燃料電池を有する。燃料電池は、燃料電池に接続された負荷に供給する電力を発電する。燃料電池は、アノードに供給される水素と、カソードに供給される酸素と、を化学反応させることにより発電する。燃料電池は、水素と酸素とが化学反応することにより水を生成する。
【0003】
燃料電池システムは、排気筒と貯水タンクとを有する。排気筒は、燃料電池のカソードと貯水タンクとを接続するとともに、貯水タンクの内部に向けて開口する排気口を有する。排気筒は、燃料電池から排出されるカソード排気とともに、燃料電池で生成された水を貯水タンクへと導入する。貯水タンクへと導入された水は、貯水タンクが備える排水口により、貯水タンクの外部に排出される。
【0004】
例えば、特許文献1で開示されている貯水タンクである燃料電池水タンクは、排気筒である第1通気管と、第2通気管と、を備えている。第1通気管は、微量の水分を含むカソード排気を、貯水タンクの内部に導入する。第1通気管は、燃料電池におけるカソードである酸化剤極と、貯水タンクに貯留された水の液面より鉛直上側にある気相空間と、を連通している。第2通気管は、気相空間に連通して、気相空間内のカソード排気を排気する。
【先行技術文献】
【特許文献】
【0005】
特開2020-135944号公報
【発明の概要】
【発明が解決しようとする課題】
【0006】
燃料電池によるカソード排気がない状況において、排気筒を逆流するエアが燃料電池のカソードに流入することにより、燃料電池が劣化する虞がある。燃料電池システムにおいては、レイアウトの変更を伴うことなく、排気筒におけるエアの封止性能を向上させることが望まれている。
【課題を解決するための手段】
【0007】
上記課題を解決するための燃料電池システムは、燃料電池と、前記燃料電池の発電に伴って生成される水を貯留する貯水タンクと、前記燃料電池のカソードから排出されたカソードオフガスを前記貯水タンクに導入する排気筒と、を有し、前記貯水タンクのタンク底面から上下方向に延びるタンク壁面には排水口が開口し、前記排気筒は、前記貯水タンクに収容される排気端部と、前記排気端部において開口する排気口と、を有する燃料電池システムであって、前記排気口は、前記排水口よりも下方において開口していることを要旨とする。
【0008】
貯水タンクに貯留された生成水は排水口から、排水口の高さを超える分量の水を定期的に排出する。貯水タンク内の水面が排水口の下端に到達する高さとなるまで水が貯留されている状況において、排気口は、水中において開口している。つまり、貯水タンクに貯留されている水は、排気口を封止している。これにより、燃料電池システムは、貯水タンク内から排気筒にエアが流入することを抑制できる。この結果、上記の構成は、燃料電池システムのレイアウトを変更することなく、排気筒におけるエアの封止性能を向上できる。
【0009】
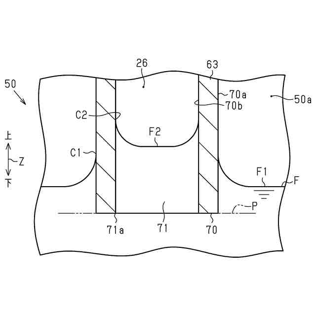
上記燃料電池システムにおいて、前記排気口の開口縁を含む仮想平面は、前記タンク底面と平行であってもよい。
これによれば、排気口は、貯水タンク内において、仮想平面が水面と平行となる方向に開口している。貯水タンク内の水面が排水口より下方にある場合において、貯水タンク内の水が排気口を封止するためには、水面の高さが、排気口の開口縁のうち最もタンク底面から離れている部分よりも高くなければならない。つまり、貯水タンク内における排気筒の上下方向の長さが同じ場合、仮想平面が水面と直交する方向に開口する排気筒は、水面と直交していない方向に開口する排気筒と比べて、エアを封止するために要求される水面の高さが低くなる。さらに、排気口が水面と直交する方向に開口している場合、排気口の開口縁と水面とが接する状況においても、貯水タンク内の水は、排気筒に流入するエアを封止できる。この結果、燃料電池システムは、排気口が水面と平行でない方向に開口している場合に比べて、少ない量の水で排気筒に流入するエアを封止できる。
【0010】
上記燃料電池システムにおいて、前記排気筒は、金属製であってもよい。
排気口が、貯水タンク内の水面より下方で開口している場合、排気筒の外部における水面は、排気筒の外面と接する位置において最も高くなる。言い換えると、貯水タンク内における水面は、排気筒の外面と接する箇所において最も高くなるように傾く。また、この場合、排気筒の内部における水面は、排気筒の内面と接する位置において最も高くなる。言い換えると、貯水タンク内における水面は、排気筒の内面と接する箇所において最も高くなるように傾く。排気筒の外面及び内面の各々における水面の上昇は、排気筒に流入するエアを封止する。排気筒が金属製である場合、排気筒の内面及び外面の各々と接する箇所における水面は、例えば排気筒が合成樹脂製である場合と比較して、より高く上昇する。つまり、排気筒が金属製である場合、例えば排気筒が合成樹脂製である場合と比較して、排気筒の周囲における水面が上昇するため、排気筒に流入するエアをより確実に封止できる。
(【0011】以降は省略されています)
特許ウォッチbot のツイートを見る
この特許をJ-PlatPat(特許庁公式サイト)で参照する
関連特許
株式会社豊田自動織機
解繊機
4日前
株式会社豊田自動織機
産業車両
6日前
株式会社豊田自動織機
車両用灯具
6日前
株式会社豊田自動織機
排気浄化装置
5日前
株式会社豊田自動織機
車両上部構造
6日前
株式会社豊田自動織機
障害物検出装置
4日前
株式会社豊田自動織機
蓄電モジュール製造方法
今日
株式会社豊田自動織機
コア設計装置、及びコア設計方法
6日前
株式会社豊田自動織機
蓄電装置の製造方法及び蓄電装置
11日前
株式会社豊田自動織機
電子制御装置および電子制御装置の起動方法
6日前
株式会社豊田自動織機
物流システムの物品配置システムおよび倉庫システム
5日前
株式会社豊田自動織機
内燃機関の制御装置および内燃機関の失火異常検出方法
4日前
株式会社豊田中央研究所
二酸化炭素回収システム
今日
APB株式会社
蓄電セル
1か月前
東ソー株式会社
絶縁電線
1か月前
日機装株式会社
加圧装置
4日前
株式会社東芝
端子台
1か月前
ローム株式会社
半導体装置
1か月前
日新イオン機器株式会社
イオン源
4日前
マクセル株式会社
電源装置
1か月前
株式会社GSユアサ
蓄電装置
19日前
株式会社GSユアサ
蓄電装置
1か月前
株式会社ホロン
冷陰極電子源
1か月前
富士電機株式会社
電磁接触器
19日前
株式会社GSユアサ
蓄電装置
1か月前
三菱電機株式会社
回路遮断器
27日前
株式会社GSユアサ
蓄電装置
1か月前
日本特殊陶業株式会社
保持装置
1か月前
日新イオン機器株式会社
基板処理装置
1か月前
ホシデン株式会社
複合コネクタ
13日前
トヨタ自動車株式会社
バッテリ
1か月前
日本特殊陶業株式会社
保持装置
1か月前
トヨタ自動車株式会社
蓄電装置
11日前
北道電設株式会社
配電具カバー
1か月前
株式会社トクミ
ケーブル
5日前
トヨタ自動車株式会社
冷却構造
1か月前
続きを見る
他の特許を見る