TOP
|
特許
|
意匠
|
商標
特許ウォッチ
Twitter
他の特許を見る
10個以上の画像は省略されています。
公開番号
2025062465
公報種別
公開特許公報(A)
公開日
2025-04-14
出願番号
2023171566
出願日
2023-10-02
発明の名称
シール構造体
出願人
日本航空電子工業株式会社
代理人
個人
主分類
H02G
15/013 20060101AFI20250407BHJP(電力の発電,変換,配電)
要約
【課題】高温スチームによるブッシングの封止機能の劣化を防止可能なシール構造体を提供すること。
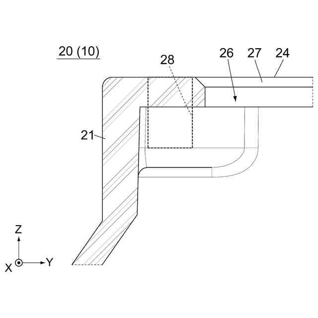
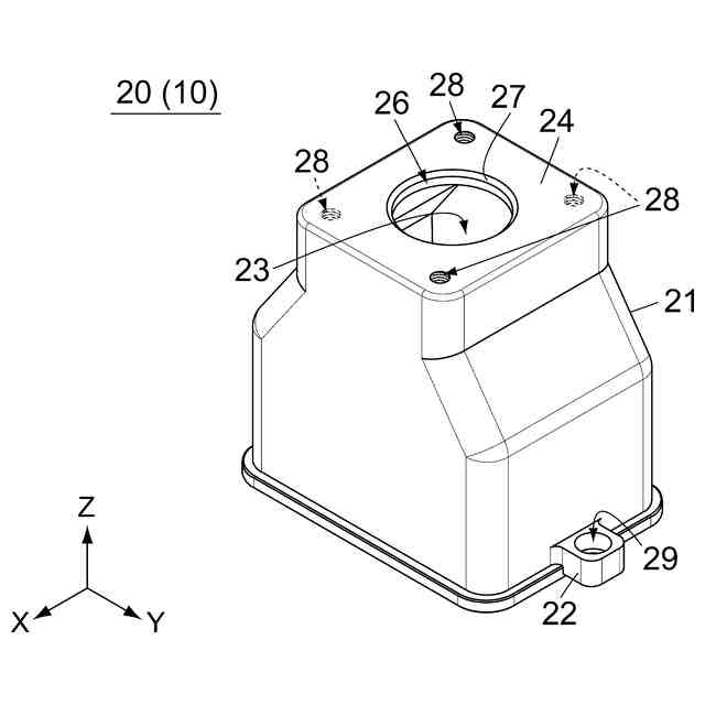
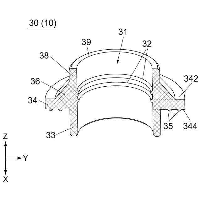
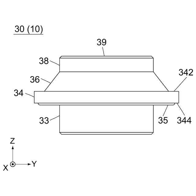
【解決手段】シール構造体10は、フード20と弾性体からなるブッシング30とホルダー40とを備えている。フード20は取付部24を有している。ブッシング30はフランジ34とテーパ部36とを有している。ホルダー40は、被取付部46とカバー部49とを有している。ケーブル60がシール構造体10の内部を上下方向に通過した状態において、ブッシング30をホルダー40の内部に受容させ、被取付部46を取付部24に対向させ、ホルダー40をフード20に固定すると、シール構造体10は、組立状態になり、ブッシング30は、弾性変形して、ホルダー40、フード20及びケーブル60に押し付けられる。このとき、ホルダー40のカバー部49は、水平面においてケーブル60を囲んでおり、ブッシング30の上端49を上方から覆っている。
【選択図】図22
特許請求の範囲
【請求項1】
ケーブルに取り付けられるシール構造体であって、
フードと、ブッシングと、ホルダーとを備えており、
前記フードは、取付部を有しており、
前記取付部には、導入孔が形成されており、
前記導入孔は、前記取付部を上下方向に貫通しており、
前記ブッシングは、弾性体からなり、フランジと、テーパ部とを有しており、
前記フランジは、上面と、下面とを有しており、
前記テーパ部は、前記フランジから上方に向かって先細りつつ延びており、
前記ブッシングには、保持孔が形成されており、
前記保持孔は、前記ブッシングを前記上下方向に貫通しており、
前記ホルダーは、被取付部と、第1加圧部と、第2加圧部と、カバー部とを有しており、
前記ホルダーには、キャビティと、通過孔とが形成されており、
前記通過孔は、前記カバー部を前記上下方向に貫通しており、前記キャビティに連通しており、
前記第1加圧部及び前記第2加圧部は、前記キャビティの内面に設けられており、
前記ケーブルが前記ホルダーの通過孔、前記ブッシングの前記保持孔及び前記フードの導入孔を通過した状態で、前記ブッシングを前記ホルダーの前記キャビティに受容させ、前記ホルダーの前記被取付部を前記上下方向において前記フードの前記取付部に対向させると、前記シール構造体は、組立途中状態になり、
前記組立途中状態における前記ホルダーを前記フードに固定すると、前記シール構造体は、組立状態になり、
前記組立状態において、前記ホルダーの前記第1加圧部は、前記ブッシングの前記フランジの前記上面に押し付けられ、前記フランジの前記下面は、前記フードの前記取付部に押し付けられ、前記ホルダーの前記第2加圧部は、前記ブッシングの前記テーパ部に押し付けられ、前記ブッシングの前記保持孔の内壁は、前記ケーブルに押し付けられ、
前記組立状態における前記ホルダーの前記カバー部は、前記上下方向と直交する水平面において前記ケーブルを囲んでおり、前記ブッシングの上端を上方から覆っている
シール構造体。
続きを表示(約 1,000 文字)
【請求項2】
請求項1記載のシール構造体であって、
前記ブッシングは、上側筒状部を有しており、
前記上側筒状部は、前記テーパ部から上方に延びており、
前記ホルダーの前記キャビティは、受容部を有しており、
前記上側筒状部は、前記組立状態において、前記受容部に受容される
シール構造体。
【請求項3】
請求項2記載のシール構造体であって、
前記組立途中状態において、前記ホルダーの前記カバー部と前記ブッシングの前記上側筒状部との間には、前記上下方向における隙間が形成される
シール構造体。
【請求項4】
請求項2又は請求項3記載のシール構造体であって、
前記組立状態において、前記上側筒状部は、前記カバー部と接触する
シール構造体。
【請求項5】
請求項1記載のシール構造体であって、
前記ブッシングは、下側筒状部を有しており、
前記下側筒状部は、前記フランジから下方に延びており、
前記下側筒状部は、前記組立状態において、前記フードの前記導入孔に受容される
シール構造体。
【請求項6】
請求項5記載のシール構造体であって、
前記フードの前記導入孔の上側の縁には、面取り部が設けられている
シール構造体。
【請求項7】
請求項1記載のシール構造体であって、
前記ブッシングの前記フランジの下面には、リブが設けられており、
前記リブは、環形状を有しており、下方に突出しており、
前記フードの前記取付部には、ネジ穴が形成されており、
前記組立途中状態における前記ホルダーは、ネジを前記ネジ穴にネジ込むことで前記フードに固定され、
前記リブは、前記組立状態において、前記取付部のうち前記水平面において前記ネジ穴と前記導入孔との間に位置する部位に押し付けられる
シール構造体。
【請求項8】
請求項1記載のシール構造体であって、
前記ブッシングの前記保持孔の前記内壁には、内部リブが設けられており、
前記内部リブは、前記上下方向において前記テーパ部に対応する位置にあり、前記水平面の内側に突出しており、
前記内部リブは、前記組立状態において、前記ケーブルに押し付けられる
シール構造体。
発明の詳細な説明
【技術分野】
【0001】
本発明は、ケーブルに取り付けられるシール構造体に関する。
続きを表示(約 2,100 文字)
【背景技術】
【0002】
例えば、特許文献1には、このタイプのシール構造体が開示されている。
【0003】
図23を参照すると、特許文献1のシールアセンブリ(シール構造体)90は、ケーブル99に取り付けられる。詳しくは、シール構造体90は、ハウジング(フード)92と、ゴム封止スリーブ(ブッシング)94と、金属封止カバー(ホルダー)96と、プラスチックブッシング98とを備えている。ケーブル99の端部は、ブッシング94に形成された孔に嵌入されている。上述のようにケーブル99を保持したブッシング94は、フード92に形成された孔に挿入され、フード92に取り付けたホルダー96によって、プラスチックブッシング98を介して締め付けられる。この結果、ブッシング94は、弾性変形し、ケーブル99の端部は、フード92の内部に受容され封止される。ケーブル99は、シール構造体90を介して機器(図示せず)に接続され、シール構造体90は、防水機能及び異物侵入防止機能等の封止機能を提供する。
【先行技術文献】
【特許文献】
【0004】
特開2018-102114号公報
【発明の概要】
【発明が解決しようとする課題】
【0005】
例えば、食品を扱う工場においてシール構造体を使用する場合、シール構造体は、高温スチームで消毒されることがある。特許文献1のような従来技術によれば、高温スチームによってブッシングの封止機能が劣化するおそれがある。
【0006】
そこで、本発明は、高温スチームによるブッシングの封止機能の劣化を防止可能なシール構造体を提供することを目的とする。
【課題を解決するための手段】
【0007】
本発明は、第1のシール構造体として、
ケーブルに取り付けられるシール構造体であって、
フードと、ブッシングと、ホルダーとを備えており、
前記フードは、取付部を有しており、
前記取付部には、導入孔が形成されており、
前記導入孔は、前記取付部を上下方向に貫通しており、
前記ブッシングは、弾性体からなり、フランジと、テーパ部とを有しており、
前記フランジは、上面と、下面とを有しており、
前記テーパ部は、前記フランジから上方に向かって先細りつつ延びており、
前記ブッシングには、保持孔が形成されており、
前記保持孔は、前記ブッシングを前記上下方向に貫通しており、
前記ホルダーは、被取付部と、第1加圧部と、第2加圧部と、カバー部とを有しており、
前記ホルダーには、キャビティと、通過孔とが形成されており、
前記通過孔は、前記カバー部を前記上下方向に貫通しており、前記キャビティに連通しており、
前記第1加圧部及び前記第2加圧部は、前記キャビティの内面に設けられており、
前記ケーブルが前記ホルダーの通過孔、前記ブッシングの前記保持孔及び前記フードの導入孔を通過した状態で、前記ブッシングを前記ホルダーの前記キャビティに受容させ、前記ホルダーの前記被取付部を前記上下方向において前記フードの前記取付部に対向させると、前記シール構造体は、組立途中状態になり、
前記組立途中状態における前記ホルダーを前記フードに固定すると、前記シール構造体は、組立状態になり、
前記組立状態において、前記ホルダーの前記第1加圧部は、前記ブッシングの前記フランジの前記上面に押し付けられ、前記フランジの前記下面は、前記フードの前記取付部に押し付けられ、前記ホルダーの前記第2加圧部は、前記ブッシングの前記テーパ部に押し付けられ、前記ブッシングの前記保持孔の内壁は、前記ケーブルに押し付けられ、
前記組立状態における前記ホルダーの前記カバー部は、前記上下方向と直交する水平面において前記ケーブルを囲んでおり、前記ブッシングの上端を上方から覆っている
シール構造体を提供する。
【0008】
本発明は、第2のシール構造体として、第1のシール構造体であって、
前記ブッシングは、上側筒状部を有しており、
前記上側筒状部は、前記テーパ部から上方に延びており、
前記ホルダーの前記キャビティは、受容部を有しており、
前記上側筒状部は、前記組立状態において、前記受容部に受容される
シール構造体を提供する。
【0009】
本発明は、第3のシール構造体として、第2のシール構造体であって、
前記組立途中状態において、前記ホルダーの前記カバー部と前記ブッシングの前記上側筒状部との間には、前記上下方向における隙間が形成される
シール構造体を提供する。
【0010】
本発明は、第4のシール構造体として、第2又は第3のシール構造体であって、
前記組立状態において、前記上側筒状部は、前記カバー部と接触する
シール構造体を提供する。
(【0011】以降は省略されています)
この特許をJ-PlatPat(特許庁公式サイト)で参照する
関連特許
個人
単極モータ
1か月前
個人
電気を重力で発電装置
14日前
個人
高圧電気機器の開閉器
1日前
キヤノン電子株式会社
モータ
21日前
キヤノン電子株式会社
モータ
13日前
日星電気株式会社
ケーブル組立体
29日前
コーセル株式会社
電源装置
22日前
トヨタ自動車株式会社
モータ
13日前
株式会社アイドゥス企画
減反モータ
1日前
株式会社デンソー
回転機
1か月前
株式会社kaisei
発電システム
1か月前
個人
二次電池繰返パルス放電器用印刷基板
27日前
株式会社ミツバ
回転電機
1か月前
株式会社デンソー
電力変換装置
1か月前
株式会社デンソー
電力変換装置
28日前
トヨタ自動車株式会社
固定子の加熱装置
24日前
矢崎総業株式会社
電源回路
今日
株式会社デンソー
非接触受電装置
1か月前
株式会社ダイヘン
インバータ装置
1か月前
矢崎総業株式会社
ワイヤーハーネス
1か月前
日産自動車株式会社
ロータシャフト
8日前
日産自動車株式会社
ロータシャフト
8日前
ローム株式会社
モータドライバ回路
8日前
トヨタ自動車株式会社
ステータの製造装置
14日前
個人
非対称鏡像力を有する4層PWB電荷搬送体
8日前
山洋電気株式会社
モータ
27日前
株式会社マキタ
電動作業機
21日前
株式会社アイシン
電力変換装置
13日前
京商株式会社
模型用非接触電力供給システム
1日前
トヨタ自動車株式会社
可変界磁ロータ
16日前
株式会社TMEIC
電力変換装置
1か月前
株式会社デンソー
ステータ及びモータ
1か月前
トヨタ紡織株式会社
ロータの製造装置
22日前
個人
電線盗難防止方法及び電線盗難防止装置
21日前
株式会社明治ゴム化成
ワイヤレス給電用部品
23日前
ニデック株式会社
回転電機
13日前
続きを見る
他の特許を見る