TOP
|
特許
|
意匠
|
商標
特許ウォッチ
Twitter
他の特許を見る
10個以上の画像は省略されています。
公開番号
2025044004
公報種別
公開特許公報(A)
公開日
2025-04-01
出願番号
2023151655
出願日
2023-09-19
発明の名称
電解装置、電解システム、および電解装置の運転方法
出願人
株式会社東芝
代理人
弁理士法人サクラ国際特許事務所
主分類
C25B
9/77 20210101AFI20250325BHJP(電気分解または電気泳動方法;そのための装置)
要約
【課題】電解装置の電解反応における不要な電流の消費を抑制する。
【解決手段】電解装置は、還元対象物を還元し、酸化対象物を酸化する第1の電解セルと、還元対象物を還元し、酸化対象物を酸化する第2の電解セルと、第1の電解セルおよび第2の電解セルに還元対象物の気体を含む第1の流体を供給する、第1の供給源と、第1の電解セルおよび第2の電解セルに酸化対象物の液体を含む第2の流体を供給する、第2の供給源と、第1の電解セルに第1の電源電流を供給し、第2の電解セルに第2の電源電流を供給する、少なくとも一つの電源と、を具備する。少なくとも一つの電源は、還元対象物を還元するときに第2の電解セルを流れる電流の電流密度が還元対象物を還元するときに第1の電解セルを流れる電流の電流密度よりも高くなるように第1の電源電流の値および第2の電源電流の値を設定する。
【選択図】図1
特許請求の範囲
【請求項1】
還元対象物を還元し、酸化対象物を酸化する第1の電解セルと、
前記還元対象物を還元し、前記酸化対象物を酸化する第2の電解セルと、
前記第1の電解セルおよび前記第2の電解セルに前記還元対象物の気体を含む第1の流体を供給する、第1の供給源と、
前記第1の電解セルおよび前記第2の電解セルに前記酸化対象物の液体を含む第2の流体を供給する、第2の供給源と、
前記第1の電解セルに第1の電源電流を供給し、前記第2の電解セルに第2の電源電流を供給する、少なくとも一つの電源と、
を具備し、
前記少なくとも一つの電源は、前記還元対象物を還元するときに前記第2の電解セルを流れる電流の電流密度が前記還元対象物を還元するときに前記第1の電解セルを流れる電流の電流密度よりも高くなるように前記第1の電源電流の値および前記第2の電源電流の値を設定する、
電解装置。
続きを表示(約 1,500 文字)
【請求項2】
前記第1の電解セルは、
第1のカソードと、第1のアノードと、前記第1のカソードと前記第1のアノードとの間の第1の隔膜と、を有する第1の膜電極接合体と、
前記第1のカソードに面する第1のカソード流路を有する第1のカソード流路板と、
前記第1のアノードに面する第1のアノード流路を有する第1のアノード流路板と、
を有し、
前記第2の電解セルは、
第2のカソードと、第2のアノードと、前記第2のカソードと前記第2のアノードとの間の第2の隔膜と、を有する第2の膜電極接合体と、
前記第2のカソードに面する第2のカソード流路を有する第2のカソード流路板と、
前記第2のアノードに面する第2のアノード流路を有する第2のアノード流路板と、
を有し、
前記電解装置は、
前記第1のカソードおよび前記少なくとも一つの電源に電気的に接続された第1のカソード集電体と、
前記第1のアノードおよび前記少なくとも一つの電源に電気的に接続された第1のアノード集電体と、
前記第2のカソードおよび前記少なくとも一つの電源に電気的に接続された第2のカソード集電体と、
前記第2のアノードおよび前記少なくとも一つの電源に電気的に接続された第2のアノード集電体と、
をさらに具備する、
請求項1に記載の電解装置。
【請求項3】
前記第2のカソード流路は、前記第1のカソード流路に直列に接続される、
請求項2に記載の電解装置。
【請求項4】
前記第2のカソード流路は、前記第1のカソード流路に並列に接続される、
請求項2に記載の電解装置。
【請求項5】
前記少なくとも一つの電源は、
前記第1の電源電流を前記第1のカソード集電体および前記第1のアノード集電体を介して前記第1の電解セルに供給し、前記第2の電源電流を前記第2のカソード集電体および前記第2のアノード集電体を介して前記第2の電解セルに供給する、電源を含み、
前記第1のカソード集電体、前記第1のアノード集電体、前記第2のカソード集電体、および前記第2のアノード集電体は、前記電源に電気的に接続される、
請求項2に記載の電解装置。
【請求項6】
前記少なくとも一つの電源は、
前記第1の電源電流を前記第1のカソード集電体および前記第1のアノード集電体を介して前記第1の電解セルに供給する第1の電源と、
前記第2の電源電流を前記第2のカソード集電体および前記第2のアノード集電体を介して前記第2の電解セルに供給する第2の電源と、
を含む、
請求項2に記載の電解装置。
【請求項7】
前記第1の流体は、第1の気体と、第2の気体と、を含み、
前記第1の気体は、二酸化炭素のガスであり、
前記第2の気体は、前記二酸化炭素と異なる物質のガスであり、
前記第1の電解セルおよび前記第2の電解セルは、前記二酸化炭素を還元するとともに前記物質を還元し、
前記二酸化炭素の還元電位は、前記物質の還元電位よりも高い、
請求項1に記載の電解装置。
【請求項8】
前記物質は、酸素である、
請求項7に記載の電解装置。
【請求項9】
前記物質は、窒素である、
請求項7に記載の電解装置。
【請求項10】
前記第1の流体の前記第2の気体の濃度は、1ppm以上100000ppm以下である、
請求項7に記載の電解装置。
(【請求項11】以降は省略されています)
発明の詳細な説明
【技術分野】
【0001】
本発明の実施形態は、電解装置および電解システムに関する。
続きを表示(約 2,200 文字)
【背景技術】
【0002】
近年、エネルギー問題と環境問題の両方の観点から、太陽光発電などの再生可能エネルギーを電気エネルギーに変換して利用するだけでなく、それを貯蔵し且つ運搬可能な状態に変換することが望まれている。この要望に対して、植物による光合成のように太陽光を用いて化学物質を生成する人工光合成技術の研究開発が進められている。この技術により、再生可能エネルギーを貯蔵可能な燃料として貯蔵する可能性もでき、また、工業原料となる化学物質を生成することにより、価値を生み出すことも期待される。
【0003】
太陽光発電などの再生可能エネルギーを用いて化学物質を生成する装置として、例えば発電所やごみ処理所から発生した二酸化炭素(CO
2
)を還元するカソードと、水(H
2
O)を酸化するアノードを具備する二酸化炭素電解装置等の電解装置(電気化学反応装置)が知られている。カソードでは、例えば二酸化炭素を還元して一酸化炭素(CO)等の炭素化合物を生成する。このような電解装置を、セル形態(電解セルともいう)により実現する場合、例えばPolymer Electric Fuel Cell(PEFC)等の燃料電池に類似する形態により実現することが有効であると考えられる。二酸化炭素をカソードの触媒層に直接供給することにより、速やかに二酸化炭素の還元反応を進行させることが可能となる。さらに、電解セルを重ねたスタック構造を形成することにより、省スペースで効率良く還元反応を進行させることが可能となる。
【先行技術文献】
【特許文献】
【0004】
米国特許出願公開第2011/0256463号明細書
米国特許第7,147,953号明細書
特開2022-42280号公報
【非特許文献】
【0005】
ACS Energy Lett. 2019, 4, 1770-1777
【発明の概要】
【発明が解決しようとする課題】
【0006】
本発明が解決しようとする課題は、電解装置の電解反応における不要な電流の消費を抑制することである。
【課題を解決するための手段】
【0007】
実施形態の電解装置は、還元対象物を還元し、酸化対象物を酸化する第1の電解セルと、還元対象物を還元し、酸化対象物を酸化する第2の電解セルと、第1の電解セルおよび第2の電解セルに還元対象物の気体を含む第1の流体を供給する、第1の供給源と、第1の電解セルおよび第2の電解セルに酸化対象物の液体を含む第2の流体を供給する、第2の供給源と、第1の電解セルに第1の電源電流を供給し、第2の電解セルに第2の電源電流を供給する、少なくとも一つの電源と、を具備する。少なくとも一つの電源は、還元対象物を還元するときに第2の電解セルを流れる電流の電流密度が還元対象物を還元するときに第1の電解セルを流れる電流の電流密度よりも高くなるように第1の電源電流の値および第2の電源電流の値を設定する。
【図面の簡単な説明】
【0008】
実施形態の電解装置の構成例を示す模式図である。
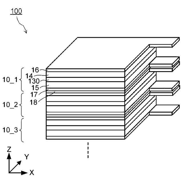
セル構造体100の構造例を示す斜視模式図である。
膜電極接合体MEAの構造例を示す模式図である。
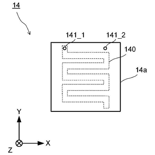
カソード流路板14の構造例を示す模式図である。
アノード流路板15の構造例を示す模式図である。
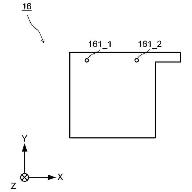
カソード集電体16の構造例を示す模式図である。
アノード集電体17の構造例を示す模式図である。
絶縁層18の構造例を示す模式図である。
セル構造体100におけるカソード流体の流れおよびアノード流体の流れを説明するための模式図である。
セル構造体100の構造例を示す斜視模式図である。
カソード流体における不純物と還元対象物が各電解セル10を直列に流れる様子を示す模式図である。
電解セル10を流れる電流密度と、セル電圧およびファラデー効率との関係を示すグラフの例を示す図である。
実施形態の電解装置の他の例を示す模式図である。
実施形態の電解装置の他の例を示す模式図である。
実施形態の電解装置の他の例を示す模式図である。
実施形態の電解装置の他の例を示す模式図である。
【発明を実施するための形態】
【0009】
以下、実施形態の電解装置について、図面を参照して説明する。以下に示す各実施形態において、実質的に同一の構成部位には同一の符号を付し、その説明を一部省略する場合がある。図面は模式的なものであり、厚さと平面寸法との関係、各部の厚さの比率等は現実のものとは異なる場合がある。
【0010】
本明細書において、「接続する」とは、特に指定する場合を除き、直接的に接続することだけでなく、間接的に接続することも含む。さらに、本明細書において、「接続する」とは、特に指定する場合を除き、物理的に接続することだけでなく、電気的に接続することも含む。
(【0011】以降は省略されています)
この特許をJ-PlatPat(特許庁公式サイト)で参照する
関連特許
株式会社東芝
センサ
29日前
株式会社東芝
センサ
29日前
株式会社東芝
モータ
24日前
株式会社東芝
電子装置
8日前
株式会社東芝
電子装置
23日前
株式会社東芝
金型構造
29日前
株式会社東芝
吸音装置
24日前
株式会社東芝
電子回路
4日前
株式会社東芝
半導体装置
26日前
株式会社東芝
半導体装置
4日前
株式会社東芝
半導体装置
1か月前
株式会社東芝
半導体装置
26日前
株式会社東芝
半導体装置
26日前
株式会社東芝
半導体装置
26日前
株式会社東芝
半導体装置
10日前
株式会社東芝
真空バルブ
9日前
株式会社東芝
半導体装置
9日前
株式会社東芝
半導体装置
8日前
株式会社東芝
半導体装置
26日前
株式会社東芝
半導体装置
8日前
株式会社東芝
半導体装置
8日前
株式会社東芝
半導体装置
26日前
株式会社東芝
半導体装置
4日前
株式会社東芝
半導体装置
10日前
株式会社東芝
半導体装置
4日前
株式会社東芝
真空バルブ
3日前
株式会社東芝
半導体装置
11日前
株式会社東芝
粒子加速器
23日前
株式会社東芝
半導体装置
1か月前
株式会社東芝
半導体装置
10日前
株式会社東芝
半導体装置
10日前
株式会社東芝
半導体装置
4日前
株式会社東芝
半導体装置
4日前
株式会社東芝
高周波回路
4日前
株式会社東芝
半導体装置
10日前
株式会社東芝
半導体装置
26日前
続きを見る
他の特許を見る