TOP
|
特許
|
意匠
|
商標
特許ウォッチ
Twitter
他の特許を見る
10個以上の画像は省略されています。
公開番号
2025031073
公報種別
公開特許公報(A)
公開日
2025-03-07
出願番号
2023137048
出願日
2023-08-25
発明の名称
記録装置
出願人
キヤノン株式会社
代理人
弁理士法人谷・阿部特許事務所
主分類
B41J
2/01 20060101AFI20250228BHJP(印刷;線画機;タイプライター;スタンプ)
要約
【課題】カートリッジの着脱操作性を向上させることができる記録装置を提供する。
【解決手段】液体を吐出する素子基板を備えたカートリッジを着脱可能に収容するための収容部と、収容部に対する前記カートリッジの挿入方向と交差する水平方向においてカートリッジの移動を規制する規制部と、を備える。
【選択図】図2
特許請求の範囲
【請求項1】
液体を吐出する素子基板を備えたカートリッジを着脱可能に収容するための収容部と、
前記収容部に対する前記カートリッジの挿入方向と交差する水平方向において前記カートリッジの移動を規制する規制部と、
を備えることを特徴とする記録装置。
続きを表示(約 940 文字)
【請求項2】
前記規制部は、前記収容部において前記挿入方向の上流側に設けられることを特徴とする請求項1に記載の記録装置。
【請求項3】
前記カートリッジを前記収容部に固定するための第1位置と、前記カートリッジを前記収容部に着脱可能とする第2位置と、の間で移動可能なカバー部を更に備えることを特徴とする請求項1に記載の記録装置。
【請求項4】
前記カバー部が前記第2位置にある状態において、前記規制部の上端部と、前記カバー部の前記挿入方向における後端部と、の鉛直方向における距離は、前記カートリッジの底面から天面までの距離よりも短いことを特徴とする請求項3に記載の記録装置。
【請求項5】
前記収容部は、前記挿入方向と交差する水平方向に並ぶ第1収容部と、第2収容部とを含み、
前記規制部の少なくとも一部は、前記第1収容部と前記第2収容部との間に設けられることを特徴とする請求項1に記載の記録装置。
【請求項6】
前記カバー部が前記第1位置にある状態において、前記規制部の前記上端部は、前記カートリッジの前記天面よりも高い位置にあることを特徴とする請求項4に記載の記録装置。
【請求項7】
前記カバー部は、前記第1位置において、前記収容部に挿入された前記カートリッジを押圧する押圧部を有することを特徴とする請求項3に記載の記録装置。
【請求項8】
前記押圧部は、前記カートリッジを付勢する付勢部材を備えることを特徴とする請求項7に記載の記録装置。
【請求項9】
前記収容部と、前記規制部と、前記カバー部とは、記録装置の内部を移動可能なキャリッジに搭載されていることを特徴とする請求項3に記載の記録装置。
【請求項10】
前記キャリッジは、前記カバー部が前記第2位置にある際に、前記収容部に収容されようとする前記カートリッジを前記挿入方向と反対の方向に付勢し、前記カバー部が前記第1位置にある際に、前記収容部が収容する前記カートリッジから離間する押出しレバーを有することを特徴とする請求項9に記載の記録装置。
(【請求項11】以降は省略されています)
発明の詳細な説明
【技術分野】
【0001】
本発明は、ヘッドカートリッジを装着する記録装置に関する。
続きを表示(約 1,400 文字)
【背景技術】
【0002】
近年の装置の小型化に伴い、カートリッジの幅をスリム化することが求められる。また、カートリッジをキャリッジに装着する際には、カートリッジにおける記録ヘッドが設けられたヘッド面をキャリッジにぶつけないように装着することが求められる。
【0003】
特許文献1の構成では、カートリッジに、キャリッジの内壁に形成された案内部に当接可能な突出部が形成されており、ユーザは、突出部をキャリッジの案内部に当接させながら、案内部に沿ってカートリッジをキャリッジに挿入する構成が開示されている。このような構成により、カートリッジのヘッド面をキャリッジにぶつけずに、記録ヘッドを破損することなくカートリッジを装着することができる。
【先行技術文献】
【特許文献】
【0004】
特開2019-034437号公報
【発明の概要】
【発明が解決しようとする課題】
【0005】
しかし、特許文献1のような突出部を有する構成において、カートリッジのスリム化には限界が生じる。一方で特許文献1のような突出部を無くしてしまうと、挿入時にカートリッジがキャリッジで適切に案内されず、カートリッジのヘッド面をキャリッジにぶつけることが懸念される。このように、従来の構成ではカートリッジのスリム化とキャリッジに対する着脱操作性を両立させることが困難な状況にあった。
【0006】
よって本発明は、カートリッジの着脱操作性を向上させることができる記録装置を提供する。
【課題を解決するための手段】
【0007】
そのため本発明の記録装置は、液体を吐出する素子基板を備えたカートリッジを着脱可能に収容するための収容部と、前記収容部に対する前記カートリッジの挿入方向と交差する水平方向において前記カートリッジの移動を規制する規制部と、を備えることを特徴とする。
【発明の効果】
【0008】
本発明によれば、カートリッジの着脱操作性を向上させることができる記録装置を提供することができる。
【図面の簡単な説明】
【0009】
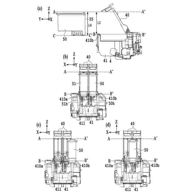
記録装置を示す斜視図である。
ヘッドカートリッジおよびキャリッジを示した斜視図である。
開姿勢での挿入直前のヘッドカートリッジとキャリッジを示した図である。
閉姿勢でのヘッドカートリッジの挿入後のキャリッジを示した図である。
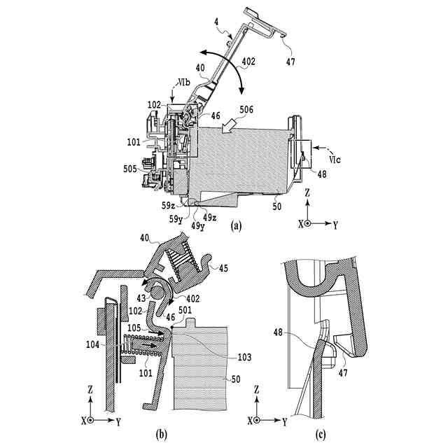
カバーが閉じられヘッドカートリッジが固定されたキャリッジの断面図である。
カバーが開かれヘッドカートリッジが固定されたキャリッジの断面図である。
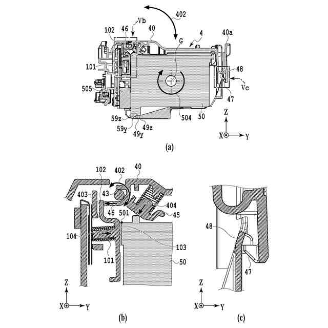
押出しばねおよび押出しレバーを示した斜視図である。
キャリッジを示した断面図である。
押出しレバーを示した拡大図である。
前カバーおよび操作パネルが取り付けられた記録装置の斜視図である。
カバーを示した図である。
カートリッジが装着されていないキャリッジと基板とを示した図である。
【発明を実施するための形態】
【0010】
(第1の実施形態)
以下、図面を参照して本発明の第1の実施形態について説明する。
(【0011】以降は省略されています)
この特許をJ-PlatPat(特許庁公式サイト)で参照する
関連特許
キヤノン株式会社
容器
1日前
キヤノン株式会社
トナー
4日前
キヤノン株式会社
トナー
17日前
キヤノン株式会社
トナー
17日前
キヤノン株式会社
トナー
17日前
キヤノン株式会社
撮像装置
1日前
キヤノン株式会社
撮像装置
1日前
キヤノン株式会社
記録装置
15日前
キヤノン株式会社
現像装置
15日前
キヤノン株式会社
撮影装置
15日前
キヤノン株式会社
現像容器
15日前
キヤノン株式会社
記録装置
1日前
キヤノン株式会社
定着装置
16日前
キヤノン株式会社
現像装置
8日前
キヤノン株式会社
現像装置
15日前
キヤノン株式会社
現像容器
15日前
キヤノン株式会社
撮像装置
1日前
キヤノン株式会社
測距装置
10日前
キヤノン株式会社
電子写真装置
2日前
キヤノン株式会社
画像形成装置
4日前
キヤノン株式会社
画像形成装置
15日前
キヤノン株式会社
画像形成装置
15日前
キヤノン株式会社
情報処理装置
15日前
キヤノン株式会社
カートリッジ
15日前
キヤノン株式会社
画像形成装置
15日前
キヤノン株式会社
画像形成装置
15日前
キヤノン株式会社
画像処理装置
15日前
キヤノン株式会社
画像形成装置
16日前
キヤノン株式会社
印刷システム
3日前
キヤノン株式会社
画像形成装置
2日前
キヤノン株式会社
電子写真装置
8日前
キヤノン株式会社
画像形成装置
1日前
キヤノン株式会社
画像形成装置
4日前
キヤノン株式会社
画像形成装置
8日前
キヤノン株式会社
画像形成装置
16日前
キヤノン株式会社
画像形成装置
8日前
続きを見る
他の特許を見る